LEMON Manuals: Even more car manuals for everyone: 1960-2025
Home >> Lexus >> 2007 >> GS 450h >> Repair and Diagnosis >> Brakes >> Traction Control >> Brake Control >> Electronically Controlled Brake System >> System Diagram
April 5, 2026: LEMON Manuals is launched! Read the announcement.

System Diagram

Fig 1: Electronically Controlled Brake System Diagram (1 Of 4)
G05305882Courtesy of © TOYOTA, LICENSE AGREEMENT TMS1002
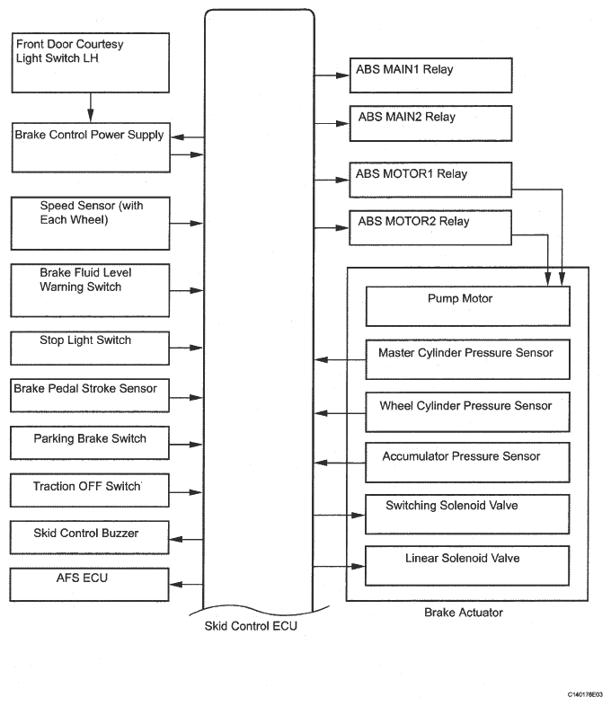
Fig 2: Electronically Controlled Brake System Diagram (2 Of 4)
G05305883Courtesy of © TOYOTA, LICENSE AGREEMENT TMS1002
Fig 3: Electronically Controlled Brake System Diagram (3 Of 4)
G05296991Courtesy of © TOYOTA, LICENSE AGREEMENT TMS1002
Fig 4: Electronically Controlled Brake System Diagram (4 Of 4)
G05296992Courtesy of © TOYOTA, LICENSE AGREEMENT TMS1002
REFERENCE DATA

Transmitting ECU (Transmitter) Receiving ECU Signals Communication Method
HV control ECU Skid control ECU
  • Shift position signal
  • HA - CTRL prohibit request signal
  • Accelerator pedal position signal
CAN communication system
Skid control ECU Yaw rate and acceleration sensor Yaw rate and acceleration request signal CAN communication system
Skid control ECU Steering angle sensor Steering angle sensor request signal CAN communication system
Skid control ECU HV control ECU
  • Wheel speed signal
  • VSC data signal
CAN communication system
Skid control ECU Gateway ECU
  • ABS warning light ON signal
  • BRAKE warning light ON signal
  • Brake control warning light ON signal
  • SLIP indicator light ON signal
  • Pre crash brake OFF switch signal
CAN communication system
Skid control ECU Power steering (EPS) ECU Target additional torque signal CAN communication system
Power steering (EPS) ECU Skid control ECU EPS cooperative control enabling signal CAN communication system
Skid control ECU Steering control (VGRS) ECU Target relative angle signal CAN communication system
Steering control (VGRS) ECU Skid control ECU
  • VGRS cooperative control enabling signal
  • VGRS relative angle (speed) signal
  • Active stabilizer control system data signal*
CAN communication system
Distance control ECU Skid control ECU Brake control request signal CAN communication system
HINT:
*: w/ Active stabilizer