LEMON Manuals: Even more car manuals for everyone: 1960-2025
Home >> Lexus >> 2007 >> GX 470 >> Repair and Diagnosis >> Brakes >> Traction Control >> Brake Control >> Vehicle Stability Control System >> Skid Control Buzzer Circuit >> Inspection Procedure
April 5, 2026: LEMON Manuals is launched! Read the announcement.

Inspection Procedure

NOTE: When replacing the master cylinder solenoid, perform zero point calibration (See CALIBRATION  ).
  1. PERFORM ACTIVE TEST BY INTELLIGENT TESTER (SKID CONTROL BUZZER) 
    1. Connect the intelligent tester to the DLC3.
    2. Turn the ignition switch to the ON position and push the intelligent tester main switch ON.
    3. Select "ACTIVE TEST" mode on the intelligent tester.
      ACTIVE TEST

      Tester Display Test Part Control Range Diagnostic note
      VSC / BR WARN BUZ Turns skid control buzzer Buzzer ON / OFF Buzzer can be heard
    4. Check that the buzzer sounds/stops when turning the skid control buzzer on/off by using the intelligent tester.

    Result 

    RESULT TABLE

    Condition Proceed to
    Buzzer sounds/stops A
    Buzzer does not sound or sounds constantly B

    A: END 

    B: Go to Next Step 

  2. INSPECT SKID CONTROL BUZZER (POWER SOURCE TERMINAL) 
    Fig 1: Identifying Skid Control Buzzer Connector V3
    G05262800Courtesy of © TOYOTA, LICENSE AGREEMENT TMS1002
    1. Disconnect the skid control buzzer connector.
    2. Turn the ignition switch to the ON position.
    3. Measure the voltage according to the value(s) in the table below.

      Standard voltage 

      TESTER CONNECTION SPECIFIED CONDITION TABLE

      Tester Connection Condition Specified Condition
      V3-2 - Body ground Ignition switch ON 10 to 14 V

    NG: REPAIR OR REPLACE HARNESS OR CONNECTOR (POWER SOURCE CIRCUIT) 

    OK: Go to Next Step 

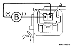
  3. INSPECT SKID CONTROL BUZZER 
    Fig 2: Identifying Skid Control Buzzer
    G04965553Courtesy of © TOYOTA, LICENSE AGREEMENT TMS1002
    1. Apply battery negative voltage to terminal 1, and battery positive voltage to terminal 2 of the skid control buzzer, and then check that the buzzer sounds.

      OK: Skid control buzzer sounds. 

    NG: REPLACE SKID CONTROL BUZZER 

    OK: Go to Next Step 

  4. CHECK HARNESS AND CONNECTOR (SKID CONTROL BUZZER - SKID CONTROL ECU) 
    Fig 3: Identifying Skid Control ECU Connector S37
    G05262802Courtesy of © TOYOTA, LICENSE AGREEMENT TMS1002
    1. Disconnect the skid control ECU connector.
    2. Measure the resistance according to the value(s) in the table below.

      Standard resistance 

      TESTER CONNECTION SPECIFIED CONDITION TABLE

      Tester Connection Specified Condition
      S37-30 (B2) - V3-1 Below 1 Ω
      S37-30 (BZ) - Body ground 10 kΩ or higher

    NG: REPAIR OR REPLACE HARNESS OR CONNECTOR (BZ CIRCUIT) 

    OK: REPLACE MASTER CYLINDER SOLENOID