LEMON Manuals: Even more car manuals for everyone: 1960-2025
Home >> Lexus >> 2007 >> GX 470 >> Repair and Diagnosis >> Brakes >> Traction Control >> Brake Control >> Vehicle Stability Control System >> TC and CG Terminal Circuit >> Inspection Procedure
April 5, 2026: LEMON Manuals is launched! Read the announcement.

Inspection Procedure

NOTE: When replacing the master cylinder solenoid, perform zero point calibration (See CALIBRATION  ).
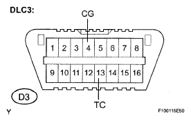
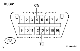
  1. INSPECT DLC3 (DLC3 (TC) - DLC3 (CG)) 
    1. Turn the ignition switch to the ON position.
    2. Measure the voltage according to the value(s) in the table below.

      Standard voltage 

      TESTER CONNECTION SPECIFIED CONDITION TABLE

      Tester Connection Condition Specified Condition
      D3-13 (TC) - D3-4 (CG) Ignition switch ON 10 to 14 V
      Fig 1: Identifying DLC3 Connector Terminal CG & TC
      G05262804Courtesy of © TOYOTA, LICENSE AGREEMENT TMS1002

    NG:  Go to step  3

    OK: Go to Next Step 

  2. CHECK DTC (FOR CAN COMMUNICATION SYSTEM) 
    1. Check for CAN communication system DTC (See DIAGNOSIS SYSTEM ).

    Result 

    RESULT TABLE

    Condition Proceed to
    DTC is not output A
    DTC is output B

    B: REPAIR CAN COMMUNICATION SYSTEM 

    A: REPLACE MASTER CYLINDER SOLENOID 

  3. CHECK HARNESS AND CONNECTOR (ECM - DLC3 (TC)) 
    Fig 2: Identifying ECM Connector & DLC3 Connector Terminal
    G05262805Courtesy of © TOYOTA, LICENSE AGREEMENT TMS1002
    1. Turn the ignition switch off.
    2. Disconnect the ECM connector.
    3. Measure the resistance according to the value(s) in the table below.

      Standard resistance 

      TESTER CONNECTION SPECIFIED CONDITION TABLE

      Tester Connection Specified Condition
      E9-23 (TC) - D3-13 (TC) Below 1 Ω

    NG: REPAIR OR REPLACE HARNESS OR CONNECTOR (TC CIRCUIT) 

    OK: Go to Next Step 

  4. CHECK HARNESS AND CONNECTOR (DLC3 (CG) - BODY GROUND) 
    Fig 3: Identifying DLC3 Connector Terminal CG
    G05262806Courtesy of © TOYOTA, LICENSE AGREEMENT TMS1002
    1. Measure the resistance according to the value(s) in the table below.

      Standard resistance 

      TESTER CONNECTION SPECIFIED CONDITION TABLE

      Tester Connection Specified Condition
      D3-4 (CG) - Body ground Below 1 Ω

    NG: REPAIR OR REPLACE HARNESS OR CONNECTOR (CG CIRCUIT) 

    OK: Go to Next Step 

  5. CHECK ECM (DLC3 (TC) INPUT) 
    1. Using SST, connect terminals TC and CG of the DLC3.
    2. Check that the engine warning light is blinking.
    Fig 4: Identifying DLC3 Connector Terminal CG & TC
    G05262807Courtesy of © TOYOTA, LICENSE AGREEMENT TMS1002

    Result 

    RESULT TABLE

    Condition Proceed to
    Engine warning light is blinking A
    Engine warning light is not blinking B

    B: REPAIR OR REPLACE WIRE HARNESS OR ECM (TC AND/OR ECM CIRCUIT) 

    A: Go to Next Step 

  6. CHECK DTC (FOR CAN COMMUNICATION SYSTEM) 
    1. Check for CAN communication system DTC (See DIAGNOSIS SYSTEM ).

    Result 

    RESULT TABLE

    Condition Proceed to
    DTC is not output A
    DTC is output B

    B: REPAIR CAN COMMUNICATION SYSTEM 

    A: REPLACE MASTER CYLINDER SOLENOID