LEMON Manuals: Even more car manuals for everyone: 1960-2025
Home >> Lexus >> 2007 >> IS 250 AWD >> Repair and Diagnosis >> Accessories & Equipment >> Entertainment Systems >> Audio / Visual >> Audio And Visual System >> Gateway ECU Power Source Circuit >> Wiring Diagram
April 5, 2026: LEMON Manuals is launched! Read the announcement.

Gateway ECU Power Source Circuit: Wiring Diagram

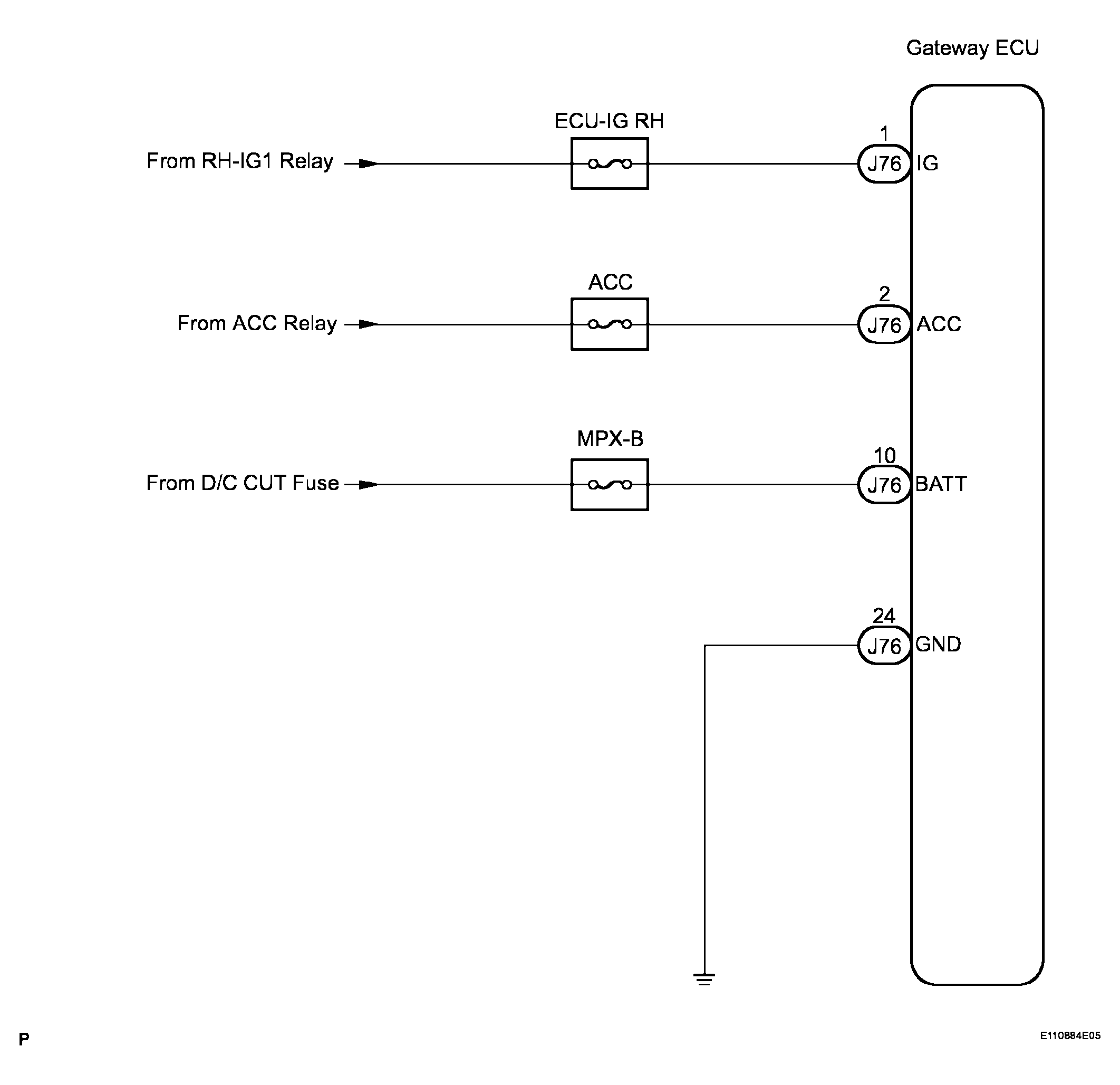
Fig 1: Gateway ECU Power Source - Wiring Diagram
G04050177Courtesy of © TOYOTA, LICENSE AGREEMENT TMS1002
  1. INSPECT GATEWAY ECU 
    1. Disconnect the gateway ECU connector J76.
    2. Measure the resistance according to the value(s) in the table below.

      Standard resistance 

      TESTER CONNECTION AND SPECIFIED CONDITION CHART

      Tester connection Condition Specified condition
      GND - Body ground Always Below 1 Ω
    3. Measure the voltage according to the value(s) in the table below.

      Standard voltage 

      TESTER CONNECTION AND SPECIFIED CONDITION CHART

      Tester connection Condition Specified condition
      BATT - GND Always 10 to 14 V
      ACC - GND Engine switch on (ACC) 10 to 14 V
      IG - GND Engine switch on (IG) 10 to 14 V
    Fig 2: Identifying Gateway ECU Connector J76
    G04050178Courtesy of © TOYOTA, LICENSE AGREEMENT TMS1002

    NG: REPAIR OR REPLACE HARNESS OR CONNECTOR 

    OK: PROCEED TO NEXT CIRCUIT INSPECTION SHOWN IN PROBLEM SYMPTOMS TABLE