LEMON Manuals: Even more car manuals for everyone: 1960-2025
Home >> Lexus >> 2007 >> IS 250 AWD >> Repair and Diagnosis >> Accessories & Equipment >> Infotainment >> Navigation >> Navigation System >> Steering Pad Switch Circuit >> Wiring Diagram
April 5, 2026: LEMON Manuals is launched! Read the announcement.

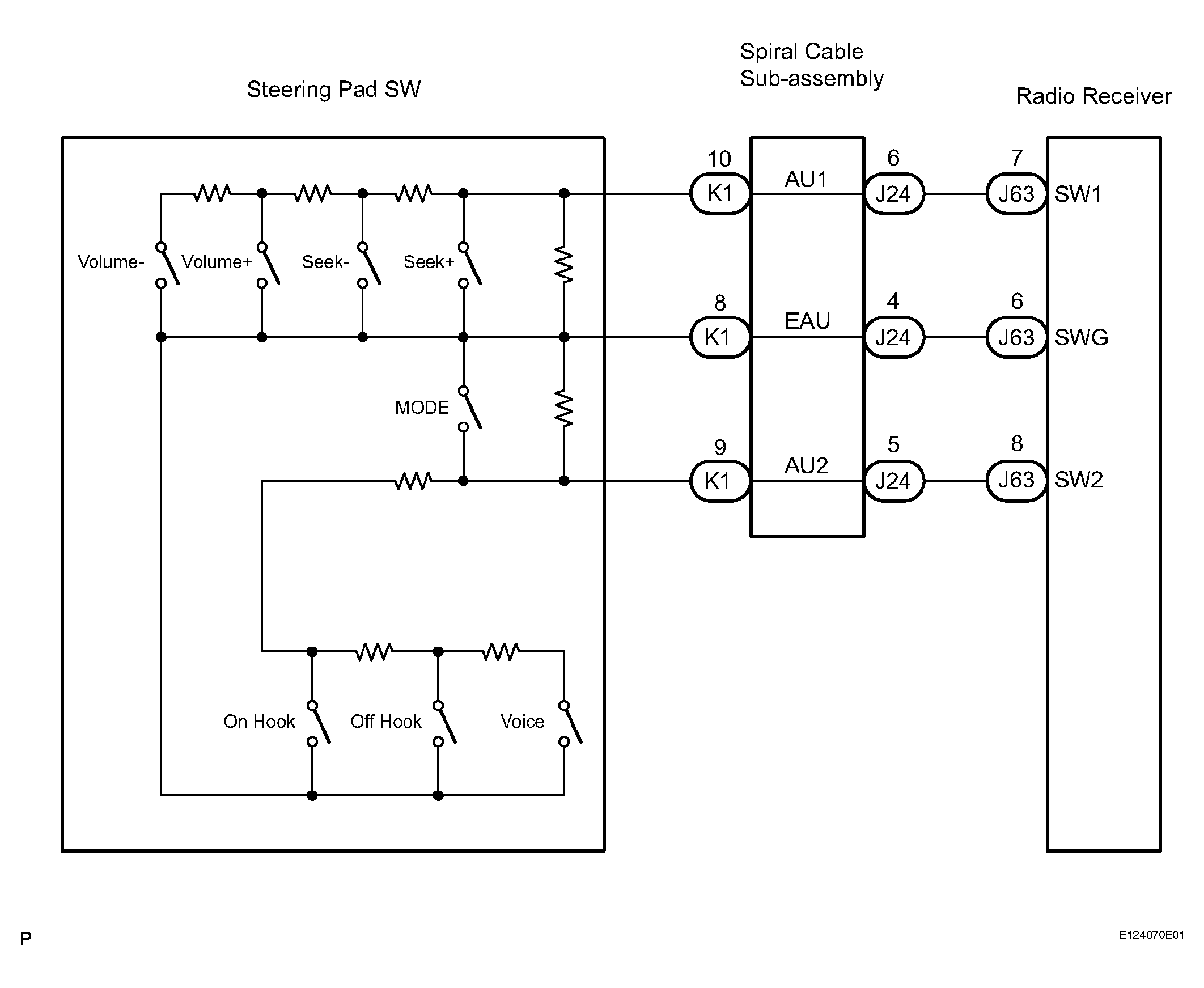
Steering Pad Switch Circuit: Wiring Diagram

Fig 1: Steering Pad Switch Circuit - Wiring Diagram
G04050464Courtesy of © TOYOTA, LICENSE AGREEMENT TMS1002
NOTE: The vehicle is equipped with an SRS (Supplemental Restraint System) which includes components such as airbags. Before servicing (including removal or installation of parts), be sure to read the precautionary notice for the Supplemental Restraint System (See AIRBAG SYSTEM ).
  1. INSPECT RADIO RECEIVER 
    1. Disconnect the radio receiver connector J63.
    2. Measure the resistance according to the value(s) in the table below.
      STANDARD RESISTANCE

      Tester connection Condition Specified condition
      SW1 - SWG No switch is pushed Approx. 100 kΩ
      SW1 - SWG SEEK+ switch: push Approx. 0 Ω
      SW1 - SWG SEEK- switch: push Approx. 0.3 kΩ
      SW1 - SWG VOL+ switch: push Approx. 1 kΩ
      SW1 - SWG VOL-switch: push Approx. 3.2 kΩ
      SW2 - SWG No switch is pushed Approx. 100 kΩ
      SW2 - SWG MODE switch: push Approx. 0 Ω
      SW2 - SWG VOICE switch: push Approx. 3.2 kΩ
      SW2 - SWG ON HOOK switch: push Approx. 0.3 kΩ
      SW2 - SWG OFF HOOK switch: push Approx. 1 kΩ
    Fig 2: Identifying Radio Receiver Connector J63
    G04050465Courtesy of © TOYOTA, LICENSE AGREEMENT TMS1002

    NG: GO TO STEP 2 

    OK: PROCEED TO NEXT CIRCUIT INSPECTION SHOWN IN PROBLEM SYMPTOMS TABLE 

  2. INSPECT STEERING PAD SWITCH ASSEMBLY 
    1. Disconnect the steering pad switch assembly connector K1.
      Fig 3: Identifying Steering Pad Switch Assembly Connector K1
      G04050466Courtesy of © TOYOTA, LICENSE AGREEMENT TMS1002
    2. Measure the resistance according to the value(s) in the table below.
    STANDARD RESISTANCE

    Tester connection Condition Specified condition
    AU1 - EAU No switch is pushed Approx. 100 kΩ
    AU1 - EAU SEEK+ switch: push Approx. 0 Ω
    AU1 - EAU SEEK- switch: push Approx. 0.3 kΩ
    AU1 - EAU VOL+ switch: push Approx. 1 kΩ
    AU1 - EAU VOL- switch: push Approx. 3.2 kΩ
    AU2 - EAU No switch is pushed Approx. 100 kΩ
    AU2 - EAU MODE switch: push Approx. 0 Ω
    AU2 - EAU VOICE switch: push Approx. 3.2 kΩ
    AU2 - EAU ON HOOK switch: push Approx. 0.3 kΩ
    AU2 - EAU OFF HOOK switch: push Approx. 1 kΩ

    NG: REPLACE STEERING PAD SWITCH ASSEMBLY 

    OK: Go to next step. 

  3. INSPECT SPIRAL CABLE 
    1. Disconnect the steering pad switch assembly and spiral cable connectors.
    2. Measure the resistance according to the value(s) in the table below.
      STANDARD RESISTANCE

      Tester connection Spiral Cable Position Specified condition
      EAU - EAU Center Below 1 Ω
      2.5 rotations to the left
      2.5 rotations to the right
      AU1 -AU1 Center Below 1 Ω
      2.5 rotations to the left
      2.5 rotations to the right
      AU2-AU2 Center Below 1 Ω
      2.5 rotations to the left
      2.5 rotations to the right
    NOTE: The spiral cable is an important part of the SRS airbag system. Incorrect removal or installation of the spiral cable may prevent the airbag from deploying. Be sure to read the example shown in the brackets (See REMOVAL ).
    Fig 4: Identifying Terminals Of Steering Pad Switch Assembly And Spiral Cable Connectors
    G04050467Courtesy of © TOYOTA, LICENSE AGREEMENT TMS1002

    NG: REPLACE SPIRAL CABLE 

    OK: REPAIR OR REPLACE HARNESS OR CONNECTOR (SPIRAL CABLE - RADIO RECEIVER)