LEMON Manuals: Even more car manuals for everyone: 1960-2025
Home >> Lexus >> 2007 >> IS 250 AWD >> Repair and Diagnosis >> Engine Mechanical >> Starter >> Starting (4GR-FSE) >> Smart Access System With Push-Button Start >> Engine Switch Indicator Circuit >> Wiring Diagram
April 5, 2026: LEMON Manuals is launched! Read the announcement.

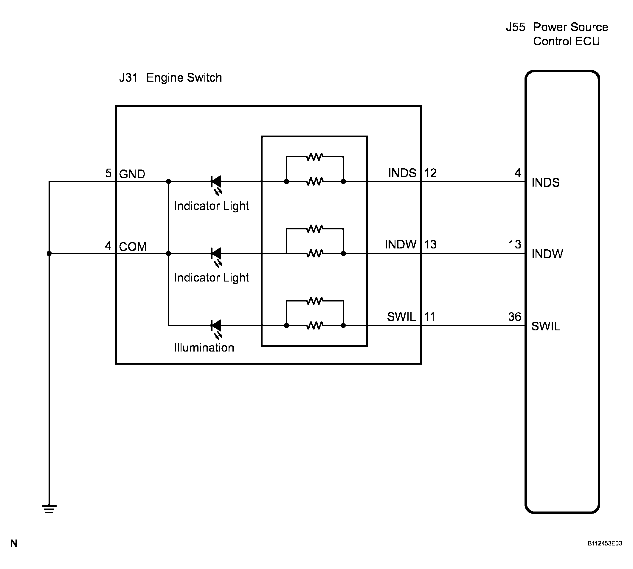
Engine Switch Indicator Circuit: Wiring Diagram

Fig 1: Identifying Engine Switch Indicator Circuit Wiring Diagram
G04044977Courtesy of © TOYOTA, LICENSE AGREEMENT TMS1002