LEMON Manuals: Even more car manuals for everyone: 1960-2025
Home >> Lexus >> 2007 >> IS 250 AWD >> Repair and Diagnosis >> Engine Performance >> System >> Engine Control System (4GR-FSE) - System And Circuit Testing, On-Vehicle Inspection, Removal, Inspection & Installation >> Cranking Holding Function Circuit >> Inspection Procedure
April 5, 2026: LEMON Manuals is launched! Read the announcement.

Inspection Procedure

  1. CHECK CRANKING 
    1. When starting the engine, check whether the starter motor starts.

    OK: CHECK FOR INTERMITTENT PROBLEMS 

    NG: Go to next step 

  2. READ VALUE OF INTELLIGENT TESTER (STA SIGNAL) 
    1. Connect the intelligent tester to the DLC3.
    2. Turn the engine switch on (IG) and turn the tester on.
    3. Enter the following menus: DIAGNOSIS / ENHANCED OBD II / ACTIVE TEST / STARTER SIG.
    4. Check the result when the engine switch is turned on (IG) and the engine is started.

      Standard 

      ENGINE SWITCH POSITION

      Engine Switch Position ON (IG) ENGINE START
      STARTER SIG OFF ON

    OK: Go to step  6

    NG: Go to next step 

  3. INSPECT ECM (STAR AND STSW VOLTAGE) 
    1. Measure the voltage according to the value (s) in the table below while cranking the engine.

      Standard voltage 

      VOLTAGE SPECIFICATION

      Tester Connection Specified Condition
      STAR (E4-4) - E1 (E4-7) 9 to 14 V
      STSW (A5-19) - E1 (E4-7) 9 to 14 V

      Result 

      VOLTAGE SPECIFICATION

      Terminal STAR Terminal STSW Proceed to
      9 to 14 V 9 to 14 V A
      0 V 9 to 14 V B
      0 V 0 V C
      Fig 1: Identifying ECM Connector Terminals
      G05316615Courtesy of © TOYOTA, LICENSE AGREEMENT TMS1002

    B: REPLACE ECM 

    C: Go to step  10

    A: Go to next step 

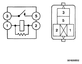
  4. INSPECT ST CUT RELAY 
    1. Remove the ST CUT relay from the engine room J/B and R/B No. 2.
    2. Measure the resistance according to the value (s) in the table below.

      Standard resistance 

      RESISTANCE SPECIFICATION

      Tester Connection Specified Condition
      3 - 5 10 kΩ or higher
      3 - 5 Below 1 Ω (when battery voltage applied to terminals 1 and 2)
      Fig 2: Identifying ST CUT Relay Connector Terminals
      G05316616Courtesy of © TOYOTA, LICENSE AGREEMENT TMS1002

    NG: REPLACE ST CUT RELAY 

    OK: Go to next step 

  5. INSPECT PARK/NEUTRAL POSITION SWITCH ASSEMBLY (A/T) OR CLUTCH START SWITCH ASSEMBLY (M/T) 
    1. Disconnect the park/neutral position (PNP) switch (A/T) or clutch start switch (M/T) connector.
    2. Measure the resistance according to the value (s) in the table below.

      Standard resistance (A/T) 

      RESISTANCE SPECIFICATION

      Shift Position Tester Connection Specified Condition
      P 4 - 5 Below 1 Ω
      N 4 - 5 Below 1 Ω

      Standard resistance (M/T) 

      RESISTANCE SPECIFICATION

      Clutch Pedal Operation Tester Connection Specified Condition
      Depressed 1 - 2 Below 1 Ω
      Fig 3: Identifying PNP Switch (A/T) And Clutch Start Switch (M/T) Connector Terminals
      G05316617Courtesy of © TOYOTA, LICENSE AGREEMENT TMS1002

    NG: REPLACE PARK/NEUTRAL POSITION SWITCH (A/T) OR CLUTCH START SWITCH (M/T) 

    OK: CHECK AND REPAIR HARNESS AND CONNECTOR ( (PARK/NEUTRAL POSITION SWITCH - ECM, ECM - ST CUT RELAY, ST) 

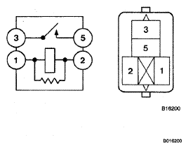
  6. INSPECT STARTER RELAY 
    1. Remove the starter relay from the engine room J/B and R/B No. 1.
    2. Measure the resistance according to the value (s) in the table below.

      Standard resistance 

      RESISTANCE SPECIFICATION

      Tester Connection Specified Condition
      3 - 5 10 kΩ or higher
      3 - 5 Below 1 Ω (when battery voltage applied to terminals 1 and 2)
      Fig 4: Identifying Starter Relay Connector Terminals
      G05316618Courtesy of © TOYOTA, LICENSE AGREEMENT TMS1002

    NG: REPLACE STARTER RELAY 

    OK: Go to next step 

  7. CHECK HARNESS AND CONNECTOR (PNP SWITCH (A/T) OR CLUTCH START SWITCH (M/T) - ST RELAY) 
    1. Check the harness and the connectors between the park/neutral position switch and the starter relay.
      1. Disconnect the E45*1, A24*2 switch connector.

        *1:A/T

        *2:M/T

      2. Remove the starter relay from the engine room J/B and R/B No. 1.
      3. Measure the resistance according to the value (s) in the table below.

        Standard resistance (A/T) (Check for open) 

        RESISTANCE SPECIFICATION

        Tester Connection Specified Condition
        Park/Neutral position switch (E45-5) - Starter relay (1) Below 1 Ω

        Standard resistance (M/T) (Check for open) 

        RESISTANCE SPECIFICATION

        Tester Connection Specified Condition
        Clutch start switch (A24-2) - Starter relay (1) Below 1 Ω

        Standard resistance (A/T) (Check for short) 

        RESISTANCE SPECIFICATION

        Tester Connection Specified Condition
        Park/Neutral position switch (E45-5) or Starter relay (1) - Body ground 10 kΩ or higher

        Standard resistance (M/T) (Check for short) 

        RESISTANCE SPECIFICATION

        Tester Connection Specified Condition
        Clutch start switch (A24-2) or Starter relay (1) - Body ground 10 kΩ or higher
    2. Check the harness and the connector between the starter relay and the body ground.
      1. Remove the starter relay from the engine room J/B and R/B No. 1.
      2. Measure the resistance according to the value (s) in the table below.

        Standard resistance (Check for open) 

        RESISTANCE SPECIFICATION

        Tester Connection Specified Condition
        Starter relay (2) - Body ground Below 1 Ω
        Fig 5: Identifying PNP Switch (A/T) And Clutch Start Switch (M/T) Connector Terminals
        G05316619Courtesy of © TOYOTA, LICENSE AGREEMENT TMS1002

    NG: REPAIR OR REPLACE HARNESS OR CONNECTOR 

    OK: Go to next step 

  8. INSPECT ENGINE ROOM RELAY BLOCK (STARTER RELAY VOLTAGE) 
    1. Remove the starter relay from the engine room J/B and R/B No. 1.
    2. Measure the voltage according to the value (s) in the table below.

      Standard voltage 

      VOLTAGE SPECIFICATION

      Tester Connection Specified Condition
      Starter relay (5) - Body ground 9 to 14 V
      Fig 6: Identifying Starter Relay Connector Terminals
      G05316186Courtesy of © TOYOTA, LICENSE AGREEMENT TMS1002

    NG: REPAIR OR REPLACE HARNESS OR CONNECTOR 

    OK: Go to next step 

  9. INSPECT STARTER ASSEMBLY 

    NG: REPAIR OR REPLACE STARTER ASSEMBLY 

    OK: REPAIR OR REPLACE HARNESS OR CONNECTOR (STARTER RELAY - STARTER, STARTER - BATTERY) 

  10. CHECK HARNESS AND CONNECTOR (POWER SOURCE CONTROL ECU - ECM) 
    1. Check the harness and the connectors between the power source control ECU and ECM.
      1. Disconnect the power source control ECU connector.
      2. Disconnect the A5 ECM connector.
      3. Measure the resistance according to the value (s) in the table below.

        Standard resistance (Check for open) 

        RESISTANCE SPECIFICATION

        Tester Connection Specified Condition
        J55-39 (STSW) - A5-19 (STSW) Below 1 Ω

        Standard resistance (Check for short) 

        RESISTANCE SPECIFICATION

        Tester Connection Specified Condition
        J55-39 (STSW) or A5-19 (STSW) - Body ground 10 kΩ or higher
        Fig 7: Identifying Power Source Control ECU Connector Terminals
        G05316187Courtesy of © TOYOTA, LICENSE AGREEMENT TMS1002

    NG: REPAIR OR REPLACE HARNESS OR CONNECTOR 

    OK: GO TO  SMART ACCESS SYSTEM WITH PUSH-BUTTON START