LEMON Manuals: Even more car manuals for everyone: 1960-2025
Home >> Lexus >> 2007 >> IS 250 AWD >> Repair and Diagnosis >> Engine Performance >> System >> Engine Control System (4GR-FSE) - System And Circuit Testing, On-Vehicle Inspection, Removal, Inspection & Installation >> ECM Power Source Circuit >> Inspection Procedure
April 5, 2026: LEMON Manuals is launched! Read the announcement.

Inspection Procedure

  1. INSPECT ECM (+B, +B1 VOLTAGE) 
    1. Turn the engine switch on (IG).
    2. Measure the voltage according to the value (s) in the table below.

      Standard voltage 

      VOLTAGE SPECIFICATION

      Tester Connection Specified Condition
      +B (A5-6) - E1 (E4-7) 9 to 14 V
      +B1 (A5-5) - E1 (E4-7) 9 to 14 V
      Fig 1: Identifying ECM Connector Terminals
      G05316593Courtesy of © TOYOTA, LICENSE AGREEMENT TMS1002

    OK: PROCEED TO NEXT CIRCUIT INSPECTION SHOWN IN PROBLEM SYMPTOMS TABLE 

    NG: Go to next step 

  2. CHECK HARNESS AND CONNECTOR (ECM - BODY GROUND) 
    1. Disconnect the E4 ECM connector.
    2. Measure the resistance according to the value (s) in the table below.

      Standard resistance (Check for open) 

      RESISTANCE SPECIFICATION

      Tester Connection Specified Condition
      E1 (E4-7) - Body ground Below 1 Ω
      Fig 2: Identifying E4 ECM Connector
      G05316594Courtesy of © TOYOTA, LICENSE AGREEMENT TMS1002
    3. Reconnect the ECM connector.

    NG: REPAIR OR REPLACE HARNESS OR CONNECTOR 

    OK: Go to next step 

  3. INSPECT ECM (IGSW VOLTAGE) 
    1. Turn the engine switch on (IG).
    2. Measure the voltage according to the value (s) in the table below.

      Standard voltage 

      VOLTAGE SPECIFICATION

      Tester Connection Specified Condition
      IGSW (A5-17) - E1 (E4-7) 9 to 14V
      Fig 3: Identifying ECM Connector Terminals
      G05316595Courtesy of © TOYOTA, LICENSE AGREEMENT TMS1002

    OK: Go to step  6

    NG: Go to next step 

  4. CHECK FUSE (IGN FUSE) 
    1. Remove the IGN fuse from the cowl side junction block RH.
    2. Measure the resistance of the IGN fuse.

      Standard resistance: 

      Below 1 Ω 

    3. Reinstall the IGN fuse.

    NG: REPLACE FUSE 

    Fig 4: Identifying IGN Fuse
    G05316596Courtesy of © TOYOTA, LICENSE AGREEMENT TMS1002

    OK: Go to next step 

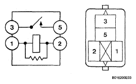
  5. INSPECT IGNITION RELAY NO. 2 
    1. Remove the IG2 relay from the engine room J/B and R/B No. 2.
    2. Measure the resistance according to the value (s) in the table below.

      Standard resistance 

      RESISTANCE SPECIFICATION

      Tester Connection Specified Condition
      3 - 5 10 kΩ or higher
      3 - 5 Below 1 Ω (when battery voltage applied to terminals 1 and 2)
      Fig 5: Identifying IG2 Relay Connector Terminals
      G05316597Courtesy of © TOYOTA, LICENSE AGREEMENT TMS1002

    NG: REPLACE IGNITION RELAY NO. 2 

    OK: CHECK AND REPLACE SMART ACCESS SYSTEM WITH PUSH-BUTTON START 

  6. INSPECT ECM (MREL VOLTAGE) 
    1. Turn the engine switch on (IG).
    2. Measure the voltage according to the value (s) in the table below.

      Standard voltage 

      VOLTAGE SPECIFICATION

      Tester Connection Specified Condition
      MREL (A5-13) - E1 (E4-7) 9 to 14 V
      Fig 6: Identifying ECM Connector Terminals
      G05316598Courtesy of © TOYOTA, LICENSE AGREEMENT TMS1002

    NG: REPLACE ECM 

    OK: Go to next step 

  7. CHECK FUSE (EFI FUSE) 
    1. Remove the EFI fuse from the engine room J/B and R/B No. 2.
    2. Measure the resistance of the EFI fuse.

      Standard resistance: 

      Below 1 Ω 

    3. Reinstall the EFI fuse.

    NG: REPLACE FUSE 

    Fig 7: Identifying EFI Fuse
    G05316599Courtesy of © TOYOTA, LICENSE AGREEMENT TMS1002

    OK: Go to next step 

  8. INSPECT INTEGRATION RELAY (EFI MAIN RELAY) 
    1. Remove the integration relay from the engine room J/B and R/B No. 2.
    2. Measure the resistance according to the value (s) in the table below.

      Standard resistance 

      RESISTANCE SPECIFICATION

      Tester Connection Specified Condition
      2C-1-2A-8 10 kΩ of higher
      Below 1 Ω (when battery voltage applied to terminals 2A-6 and 2A-7)
      Fig 8: Identifying Integration Relay Connector Terminals
      G05316600Courtesy of © TOYOTA, LICENSE AGREEMENT TMS1002

    NG: REPLACE INTEGRATION RELAY 

    OK: Go to next step 

  9. CHECK HARNESS AND CONNECTOR (INTEGRATION RELAY- ECM, INTEGRATION RELAY - BODY GROUND) 
    1. Check the harness and the connectors between the integration relay and the ECM.
      1. Remove the integration relay from the engine room J/B and R/B No. 2.
      2. Disconnect the A5 ECM connector.
      3. Measure the resistance according to the value (s) in the table below.

        Standard resistance (Check for open) 

        RESISTANCE SPECIFICATION

        Tester Connection Specified Condition
        2A-6 - MREL (A5-13) Below 1 Ω

        Standard resistance (Check for short) 

        RESISTANCE SPECIFICATION

        Tester Connection Specified Condition
        2A-6 or MREL (A5-13) - Body ground 10 kΩ or higher
    2. Check the harness and the connectors between the integration relay and body ground.
      1. Remove the integration relay from the engine room J/B and R/B No. 2.
      2. Measure the resistance according to the value (s) in the table below.

        Standard resistance (Check for open) 

        RESISTANCE SPECIFICATION

        Tester Connection Specified condition
        2A-7 - Body ground Below 1 Ω
        Fig 9: Identifying A5 ECM Connector
        G05316601Courtesy of © TOYOTA, LICENSE AGREEMENT TMS1002

    NG: REPAIR OR REPLACE HARNESS OR CONNECTOR 

    OK: CHECK AND REPAIR HARNESS AND CONNECTOR (TERMINAL +B OF ECM - BATTERY POSITIVE TERMINAL)