LEMON Manuals: Even more car manuals for everyone: 1960-2025
Home >> Lexus >> 2007 >> IS 250 AWD >> Repair and Diagnosis >> Engine Performance >> Tune-Up >> Ignition (4GR-FSE) >> Ignition System >> System Diagram
April 5, 2026: LEMON Manuals is launched! Read the announcement.

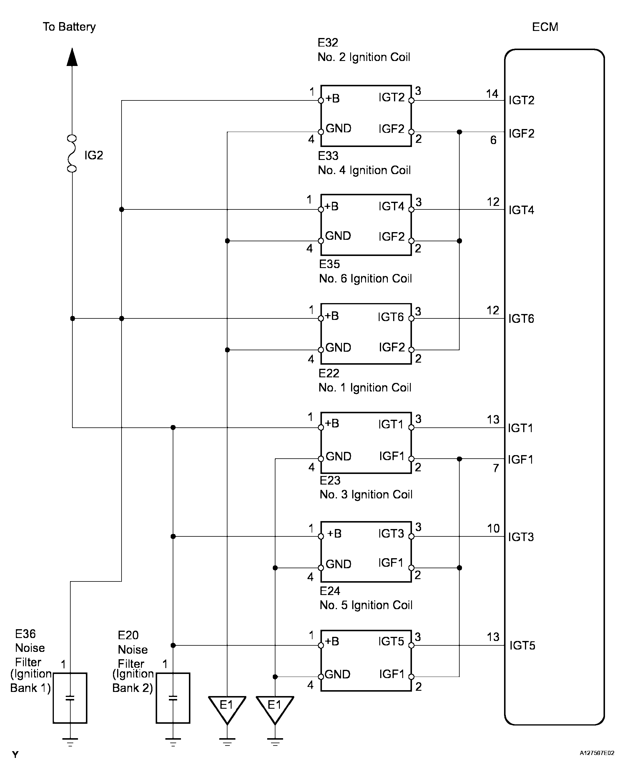
System Diagram

Fig 1: Identifying Ignition System Diagram
G04044907Courtesy of © TOYOTA, LICENSE AGREEMENT TMS1002