LEMON Manuals: Even more car manuals for everyone: 1960-2025
Home >> Lexus >> 2007 >> IS 250 AWD >> Repair and Diagnosis >> External Pages >> Different variant/trim >> Section 2 (Manual Transmission) >> Input Shaft >> Reassembly
April 5, 2026: LEMON Manuals is launched! Read the announcement.

Input Shaft: Reassembly

WARNING: This page is about a different variant/trim than selected.
  1. INSTALL INPUT SHAFT FRONT BEARING 
    1. Using SST and a press, install the input shaft front bearing onto the input shaft.

      SST 09950-00020

      Fig 1: Installing Input Shaft Front Bearing Onto Input Shaft
      G04046596Courtesy of © TOYOTA, LICENSE AGREEMENT TMS1002

      HINT:

      Make sure that the groove of the bearing faces the correct direction.

  2. INSTALL INPUT SHAFT FRONT BEARING SNAP RING 
    1. Select a snap ring that will allow minimum axial play.

      Standard clearance: 0.1 mm (0.004 in.) or less 

      Snap ring thickness 

      INPUT SHAFT FRONT BEARING SNAP RING

      Part No. Thickness: mm (in.) Mark
      90520-31026 2.65 to 2.70 (0.1043 to 0.1063) A
      90520-31027 2.70 to 2.75 (0.1063 to 0.1083) B
      90520-31028 2.75 to 2.80 (0.1083 to 0.1102) C
      90520-31029 2.80 to 2.85 (0.1102 to 0.1122) D
      90520-31030 2.85 to 2.90 (0.1122 to 0.1142) E
      90520-31031 2.90 to 2.95 (0.1142 to 0.1161) F
      Fig 2: Identifying Input Shaft Front Bearing Snap Ring
      G04046597Courtesy of © TOYOTA, LICENSE AGREEMENT TMS1002
    2. Using a brass bar and hammer, install the snap ring onto the input shaft.
  3. INSTALL NO. 2 TRANSMISSION CLUTCH HUB 
    1. Apply a light coat of gear oil to the sleeve and hub.
    2. Install the clutch hub sleeve onto the No. 2 transmission clutch hub.
    3. Install the 3 shifting keys, 3 shifting key springs and 3 balls onto the clutch hub.
      NOTE: Take care to prevent the ball from flying off.
      Fig 3: Identifying No. 2 Transmission Clutch Hub
      G04046598Courtesy of © TOYOTA, LICENSE AGREEMENT TMS1002

      HINT:

      Make sure that the No. 2 transmission clutch hub faces the correct direction.

  4. INSTALL NO. 3 TRANSMISSION CLUTCH HUB 
    1. Apply a light coat of gear oil to the sleeve and hub.
    2. Install the clutch hub sleeve onto the No. 3 transmission clutch hub.
    3. Install the 3 shifting keys, 3 shifting key springs and 3 balls onto the clutch hub.
      NOTE: Take care to prevent the ball from flying off.
      Fig 4: Identifying No. 3 Transmission Clutch Hub
      G04046599Courtesy of © TOYOTA, LICENSE AGREEMENT TMS1002

      HINT:

      Make sure that the No. 2 transmission clutch hub faces the correct direction.

  5. INSTALL 4TH GEAR NEEDLE ROLLER BEARING 
    1. Coat the 4th gear needle roller bearing with gear oil, then install it onto the input shaft.
    Fig 5: Identifying 4th Gear Needle Roller Bearing
    G04046600Courtesy of © TOYOTA, LICENSE AGREEMENT TMS1002
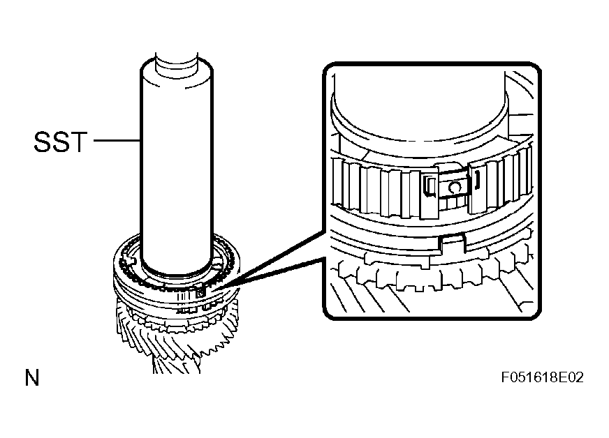
  6. INSTALL 4TH GEAR 
    1. Coat the 4th gear and No. 3 synchronizer ring with gear oil, then install them onto the input shaft.
    2. Using SST and a press, install the No. 2 transmission clutch hub onto the input shaft.

      SST 09308-14010 

      HINT:

      Align the convex portion of the synchronizer ring with the groove of the clutch hub.

      Fig 6: Installiang No. 2 Transmission Clutch Hub Onto Input Shaft Using SST
      G04046601Courtesy of © TOYOTA, LICENSE AGREEMENT TMS1002
    3. Install the clutch hub and confirm that the gear and synchronizer ring move smoothly.
  7. INSTALL NO. 2 CLUTCH HUB SETTING SHAFT SNAP RING 
    1. Select a snap ring that will allow minimum axial play.

      Standard clearance: 0.1 mm (0.004 in.) or less 

      Snap ring thickness 

      Fig 7: Installing No. 2 Clutch Hub Setting Shaft Snap Ring
      G04046602Courtesy of © TOYOTA, LICENSE AGREEMENT TMS1002
      NO. 2 CLUTCH HUB SETTING SHAFT SNAP RING

      Part No. Thickness: mm (in.) Mark
      90520-42012 1.80 to 1.85 (0.0709 to 0.0728) A
      90520-42013 1.85 to 1.90 (0.0728 to 0.0748) B
      90520-42014 1.90 to 1.95 (0.0748 to 0.0768) C
      90520-42015 1.95 to 2.00 (0.0768 to 0.0787) D
      90520-42016 2.00 to 2.05 (0.0787 to 0.0807) E
      90520-42017 2.05 to 2.10 (0.0807 to 0.0827) F
      90520-42018 2.10 to 2.15 (0.0827 to 0.0846) G
    2. Using a snap ring expander, install the snap ring onto the input shaft.
  8. INSTALL NO. 2 SYNCHRONIZER RING SET 
    1. Coat the No. 2 synchronizer ring set with gear oil, then install it onto the input shaft.
      Fig 8: Identifying No. 2 Synchronizer Ring Set
      G04046603Courtesy of © TOYOTA, LICENSE AGREEMENT TMS1002
  9. INSTALL SPACER 
    1. Coat the spacer with gear oil, and install it onto the input shaft.
      Fig 9: Identifying Spacer
      G04046604Courtesy of © TOYOTA, LICENSE AGREEMENT TMS1002
  10. INSTALL 3RD GEAR NEEDLE ROLLER BEARING 
    1. Coat the 3rd gear needle roller bearing with gear oil, and install it onto the input shaft.
      Fig 10: Identifying 3rd Gear Needle Roller Bearing
      G04046605Courtesy of © TOYOTA, LICENSE AGREEMENT TMS1002
  11. INSTALL STRAIGHT PIN 
    1. Install the straight pin onto the input shaft.
      Fig 11: Installing Straight Pin Onto Input Shaft
      G04046606Courtesy of © TOYOTA, LICENSE AGREEMENT TMS1002
  12. INSTALL 3RD GEAR 
    1. Coat the 3rd gear with gear oil, and install it onto the input shaft.
      Fig 12: Identifying 3rd Gear
      G04046607Courtesy of © TOYOTA, LICENSE AGREEMENT TMS1002
  13. INSTALL 3RD GEAR THRUST WASHER 
    1. Coat the 3rd gear thrust washer with gear oil, and install it onto the input shaft.
      Fig 13: Identifying 3rd Gear Thrust Washer
      G04046608Courtesy of © TOYOTA, LICENSE AGREEMENT TMS1002

      HINT:

      Align the straight pin with the groove of the gear thrust washer and install it.

  14. INSTALL GEAR THRUST WASHER SHAFT SNAP RING 
    1. Select a snap ring that will allow minimum axial play.

      Standard clearance: 0.1 mm (0.004 in.) or less Snap ring thickness 

      GEAR THRUST WASHER SHAFT SNAP RING

      Part No. Thickness: mm (in.) Mark
      90520-39026 2.07 to 2.12 (0.0815 to 0.0835) A
      90520-39027 2.12 to 2.17 (0.0835 to 0.0854) B
      90520-39028 2.17 to 2.22 (0.0854 to 0.0874) C
      90520-39029 2.22 to 2.27 (0.0874 to 0.0894) D
      90520-39030 2.27 to 2.32 (0.0894 to 0.0913) E
      90520-39031 2.32 to 2.37 (0.0913 to 0.0933) F
      Fig 14: Identifying Gear Thrust Washer Shaft Snap Ring
      G04046609Courtesy of © TOYOTA, LICENSE AGREEMENT TMS1002
    2. Using a snap ring expander, install the snap ring onto the input shaft.
  15. INSTALL SPACER 
    1. Coat the spacer with gear oil, and install it onto the input shaft.
      Fig 15: Identifying Spacer
      G04046610Courtesy of © TOYOTA, LICENSE AGREEMENT TMS1002
  16. INSTALL 6TH GEAR NEEDLE ROLLER BEARING 
    1. Coat the 6th gear needle roller bearing with gear oil, and install it onto the input shaft.
      Fig 16: Identifying 6th Gear Needle Roller Bearing
      G04046611Courtesy of © TOYOTA, LICENSE AGREEMENT TMS1002
  17. INSTALL 6TH GEAR 
    1. Install the 6th gear onto the input shaft.
    2. Install the synchronizer ring onto the input shaft.
    3. Using SST and a press, install the clutch hub onto the input shaft.

      SST 09309-37010, 09950-00020 

    4. Install the clutch hub and confirm that the gear and synchronizer ring move smoothly.
      Fig 17: Installing 6th Gear Onto Input Shaft
      G04046612Courtesy of © TOYOTA, LICENSE AGREEMENT TMS1002
  18. INSTALL TRANSMISSION CLUTCH HUB NO. 3 SHAFT SNAP RING 
    1. Select a snap ring that will allow minimum axial play.

      Standard clearance: 0.1 mm (0.004 in.) or less 

      Snap ring thickness 

      Fig 18: Identifying Transmission Clutch Hub No. 3 Shaft Snap Ring
      G04046613Courtesy of © TOYOTA, LICENSE AGREEMENT TMS1002
      TRANSMISSION CLUTCH HUB NO. 3 SHAFT SNAP RING

      Part No. Thickness: mm (in.) Mark
      90520-33022 2.10 to 2.15 (0.0827 to 0.0847) A
      90520-33023 2.15 to 2.20 (0.0847 to 0.0866) B
      90520-33024 2.20 to 2.25 (0.0866 to 0.0886) C
      90520-33025 2.25 to 2.30 (0.0886 to 0.0906) D
      90520-33026 2.30 to 2.35 (0.0906 to 0.0925) E
      90520-33027 2.35 to 2.40 (0.0925 to 0.0945) F
      90520-33028 2.40 to 2.45 (0.0945 to 0.0965) G
    2. Using a brass bar and a hammer, install the snap ring onto the input shaft.
  19. INSPECT 6TH GEAR THRUST CLEARANCE 
    1. Using a dial indicator, measure the 6th gear thrust clearance.

      Standard clearance: 0.20 to 0.48 mm (0.0079 to 0.0189 in.) 

      If the clearance is outside the specification, replace the defective gear, thrust washer or shaft.

      Fig 19: Measuring 6th Gear Thrust Clearance Using Dial Indicator
      G04046614Courtesy of © TOYOTA, LICENSE AGREEMENT TMS1002
  20. INSPECT 3RD GEAR THRUST CLEARANCE 
    1. Using a feeler gauge, measure the 3rd gear thrust clearance.

      Standard clearance: 0.19 to 0.51 mm (0.0075 to 0.0201 in.) 

      If the clearance is outside the specification, replace the defective gear, thrust washer, clutch hub or shaft.

      Fig 20: Measuring 3rd Gear Thrust Clearance Using Feeler Gauge
      G04046615Courtesy of © TOYOTA, LICENSE AGREEMENT TMS1002
  21. INSPECT 4TH GEAR THRUST CLEARANCE 
    1. Using a dial indicator, measure the 4th gear thrust clearance.

      Standard clearance: 0.12 to 0.38 mm (0.0047 to 0.0150 in.) 

      If the clearance is outside the specification, replace the defective gear, clutch hub or shaft.

      Fig 21: Measuring 4th Gear Thrust Clearance Using Dial Indicator
      G04046616Courtesy of © TOYOTA, LICENSE AGREEMENT TMS1002
  22. INSPECT 6TH GEAR RADIAL CLEARANCE 
    1. Using a dial indicator, measure the 6th gear radial clearance.

      Standard clearance: 0.015 to 0.065 mm (0.0006 to 0.0026 in.) 

      If the clearance is outside the specification, replace the defective gear, needle roller bearing or shaft.

      Fig 22: Measuring 6th Gear Radial Clearance Using Dial Indicator
      G04046617Courtesy of © TOYOTA, LICENSE AGREEMENT TMS1002
  23. INSPECT 3RD GEAR RADIAL CLEARANCE 
    1. Using a dial indicator, measure the 3rd gear radial clearance.

      Standard clearance: 0.015 to 0.067 mm (0.0006 to 0.0026 in.) 

      If the clearance is outside the specification, replace the defective gear, needle roller bearing or shaft.

      Fig 23: Measuring 3rd Gear Radial Clearance Using Dial Indicator
      G04046618Courtesy of © TOYOTA, LICENSE AGREEMENT TMS1002
  24. INSPECT 4TH GEAR RADIAL CLEARANCE 
    1. Using a dial indicator, measure the 4th gear radial clearance.

      Standard clearance: 0.015 to 0.067 mm (0.0006 to 0.0026 in.) 

      If the clearance is outside the specification, replace the defective gear, needle roller bearing or shaft.

      Fig 24: Measuring 4th Gear Radial Clearance Using Dial Indicator
      G04046619Courtesy of © TOYOTA, LICENSE AGREEMENT TMS1002