LEMON Manuals: Even more car manuals for everyone: 1960-2025
Home >> Lexus >> 2007 >> IS 250 AWD >> Repair and Diagnosis >> External Pages >> Different variant/trim >> Section 2 (Manual Transmission) >> Manual Transmission Unit >> Reassembly
April 5, 2026: LEMON Manuals is launched! Read the announcement.

Manual Transmission Unit: Reassembly

WARNING: This page is about a different variant/trim than selected.
  1. INSTALL SHIFT ARM 
    1. Install the shift arm and shift arm pivot onto the shift interlock bracket.
      Fig 1: Installing Shift Arm & Shift Arm Pivot Onto Shift Interlock Bracket
      G04046496Courtesy of © TOYOTA, LICENSE AGREEMENT TMS1002
    2. Install a new E-ring onto the shift arm pivot.
      Fig 2: Installing New E-Ring Onto Shift Arm Pivot
      G04046497Courtesy of © TOYOTA, LICENSE AGREEMENT TMS1002
  2. INSTALL NO. 4 GEAR SHIFT FORK SHAFT 
    1. Install the spring and ball into the shift interlock bracket.
    2. Install the No. 4 gear shift fork shaft.
      Fig 3: Installing No. 4 Gear Shift Fork Shaft
      G04046498Courtesy of © TOYOTA, LICENSE AGREEMENT TMS1002
  3. INSTALL NO. 4 GEAR SHIFT FORK 
    1. Install the No. 4 gear shift fork onto the No. 4 gear shift fork shaft.
    2. Using a pin punch (5 mm (0.20 in.)) and hammer, tap a new slotted spring pin to install the No. 4 shift fork and No. 4 gear shift fork shaft.

      Installation depth: 0 to 0.5 mm (0 to 0.020 in.) 

      Fig 4: Tapping Slotted Spring Pin To No. 4 Shift Fork & No. 4 Gear Shift Fork Shaft
      G04046499Courtesy of © TOYOTA, LICENSE AGREEMENT TMS1002
  4. INSTALL NO. 1 GEAR SHIFT FORK 
    1. Install the No. 1 gear shift fork and No. 2 gear shift head onto the No. 4 gear shift fork shaft.
      Fig 5: Installing No. 1 Gear Shift Fork & No. 2 Gear Shift Head Onto No. 4 Gear Shift Fork Shaft
      G04046500Courtesy of © TOYOTA, LICENSE AGREEMENT TMS1002
    2. Using a pin punch (5 mm (0.20 in.)) and hammer, tap a new slotted spring pin to install the No. 2 gear shift head and No. 4 gear shift fork shaft.

      Installation depth: 0 to 0.5 mm (0 to 0.020 in.) 

      Fig 6: Tapping Slotted Spring Pin To No. 2 Gear Shift Head & No. 4 Gear Shift Fork Shaft
      G04046501Courtesy of © TOYOTA, LICENSE AGREEMENT TMS1002
  5. INSTALL NO. 3 GEAR SHIFT FORK SHAFT 
    1. Apply MP grease to the No. 1 shift interlock pin and install it onto the shift interlock bracket.
    2. Install the spring and ball onto the shift interlock bracket.
    3. Install the No. 3 gear shift head and No. 3 gear shift fork shaft into the shift interlock bracket.
      Fig 7: Installing No. 3 Gear Shift Head & No. 3 Gear Shift Fork Shaft Into Shift Interlock Bracket
      G04046502Courtesy of © TOYOTA, LICENSE AGREEMENT TMS1002

      HINT:

      Place the No. 4 gear shift fork shaft in the neutral position.

  6. INSTALL NO. 3 GEAR SHIFT HEAD 
    1. Using a pin punch (5 mm (0.20 in.)) and hammer, tap a new slotted spring pin to install the No. 3 gear shift head and No. 3 gear shift fork shaft.

      Installation depth: 0 to 0.5 mm (0 to 0.020 in.) 

      Fig 8: Tapping Slotted Pin To No. 3 Gear Shift Head & No. 3 Gear Shift For Shaft
      G04046503Courtesy of © TOYOTA, LICENSE AGREEMENT TMS1002
  7. INSTALL NO. 2 GEAR SHIFT FORK SHAFT 
    1. Apply MP grease to the No. 2 and No. 3 shift interlock pins, then install them into the shift interlock bracket.
    2. Install the spring and ball into the shift interlock bracket.
    3. Install the No. 2 gear shift fork shaft onto the shift interlock bracket.
      Fig 9: Identifying No. 2 Gear Shift Fork Shaft
      G04046504Courtesy of © TOYOTA, LICENSE AGREEMENT TMS1002

      HINT:

      Place the No. 3 and No. 4 gear shift fork shafts in the neutral position.

  8. INSTALL NO. 2 GEAR SHIFT FORK 
    1. Install the No. 2 gear shift fork with the bolt.

      Torque: 20 N*m (200 kgf*cm, 14 ft.*lbf) 

      Fig 10: Identifying No. 2 Gear Shift Fork
      G04046505Courtesy of © TOYOTA, LICENSE AGREEMENT TMS1002
  9. INSTALL NO. 1 GEAR SHIFT FORK SHAFT 
    1. Apply MP grease to the No. 2 and No. 3 shift interlock pins, then install them into the shift interlock bracket.
    2. Install the spring and ball into the shift interlock bracket.
      Fig 11: Identifying No. 1 Gear Shift Fork Shaft
      G04046506Courtesy of © TOYOTA, LICENSE AGREEMENT TMS1002
    3. Install the No. 1 gear shift head and No. 1 gear shift fork shaft onto the shift interlock bracket.

      HINT:

      Place the No. 4, No. 3 and No. 2 gear shift fork shafts in the neutral position.

  10. INSTALL NO. 1 GEAR SHIFT HEAD 
    1. Using a pin punch (5 mm (0.20 in.)) and hammer, tap a new slotted spring pin to install the No. 1 gear shift head and No. 1 gear shift fork shaft.

      Installation depth: 0 to 0.5 mm (0 to 0.020 in.) 

      Fig 12: Tapping Slotted Pin To No. 1 Gear Shift Head No. 1 Gear Shift Fork Shaft
      G04046507Courtesy of © TOYOTA, LICENSE AGREEMENT TMS1002
  11. INSTALL NO. 3 GEAR SHIFT FORK 
    1. Install the No. 3 gear shift fork with the bolt.

      Torque: 20 N*m (200 kgf*cm, 14 ft.*lbf) 

      Fig 13: Identifying No. 3 Gear Shift Fork With Bolt
      G04046508Courtesy of © TOYOTA, LICENSE AGREEMENT TMS1002
    2. Install 4 new snap rings.
    Fig 14: Identifying Snap Rings
    G04046509Courtesy of © TOYOTA, LICENSE AGREEMENT TMS1002
  12. INSTALL TRANSMISSION CASE OIL SEAL 
    1. Using SST and a hammer, tap a new oil seal into the front case in accordance with the dimension specified in Fig 14 .

      SST 09950-70010 (09951-07100), 09950-60010 (09951-00470) 

      Dimension A: 60.0 to 60.8 mm (2.362 to 2.394 in.) 

    2. Apply gear oil to the lip of the oil seal.
      Fig 15: Tapping Transmission Case Oil Seal Into Front Case
      G04046510Courtesy of © TOYOTA, LICENSE AGREEMENT TMS1002
  13. INSTALL FRONT BEARING SHAFT SNAP RING 
    1. Using snap ring pliers, install the 2 snap rings.
      Fig 16: Installing Front Bearing Shaft Snap Ring
      G04046511Courtesy of © TOYOTA, LICENSE AGREEMENT TMS1002
  14. INSTALL NO. 1 OIL RECEIVER PIPE 
    1. Install the No. 1 oil receiver pipe onto the transmission front case.
      Fig 17: Identifying No. 1 Oil Receiver Pipe
      G04046512Courtesy of © TOYOTA, LICENSE AGREEMENT TMS1002

      HINT:

      Align the convex portion of the oil receiver pipe with the cutout of the front case and install the oil receiver pipe onto the front case.

  15. INSTALL TRANSMISSION FRONT CASE 
    1. Apply gear oil to all sliding and rotating parts.
    2. Provisionally install the output shaft, input shaft, counter gear shaft and control assembly, and tie them with a rope or string.
      Fig 18: Identifying Output Shaft, Input Shaft, Counter Gear Shaft & Control Assembly
      G04046513Courtesy of © TOYOTA, LICENSE AGREEMENT TMS1002
    3. Using a snap ring expander, extend the 2 snap rings and install the output shaft, input shaft, counter gear shaft and control assembly.
      Fig 19: Extending 2 Snap Rings Using Snap Ring Expander
      G04046514Courtesy of © TOYOTA, LICENSE AGREEMENT TMS1002

      HINT:

      Make sure that the snap ring is fully engaged into the grooves of the input shaft and front bearing of the counter gear shaft.

    4. Untie the output shaft, input shaft, counter gear shaft and control assembly.
    5. Using a hexagonal wrench (24 mm), install the plug onto the front case.

      Torque: 39 N*m (400 kgf*cm, 29 ft.*lbf) 

      Fig 20: Installing Plug Onto Front Case
      G04046515Courtesy of © TOYOTA, LICENSE AGREEMENT TMS1002
    6. Install the 4 bolts onto the shift interlock bracket.

      Torque: 21 N*m (214 kgf*cm, 15 ft.*lbf) 

      Fig 21: Identifying Shift Interlock Bracket Bolts
      G04046516Courtesy of © TOYOTA, LICENSE AGREEMENT TMS1002
  16. INSTALL REVERSE IDLER GEAR 
    1. Install the reverse idler gear, reverse idler gear bearing and reverse idler gear shaft.

      HINT:

      Make sure that the reverse idler gear faces the correct direction.

      NOTE: Make sure that the tapped hole portion of the reverse idler shaft is in the position shown.
      Fig 22: Identifying Reverse Idler Gear
      G04046517Courtesy of © TOYOTA, LICENSE AGREEMENT TMS1002
  17. INSTALL SHIFT AND SELECT LEVER CAM 
    1. Install the shift and select lever cam onto the shaft and install a new E-ring.
      Fig 23: Identifying Shift & Select Lever Cam
      G04046518Courtesy of © TOYOTA, LICENSE AGREEMENT TMS1002
  18. INSTALL SHIFT AND SELECT LEVER 
    1. Install the lock ball pin and spring into the shift and select lever.
    2. Install the shift and select lever onto the shift and select lever shaft. 
    3. Install a new bolt onto the shift and select lever.

      Torque: 33 N*m (340 kgf*cm, 25 ft.*lbf) 

      Fig 24: Identifying Shift & Select Lever
      G04046519Courtesy of © TOYOTA, LICENSE AGREEMENT TMS1002
  19. INSTALL SHIFT AND SELECT LEVER SHAFT 
    1. Align the groove of the shift and select cam with the reverse idler gear shaft, and the claw with the groove of the control assembly, and install them.
      Fig 25: Identifying Shift & Select Lever Shaft
      G04046520Courtesy of © TOYOTA, LICENSE AGREEMENT TMS1002
  20. INSTALL TRANSMISSION MIDDLE CASE BEARING 
    1. Using SST and a press, install the transmission middle case bearing to the transmission middle case.

      SST 09950-60010 (09951-00230) 

      Installation depth: 0.5 to 1.5 mm (0.0197 to 0.0591 in.) 

      Fig 26: Identifying Transmission Middle Case Bearing
      G04046521Courtesy of © TOYOTA, LICENSE AGREEMENT TMS1002
  21. INSTALL NO. 2 OIL RECEIVER PIPE 
    1. Install the No. 2 oil receiver pipe into the transmission middle case.
      Fig 27: Identifying No. 2 Oil Receiver Pipe
      G04046522Courtesy of © TOYOTA, LICENSE AGREEMENT TMS1002
  22. INSTALL TRANSMISSION DRAIN PLUG 
    1. Install the drain plug with a new gasket onto the transmission middle case.

      Torque: 37 N*m (377 kgf*cm, 27 ft.*lbf) 

  23. INSTALL TRANSMISSION MIDDLE CASE 
    1. Clean the seal packing attached on the transmission middle case and transmission front case using a scraper and wire brush. Then remove the oil with non-residue type solvent or equivalent.
      NOTE: Do not scratch the fitting surface.
      Fig 28: Identifying Transmission Middle Case
      G04046523Courtesy of © TOYOTA, LICENSE AGREEMENT TMS1002
    2. Apply FIPG to the transmission middle case.

      FIPG: 

      Part No. 08826-00090, THREE BOND 1281 or equivalent 

      Fig 29: Applying FIPG To Transmission Middle Case
      G04046524Courtesy of © TOYOTA, LICENSE AGREEMENT TMS1002
      NOTE: Parts must be assembled within 10 minutes of application. Otherwise, the packing (FIPG) material must be removed and reapplied.
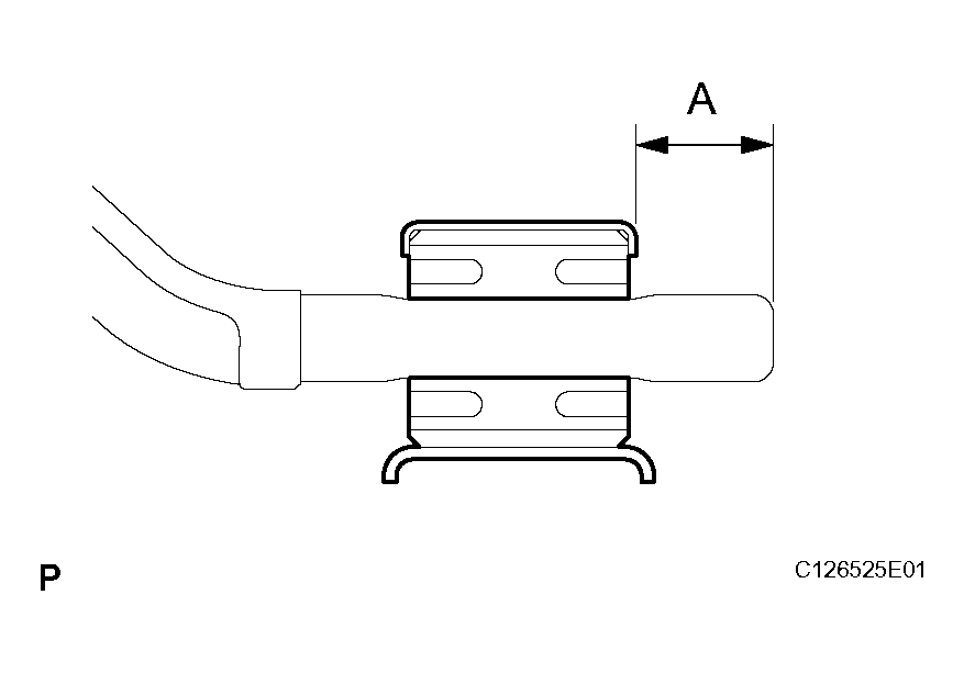
    3. Install the transmission middle case with the 11 bolts onto the transmission front case.

      Torque: 40 N*m (408 kgf*cm, 30 ft.*lbf) 

      Bolt length: 

      Bolt A: 40 mm (1.57 in.) 

      Bolt B: 80 mm (3.15 in.) 

      Fig 30: Installing Transmission Middle Case Bolts
      G04046525Courtesy of © TOYOTA, LICENSE AGREEMENT TMS1002
  24. INSTALL REVERSE IDLER GEAR SHAFT BOLT 
    1. Install a new gasket and the reverse idler gear shaft bolt onto the reverse idler gear shaft.

      Torque: 28 N*m (286 kgf*cm, 21 ft.*lbf) 

      Fig 31: Identifying New Gasket & Reverse Idler Gear Shaft Bolt
      G04046526Courtesy of © TOYOTA, LICENSE AGREEMENT TMS1002
  25. INSTALL TRANSMISSION OIL SEPARATOR 
    1. Install the transmission oil separator with the 2 bolts.

      Torque: 8.5 N*m (87 kgf*cm, 75 in.*lbf) 

      Fig 32: Identifying Transmission Oil Separator Bolts
      G04046527Courtesy of © TOYOTA, LICENSE AGREEMENT TMS1002
  26. INSTALL TRANSMISSION REAR CASE BEARING 
    1. Using SST and a press, install the transmission rear case bearing to the transmission rear case.

      SST 09950-60010 (09951-00230) 

      Installation depth: 1.0 to 2.0 mm (0.0394 to 0.0787 in.) 

      Fig 33: Identifying Transmission Rear Case Bearing
      G04046528Courtesy of © TOYOTA, LICENSE AGREEMENT TMS1002
  27. INSTALL COUNTER GEAR REAR CYLINDRICAL ROLLER BEARING 
    1. Coat a new counter gear rear cylindrical roller bearing with gear oil, and using SST and a press, install it into the transmission rear case.

      SST 09950-70010 (09951-07360), 09950-60010 (09951-00650) 

      Fig 34: Identifying Counter Gear Rear Cylindrical Roller Bearing
      G04046529Courtesy of © TOYOTA, LICENSE AGREEMENT TMS1002
    2. Install the bearing lock plate with the bolt.

      Torque: 11 N*m (115 kgf*cm, 8.3 ft.*lbf) 

      Fig 35: Identifying Bearing Lock Plate Bolt
      G04046530Courtesy of © TOYOTA, LICENSE AGREEMENT TMS1002
  28. INSTALL OUTPUT SHAFT REAR BEARING OUTER RACE 
    1. Using SST and a press, press in 2 new bearing outer races.

      SST 09950-70010 (09951-07100, 09951-07360), 09950-60020 (09951-00790) 

      Fig 36: Identifying Output Shaft Rear Bearing Outer Race
      G04046531Courtesy of © TOYOTA, LICENSE AGREEMENT TMS1002
  29. INSTALL OIL SEPARATOR PACKING SEAL 
    1. Install the oil separator packing seal onto the transmission rear case.
      Fig 37: Identifying Oil Separator Packing Seal
      G04046532Courtesy of © TOYOTA, LICENSE AGREEMENT TMS1002

      HINT:

      Insert the protruding part of the oil separator packing seal into the groove on the transmission rear case.

  30. INSTALL EXTENSION HOUSING OIL RECEIVER PIPE 
    1. Install the extension housing oil receiver pipe onto the transmission rear case.
      Fig 38: Identifying Extension Housing Oil Receiver Pipe
      G04046533Courtesy of © TOYOTA, LICENSE AGREEMENT TMS1002
  31. INSTALL MANUAL TRANSMISSION FILLER PLUG 
    1. Install the 2 transmission filler plugs with 2 new gaskets onto the transmission rear case.

      Torque: 37 N*m (377 kgf*cm, 27 ft.*lbf) 

  32. INSTALL TRANSMISSION REAR CASE 
    1. Clean the seal packing attached on the transmission rear case and transmission middle case using a scraper and wire brush. Then remove the oil with non-residue type solvent or equivalent.
      Fig 39: Identifying Transmission Rear Case
      G04046534Courtesy of © TOYOTA, LICENSE AGREEMENT TMS1002
      NOTE: Do not scratch the fitting surface.
    2. Apply FIPG to the transmission rear case.

      FIPG: 

      Part No. 08826-00090, THREE BOND 1281 or equivalent 

      Fig 40: Applying FIPG To Transmission Rear Case
      G04046535Courtesy of © TOYOTA, LICENSE AGREEMENT TMS1002
      NOTE: Parts must be assembled within 10 minutes of application. Otherwise, the packing (FIPG) material must be removed and reapplied.
    3. Install the transmission rear case with the 10 bolts and bracket onto the transmission middle case.

      Torque: 40 N*m (408 kgf*cm, 30 ft.*lbf) 

      Fig 41: Installing Transmission Rear Case With Bolts & Bracket Onto Transmission Middle Case
      G04046536Courtesy of © TOYOTA, LICENSE AGREEMENT TMS1002
  33. INSTALL SHIFT DETENT BALL PLUG 
    1. Install the ball and compression spring onto the transmission rear case.
    2. Install a new shift detent ball plug onto the transmission rear case.

      Torque: 25 N*m (250 kgf*cm, 18 ft.*lbf) 

      Fig 42: Identifying New Shift Detent Ball Plug
      G04046537Courtesy of © TOYOTA, LICENSE AGREEMENT TMS1002
  34. INSTALL OUTPUT SHAFT ADJUST NUT 
    1. Using a belt and wooden block, fasten the transmission to the workbench.
    2. Install a new spacer and a new No. 2 taper roller bearing.
      Fig 43: Identifying New Spacer & New No. 2 Taper Roller Bearing
      G04046538Courtesy of © TOYOTA, LICENSE AGREEMENT TMS1002
    3. Using SST, provisionally tighten a new nut until there is no slack in the output shaft.

      SST 09922-10010 

      Fig 44: Tightening New Nut Until No Slack In Output Shaft
      G04046539Courtesy of © TOYOTA, LICENSE AGREEMENT TMS1002

      HINT:

      No preload should be applied to the nut.

    4. Fit the bearing into the output shaft by turning the output shaft 15 times.
    5. Place the gearshift into 5th gear and check the initial torque of the input shaft.
    6. Using SST, tighten the nut.

      SST 09922-10010 

    7. Place the gearshift into 5th gear and check the initial torque of the input shaft.
    8. Confirm that the difference between (d) and (f) is within the specified values.

      Preload (at starting): 0.45 to 1.35 N*m (4.59 to 13.77 kgf*cm, 3.98 to 11.95 in.*lbf) 

      If the result is not as specified, tighten and adjust the output shaft adjusting nut.

      Fig 45: Tightening Output Shaft Adjusting Nut
      G04046540Courtesy of © TOYOTA, LICENSE AGREEMENT TMS1002
      NOTE: If the output shaft adjusting nut is loose or removed due to a large preload, always replace the spacer with a new one.
    9. Using a chisel and hammer, stake the output shaft adjust nut.
      Fig 46: Staking Output Shaft Adjust Nut Using Chisel & Hammer
      G04046541Courtesy of © TOYOTA, LICENSE AGREEMENT TMS1002
  35. INSTALL EXTENSION HOUSING OIL RECEIVER PIPE 
    1. Install the oil receiver pipe.
      Fig 47: Identifying Extension Housing Oil Receiver Pipe
      G04046542Courtesy of © TOYOTA, LICENSE AGREEMENT TMS1002
    2. Using a snap ring expander, install the snap ring.
      Fig 48: Installing Snap Ring
      G04046543Courtesy of © TOYOTA, LICENSE AGREEMENT TMS1002
  36. INSTALL MANUAL TRANSMISSION EXTENSION HOUSING OIL SEAL 
    1. Using SST and a hammer, install a new oil seal into the extension housing in accordance with the dimension specified in Fig 49 .

      SST 09950-60020 (09951-00640), 09950-70010 (09951-07100) 

      Dimension A: -0.5 to 0.5 mm (-00.197 to 0.0197 in.) 

    2. Apply gear oil to the lip of the oil seal.
      Fig 49: Installing Manual Transmission Extension Housing Oil Seal
      G04046544Courtesy of © TOYOTA, LICENSE AGREEMENT TMS1002
  37. INSTALL EXTENSION HOUSING REAR OIL SEAL 
    1. Using SST and a hammer, install a new extension housing rear oil seal.

      SST 09612-70100 (09612-07210) 

      Installation depth: 4.6 to 5.4 mm (0.1811 to 0.2126 in.) 

  38. INSTALL EXTENSION HOUSING DUST DEFLECTOR 
    1. Using a plastic hammer, install a new extension housing dust deflector.
      Fig 50: Installing New Extension Housing Dust Deflector
      G04046545Courtesy of © TOYOTA, LICENSE AGREEMENT TMS1002
  39. INSTALL EXTENSION HOUSING SUB-ASSEMBLY 
    1. Clean the seal packing attached on the transmission middle case and extension housing using a scraper and wire brush. Then remove the oil with nonresidue type solvent or equivalent.
      NOTE: Do not scratch the fitting surface.
    2. Apply FIPG to the extension housing.

      FIPG: 

      Part No. 08826-00090, THREE BOND 1281 or equivalent 

      Fig 51: Applying FIPG To Extension Housing
      G04046546Courtesy of © TOYOTA, LICENSE AGREEMENT TMS1002
      NOTE: Parts must be assembled within 10 minutes of application. Otherwise, the packing (FIPG) material must be removed and reapplied.
    3. Install the extension housing with the 8 bolts.

      Torque: 29 N*m (296 kgf*cm, 21 ft.*lbf) 

      Fig 52: Identifying Extension Housing Bolts
      G04046547Courtesy of © TOYOTA, LICENSE AGREEMENT TMS1002
  40. INSTALL FLOOR SHIFT CONTROL SHAFT 
    1. Install the control shaft collar onto the shift and select lever.
    2. Install the shift lever damper onto the floor shift control shaft, align the holes to allow the pin to be installed to the floor shift control shaft and shift and select lever shaft, and insert the shaft pin from above.
    3. Install the shaft collar to the floor shift control shaft, and stake the both sides.
      Fig 53: Identifying Floor Shift Control Shaft
      G04046548Courtesy of © TOYOTA, LICENSE AGREEMENT TMS1002
      NOTE: Be careful to install the floor shift control shaft in the proper direction.
  41. INSTALL CONTROL SHAFT 
    1. Install the 2 collars to the floor shift control shaft.
    2. Install the control shaft with a new E-ring.
      Fig 54: Identifying Control Shaft With New E-Ring
      G04046549Courtesy of © TOYOTA, LICENSE AGREEMENT TMS1002
  42. INSTALL SHIFT LEVER RETAINER BUSHING 
    1. Install the 4 shift lever bushings.
      Fig 55: Identifying Shift Lever Retainer Bushings
      G04046550Courtesy of © TOYOTA, LICENSE AGREEMENT TMS1002
  43. INSTALL FLOOR SHIFT CONTROL SHIFT LEVER RETAINER 
    1. Install the floor shift control shift lever retainer with the 2 shift lever pins.
    2. Secure the shift lever pins to the extension housing.
  44. INSTALL SHIFT AND SELECT LEVER BOOT 
    1. Install the shift and select lever boot.
      Fig 56: Identifying Shift & Select Lever Boot
      G04046551Courtesy of © TOYOTA, LICENSE AGREEMENT TMS1002
  45. INSTALL FLOOR SHIFT CONTROL SHIFT LEVER RETAINER SUB-ASSEMBLY 
    1. Install the floor shift lever retainer sub-assembly to the control shift lever retainer in accordance with the dimension specified in Fig 57 .

      Dimension A: 18 mm (0.7087 in.) 

      Fig 57: Identifying Floor Shift Control Shift Lever Retainer Sub-Assembly
      G04046552Courtesy of © TOYOTA, LICENSE AGREEMENT TMS1002
  46. INSTALL BACK-UP LIGHT SWITCH ASSEMBLY 
    1. Using SST, install the back-up light switch with a new gasket onto the transmission middle case.

      SST 09817-16011 

      Torque: 44 N*m (450 kgf*cm, 33 ft.*lbf) 

      Fig 58: Identifying Back-Up Light Switch Assembly
      G04046553Courtesy of © TOYOTA, LICENSE AGREEMENT TMS1002
    2. Install the wire harness with the clamp and bolt.

      Torque: 13 N*m (130 kgf*cm, 9 ft.*lbf) 

      Fig 59: Installing Wire Harness With Clamp & Bolt
      G04046554Courtesy of © TOYOTA, LICENSE AGREEMENT TMS1002