LEMON Manuals: Even more car manuals for everyone: 1960-2025
Home >> Lexus >> 2007 >> IS 250 RWD, Automatic >> Repair and Diagnosis >> External Pages >> Different variant/trim >> Section 4 (Transfer Case) >> Four Wheel Drive Control System >> DTC C1297/97 Steering Angle Sensor >> Wiring Diagram
April 5, 2026: LEMON Manuals is launched! Read the announcement.

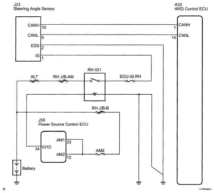
DTC C1297/97 Steering Angle Sensor: Wiring Diagram

WARNING: This page is about a different variant/trim than selected.
Fig 1: Steering Angle Sensor - Wiring Diagram
G05318655Courtesy of © TOYOTA, LICENSE AGREEMENT TMS1002