LEMON Manuals: Even more car manuals for everyone: 1960-2025
Home >> Lexus >> 2007 >> IS 350 >> Repair and Diagnosis >> Accessories & Equipment >> Infotainment >> Navigation >> Navigation System >> System Diagram
April 5, 2026: LEMON Manuals is launched! Read the announcement.

System Diagram

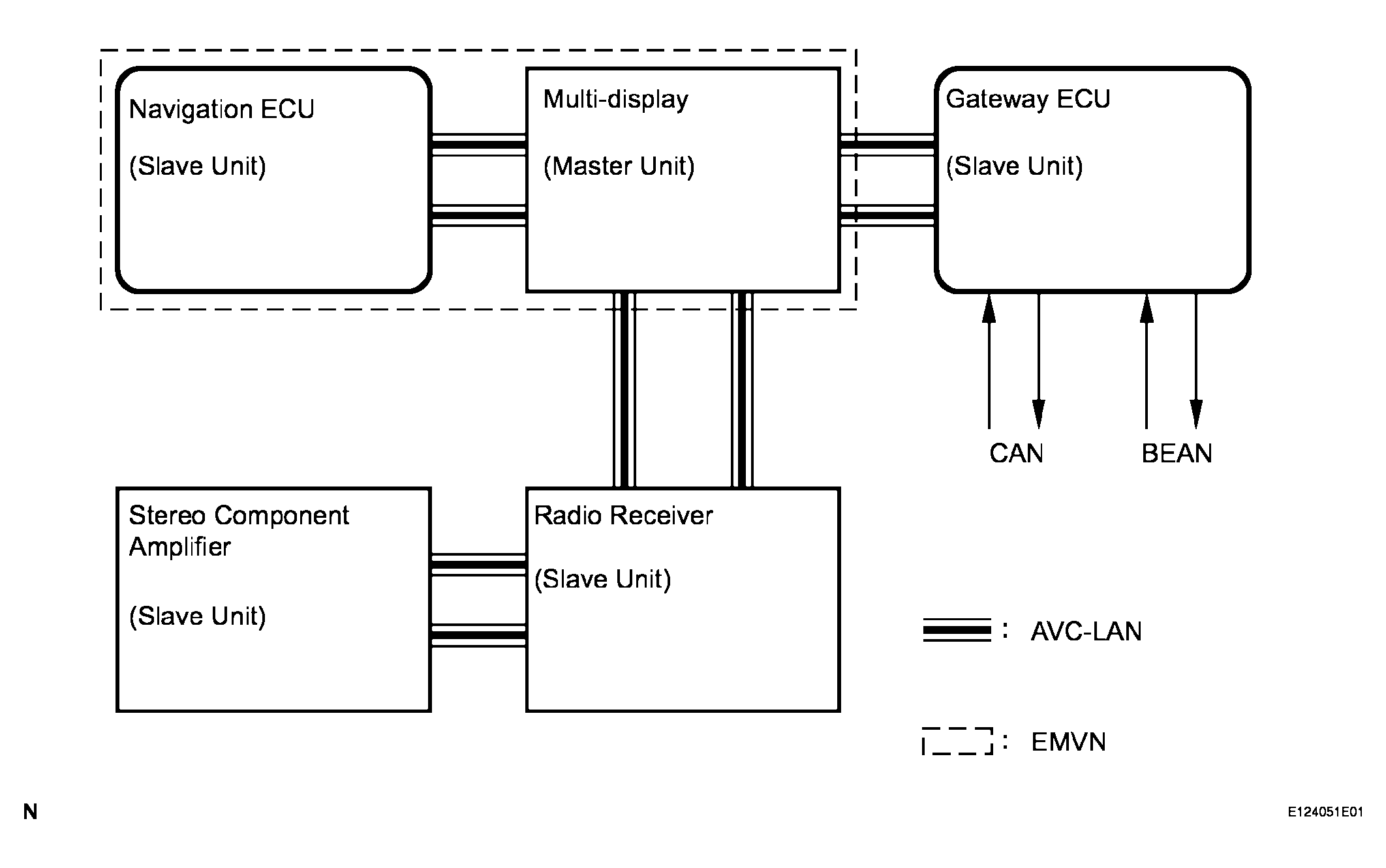
Fig 1: Navigation System Diagram (1 Of 2)
G04050295Courtesy of © TOYOTA, LICENSE AGREEMENT TMS1002
Fig 2: Navigation System Diagram (2 Of 2)
G04050296Courtesy of © TOYOTA, LICENSE AGREEMENT TMS1002