LEMON Manuals: Even more car manuals for everyone: 1960-2025
Home >> Lexus >> 2007 >> LS 460 >> Repair and Diagnosis >> External Pages >> Different car >> Section 492 (Body Control System) >> BCM (Body Control Module) >> System Description >> Combination Switch Reading Function
April 5, 2026: LEMON Manuals is launched! Read the announcement.

Combination Switch Reading Function

WARNING: This page is about a different car, the 2007 Nissan Quest. However, it is still accessible from the selected car via links, so may be relevant.
  1. Description
    • BCM reads combination switch (light, wiper) status, and controls various electrical components according to the results.
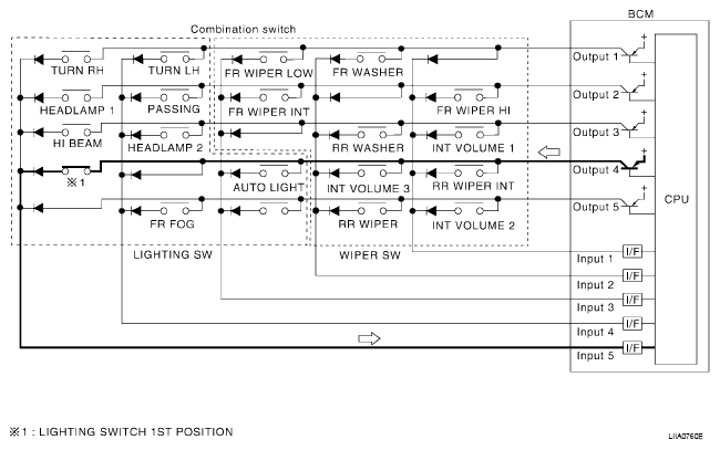
    • BCM reads information of a maximum of 20 switches by combining five output terminals (OUTPUT 1-5) and five input terminals (INPUT 1-5).
  2. Operation description
    • BCM activates transistors of output terminals (OUTPUT 1-5) periodically and allows current to flow in turn.
    • If any (1 or more) of the switches are turned ON, circuit of output terminals (OUTPUT 1-5) and input terminals (INPUT 1-5) becomes active.
    • At this time, transistors of output terminals (OUTPUT 1-5) are activated to allow current to flow. When voltage of input terminals (INPUT 1-5) corresponding to that switch changes, interface in BCM detects voltage change and BCM determines that switch is ON.
      Fig 1: Combination Switch - Wiring Diagram
      G04903917Courtesy of NISSAN MOTOR CO., U.S.A.
  3. BCM - Operation table of combination switch
    • BCM reads operation status of combination switch by the combination shown in the following table.
    DIAGNOSIS PROCEDURE

    - COMB SW OUTPUT 1 → COMB SW OUTPUT 2 → COMB SW OUTPUT 3 → COMB SW OUTPUT 4 → COMB SW OUTPUT 5
    ON OFF ON OFF ON OFF ON OFF ON OFF
    COMB SW INPUT 1 - - FR WIPER HI ON FR WIPER HI OFF INT VOLUME 1 ON INT VOLUME 1 OFF RR WIPER INT ON RR WIPER INT OFF INT VOLUME 2 ON INT VOLUME 2 OFF
    COMB SW INPUT 2 FR WASHER ON FR WASHER OFF - - RR WASHER ON RR WASHER OFF INT VOLUME 3 ON INT VOLUME 3 OFF RR WIPER ON RR WIPER OFF
    COMB SW INPUT 3 FR WIPER LOW ON FR WIPER LOW OFF FR WIPER INT ON FR WIPER INT OFF - - AUTO LIGHT ON AUTO LIGHT OFF - -
    COMB SW INPUT 4 TURN LH ON TURN LH OFF PASSING ON PASSING OFF HEADLAMP 2 ON HEADLAMP 2 OFF - - FR FOG ON FR FOG OFF
    COMB SW INPUT 5 TURN RH ON TURN RH OFF HEADLAMP 1 ON HEADLAMP 1 OFF HI BEAM ON HI BEAM OFF LIGHTING SW (1st) ON LIGHTING SW (1st) OFF - -
    NOTE: Headlamp has a dual system switch.
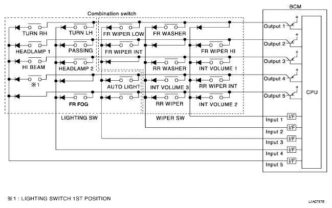
  4. Example operation: (When lighting switch 1st position turned ON)
    • When lighting switch 1st position is turned ON, contact in combination switch turns ON. At this time if OUTPUT 4 transistor is activated, BCM detects that voltage changes in INPUT 5.
    • When OUTPUT 4 transistor is ON, BCM detects that voltage changes in INPUT 5, and judges lighting switch 1st position is ON. Then BCM sends tail lamp ON signal to IPDM E/R using CAN communication.
    • When OUTPUT 4 transistor is activated again, BCM detects that voltage changes in INPUT 5 and recognizes that lighting switch 1st position is continuously ON.
      Fig 2: Combination Switch - Wiring Diagram
      G04903919Courtesy of NISSAN MOTOR CO., U.S.A.
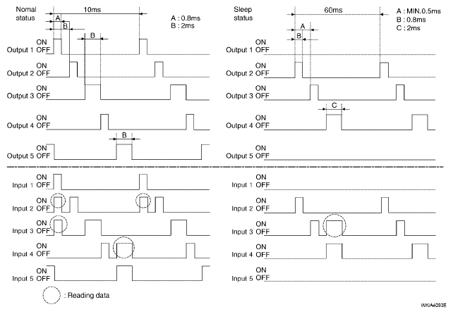
    NOTE: Each OUTPUT terminal transistor is activated at 10 ms intervals. Therefore, after a switch is turned ON, electrical loads are activated with a time delay. But this time delay is so short that it cannot be noticed.
  5. Operation mode
    • Combination switch reading function has operation modes as follows:

      Normal status

    • When BCM is not in sleep status, OUTPUT terminals (1-5) each turn ON-OFF every 10 ms.

      Sleep status

    • When BCM is in sleep mode, transistors of OUTPUT 1 and 5 stop the output, and BCM enters low-current- consumption mode. OUTPUTS (2, 3, and 4) turn ON-OFF at 60 ms intervals, and receives lighting switch input only.
      Fig 3: Combination Switch Reading Function - Operation Modes
      G04903920Courtesy of NISSAN MOTOR CO., U.S.A.