LEMON Manuals: Even more car manuals for everyone: 1960-2025
Home >> Lexus >> 2007 >> LS 460 >> Repair and Diagnosis >> External Pages >> Different car >> Section 723 (Engine Control System - Introduction) >> Preparation >> Special Service Tools
April 5, 2026: LEMON Manuals is launched! Read the announcement.

Special Service Tools

WARNING: This page is about a different car, the 2006 Nissan Pathfinder. However, it is still accessible from the selected car via links, so may be relevant.

The actual shapes of Kent-Moore tools may differ from those of special service tools illustrated here.

SPECIAL SERVICE TOOLS DESCRIPTION

Tool number (Kent-Moore No.) Tool name Description
EG17650301
(J-33984-A)
Radiator cap tester adapter
G04173010Courtesy of NISSAN MOTOR CO., U.S.A.
Adapting radiator cap tester to radiator cap and radiator filler neck
a: 28 (1.10) dia. 
b: 31.4 (1.236) dia. 
c: 41.3 (1.626) dia. 
Unit: mm (in)
KV10117100
(J-36471-A)
Heated oxygen sensor wrench
G04173011Courtesy of NISSAN MOTOR CO., U.S.A.
Loosening or tightening heated oxygen sensor with 22 mm (0.87 in) hexagon nut
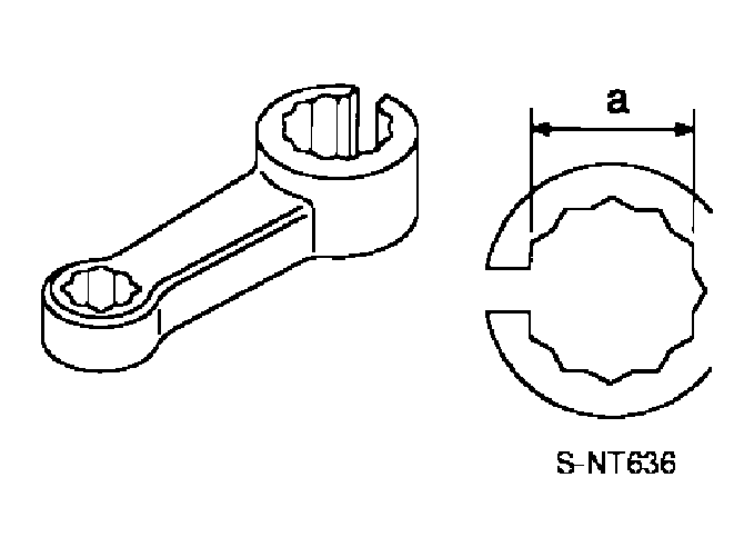
KV10114400
(J-38365)
Heated oxygen sensor wrench
G04173012Courtesy of NISSAN MOTOR CO., U.S.A.
Loosening or tightening air fuel ratio (A/F) sensor
a: 22 mm (0.87 in) 
(J-44626)
Air fuel ratio (A/F) sensor wrench
G04173013Courtesy of NISSAN MOTOR CO., U.S.A.
Loosening or tightening air fuel ratio (A/F) sensor 1
(J-44321)
Fuel pressure gauge kit
G04173014Courtesy of NISSAN MOTOR CO., U.S.A.
Checking fuel pressure
(J-44321-6)
Fuel pressure adapter
G04173015Courtesy of NISSAN MOTOR CO., U.S.A.
Connecting fuel pressure gauge to quick connector type fuel lines.
(J-45488)
Quick connector release
G04173016Courtesy of NISSAN MOTOR CO., U.S.A.
Remove fuel tube quick connectors in engine room
KV109E0010
(J-46209)
Break-out box
G04173017Courtesy of NISSAN MOTOR CO., U.S.A.
Measuring the ECM signals with a circuit tester
KV109E0080
(J-45819)
Y-cable adapter
G04173018Courtesy of NISSAN MOTOR CO., U.S.A.
Measuring the ECM signals with a circuit tester