LEMON Manuals: Even more car manuals for everyone: 1960-2025
Home >> Lexus >> 2007 >> LS 460L >> Repair and Diagnosis >> Accessories & Equipment >> Cruise Control Systems >> Cruise Control >> Cruise Control System >> System Diagram
April 5, 2026: LEMON Manuals is launched! Read the announcement.

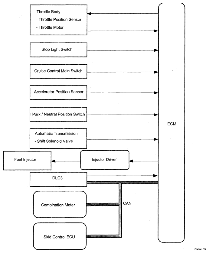
System Diagram

Fig 1: Cruise Control System Diagram
G04951375Courtesy of © TOYOTA, LICENSE AGREEMENT TMS1002

Communication table 

COMMUNICATION REFERENCE

Sender ECU Receiver ECU Signal Line
Combination meter ECM CRUISE main indicator light signal CAN
Skid control ECU ECM Vehicle speed signal CAN