LEMON Manuals: Even more car manuals for everyone: 1960-2025
Home >> Lexus >> 2007 >> LS 460L >> Repair and Diagnosis >> Body & Frame >> Windows >> Windshield/WINDOWGLASS >> Windshield Deicer System >> Windshield Deicer does not Operate >> Inspection Procedure
April 5, 2026: LEMON Manuals is launched! Read the announcement.

Inspection Procedure

  1. CHECK OPERATION (ENGINE START) 
    1. Check that the engine starts normally.

      OK: Engine starts normally. 

    NG: GO TO SMART ACCESS SYSTEM WITH PUSH-BUTTON START  (See HOW TO PROCEED WITH TROUBLESHOOTING )

    OK: GO TO NEXT STEP 

  2. PERFORM ACTIVE TEST BY INTELLIGENT TESTER OR TECHSTREAM (DEICER RELAY) 
    1. Select the Active Test, using the intelligent tester or Techstream to generate a control command, and then check that the windshield deicer operates.
      1. Intelligent tester

        AIR CONDITIONER 

        INTELLIGENT TESTER AIR CONDITIONER SPECIFICATION

        Tester Display Test Part Control Range Diagnostic Note
        DEICER RLY-R Deicer relay operation OFF / ON -
      2. Techstream

        Air Conditioner 

        TECHSTREAM AIR CONDITIONER SPECIFICATION

        Tester Display Test Part Control Range Diagnostic Note
        Deicer Relay (Front) Deicer relay operation OFF/ON -

        Result 

        RESULT CHART

        Result Proceed to
        Windshield deicer operates normally (w/ Multi-display) A
        Windshield deicer operates normally (w/o Multi-display) B
        Windshield deicer does not operate C

    B: Go to step   4 

    C: Go to step   5 

    A: GO TO NEXT STEP 

  3. CHECK MULTI-DISPLAY (OPERATION) 
    1. Temporarily replace the multi-display with a new or normally functioning one (see REMOVAL ).
    2. Check that the malfunction disappears.

      OK: Malfunction disappears. 

    NG: REPLACE AIR CONDITIONING AMPLIFIER  (See REMOVAL )

    OK: REPLACE MULTI-DISPLAY  (See REMOVAL )

  4. CHECK INTEGRATION CONTROL AND PANEL (OPERATION) 
    1. Temporarily replace the integration control and panel with a new or normally functioning one (see REMOVAL ).
    2. Check that the malfunction disappears.

      OK: Malfunction disappears. 

    NG: REPLACE AIR CONDITIONING AMPLIFIER  (See REMOVAL )

    OK: REPLACE INTEGRATION CONTROL AND PANEL  (See REMOVAL )

  5. INSPECT FUSE (DEICER) 
    1. Remove the DEICER fuse from the engine room No. 2 relay block.
    2. Measure the resistance of the fuse.

      Standard resistance 

      FUSE (DEICER)

      Tester Connection Condition Specified Condition
      DEICER fuse Always Below 1 Ω

    NG: REPLACE FUSE 

    OK: GO TO NEXT STEP 

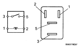
  6. INSPECT DEICER RELAY 
      Fig 1: Inspecting Deicer Relay
      G04950839Courtesy of © TOYOTA, LICENSE AGREEMENT TMS1002
    1. Remove the deicer relay from the No. 3 relay block.
    2. Measure the resistance according to the value(s) in the table below.

      Standard resistance 

      DEICER RELAY

      Tester Connection Condition Specified Condition
      3-5 When battery voltage is not applied between terminals 10 kΩ or higher
      When battery voltage is applied to terminals 1 and 2 Below 1 Ω

    NG: REPLACE DEICER RELAY 

    OK: GO TO NEXT STEP 

  7. CHECK HARNESS AND CONNECTOR (DEICER RELAY - FRONT LIGHT ECU AND BATTERY) 
    1. Remove the deicer relay from the No. 3 relay block.
    2. Disconnect the A51 front light ECU connector.
    3. Measure the voltage according to the value(s) in the table below.

      Standard voltage 

      DEICER RELAY - FRONT LIGHT ECU AND BATTERY VOLTAGE

      Tester Connection Switch Condition Specified Condition
      Deicer relay terminal 1 -Body ground Engine switch on (IG) 11 to 14 V
      Deicer relay terminal 5 -Body ground Always 11 to 14 V
      Fig 2: Checking Harness And Connector (Deicer Relay - Front Light ECU And Battery)
      G04952234Courtesy of © TOYOTA, LICENSE AGREEMENT TMS1002
    4. Measure the resistance according to the value(s) in the table below.

      Standard resistance 

      DEICER RELAY - FRONT LIGHT ECU AND BATTERY RESISTANCE

      Tester Connection Condition Specified Condition
      Deicer relay terminal 2 -A51-13(FDEF) Always Below 1 Ω

    NG: REPAIR OR REPLACE HARNESS OR CONNECTOR 

    OK: GO TO NEXT STEP 

  8. CHECK HARNESS AND CONNECTOR (DEICER RELAY - WINDSHIELD DEICER WIRE) 
    1. Remove the deicer relay from the No. 3 relay block.
    2. Disconnect the A30 windshield deicer wire connector.
    3. Measure the resistance according to the value(s) in the table below.

      Standard resistance 

      DEICER RELAY - WINDSHIELD DEICER WIRE

      Tester Connection Condition Specified Condition
      A30-1 (B2) - Deicer relay terminal 3 Always Below 1 Ω
      A30-2 (B) - Deicer relay terminal 3 Always Below 1 Ω
      Deicer relay terminal 3 -Body ground Always 10 kΩ or higher
      Fig 3: Checking Harness And Connector (Deicer Relay - Windshield Deicer Wire)
      G04952235Courtesy of © TOYOTA, LICENSE AGREEMENT TMS1002

    NG: REPAIR OR REPLACE HARNESS OR CONNECTOR 

    OK: GO TO NEXT STEP 

  9. CHECK HARNESS AND CONNECTOR (WINDSHIELD DEICER WIRE - BODY GROUND) 
    1. Disconnect the A30 windshield deicer wire connector.
    2. Measure the resistance according to the value(s) in the table below.

      Standard resistance 

      WINDSHIELD DEICER WIRE - BODY GROUND

      Tester Connection Condition Specified Condition
      A30-3 (E) - Body ground Always Below 1 Ω
      Fig 4: Checking Harness And Connector (Windshield Deicer Wire - Body Ground)
      G04952180Courtesy of © TOYOTA, LICENSE AGREEMENT TMS1002

    NG: REPAIR OR REPLACE HARNESS OR CONNECTOR 

    OK: GO TO NEXT STEP 

  10. CHECK FRONT LIGHT ECU (OPERATION) 
    1. Temporarily replace the front light ECU with a new or normally functioning one.
    2. Check that the malfunction disappears.

      OK: Malfunction disappears. 

    NG: REPLACE AIR CONDITIONING AMPLIFIER  (See REMOVAL )

    OK: REPLACE FRONT LIGHT ECU