LEMON Manuals: Even more car manuals for everyone: 1960-2025
Home >> Lexus >> 2007 >> LS 460L >> Repair and Diagnosis >> Engine Performance >> Fuel Delivery >> Fuel >> Fuel Pump >> Reassembly
April 5, 2026: LEMON Manuals is launched! Read the announcement.

Fuel Pump: Reassembly

  1. INSTALL BRACKET 
    1. Install the bracket to the fuel filter.
      Fig 1: Identifying Bracket
      G04947955Courtesy of © TOYOTA, LICENSE AGREEMENT TMS1002
  2. INSTALL FUEL PUMP ASSEMBLY 
    1. Apply gasoline to a new O-ring. Then install the O-ring and spacer to the fuel pump.
      Fig 2: Identifying O-Ring And Spacer
      G04948038Courtesy of © TOYOTA, LICENSE AGREEMENT TMS1002
    2. Apply a light coat of gasoline to 2 new O-rings, and install them onto the fuel main valve and fuel pressure regulator.
      Fig 3: Locating O-Ring
      G04947956Courtesy of © TOYOTA, LICENSE AGREEMENT TMS1002
    3. Install the fuel main valve and fuel pressure regulator to the fuel filter.
      Fig 4: Identifying Fuel Main Valve And Fuel Pressure Regulator
      G04948040Courtesy of © TOYOTA, LICENSE AGREEMENT TMS1002
    4. Attach the 2 claws of the fuel filter and install the cap.
      NOTE:
      • Make sure that the fuel main valve and fuel pressure regulator is not installed backwards. If installed backwards, the engine may stall.
      • Make sure the O-rings are not cut or pinched during the installation.
      • Attach the claws securely.
    5. Engage the 5 claws on the fuel filter and install the fuel pump with pump filter.
      Fig 5: Installing Fuel Pump With Pump Filter
      G04948041Courtesy of © TOYOTA, LICENSE AGREEMENT TMS1002
      NOTE:
      • Make sure the O-rings are not cut or pinched during the installation.
      • Attach the claws securely.
    6. Connect the fuel pump connector to the fuel pump.
      Fig 6: Locating Fuel Pump Connector
      G04947952Courtesy of © TOYOTA, LICENSE AGREEMENT TMS1002
  3. INSTALL JET PUMP 
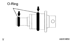
    1. Apply gasoline to a new O-ring and install it to the jet pump.
      Fig 7: Locating O-Ring
      G04947958Courtesy of © TOYOTA, LICENSE AGREEMENT TMS1002
    2. Install the jet pump to the sub-tank as shown in the illustration.
      Fig 8: Identifying Jet Pump
      G04947959Courtesy of © TOYOTA, LICENSE AGREEMENT TMS1002
  4. INSTALL FUEL FILTER ASSEMBLY 
    1. Install the fuel filter to the sub-tank and attach the 2 claws.
      Fig 9: Installing Fuel Filter Assembly
      G04947960Courtesy of © TOYOTA, LICENSE AGREEMENT TMS1002
  5. INSTALL FUEL SUCTION PLATE SUB-ASSEMBLY 
    1. Install the spring to the fuel suction plate shaft.
    2. Install the fuel suction plate to the sub-tank.
    3. Install a new E-ring.
      Fig 10: Identifying E-Ring
      G04947948Courtesy of © TOYOTA, LICENSE AGREEMENT TMS1002
    4. Connect the fuel pump connector to the fuel suction plate.
      Fig 11: Locating Fuel Pump Connector
      G04947947Courtesy of © TOYOTA, LICENSE AGREEMENT TMS1002
  6. INSTALL FUEL SENDER GAUGE ASSEMBLY 
    1. Set the fuel sender gauge to the fuel sub-tank. Then slide the sender gauge downward to install it.
    2. Connect the fuel sender gauge connector to the fuel suction plate.
      NOTE: Do not touch the sender plate's resistance plate area or the contact area.
      Fig 12: Installing Fuel Sender Gauge Assembly
      G04947963Courtesy of © TOYOTA, LICENSE AGREEMENT TMS1002