LEMON Manuals: Even more car manuals for everyone: 1960-2025
Home >> Lexus >> 2007 >> LS 460L >> Repair and Diagnosis >> External Pages >> Different car >> Section 154 (Brake Control System) >> VDC/TCS/Abs >> System Description >> System Components
April 5, 2026: LEMON Manuals is launched! Read the announcement.

System Components

WARNING: This page is about a different car, the 2004 Nissan Maxima. However, it is still accessible from the selected car via links, so may be relevant.
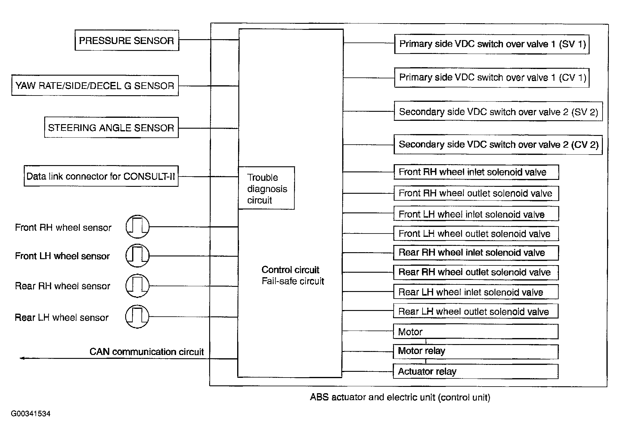
Fig 1: Identifying System Components
G00341534Courtesy of NISSAN MOTOR CO., U.S.A.