LEMON Manuals: Even more car manuals for everyone: 1960-2025
Home >> Lexus >> 2007 >> LS 460L >> Repair and Diagnosis >> External Pages >> Different car >> Section 361 (Body Control System) >> BCM (Body Control Module) >> System Description >> Combination Switch Reading Function
April 5, 2026: LEMON Manuals is launched! Read the announcement.

Combination Switch Reading Function

WARNING: This page is about a different car, the 2006 Nissan Pathfinder. However, it is still accessible from the selected car via links, so may be relevant.
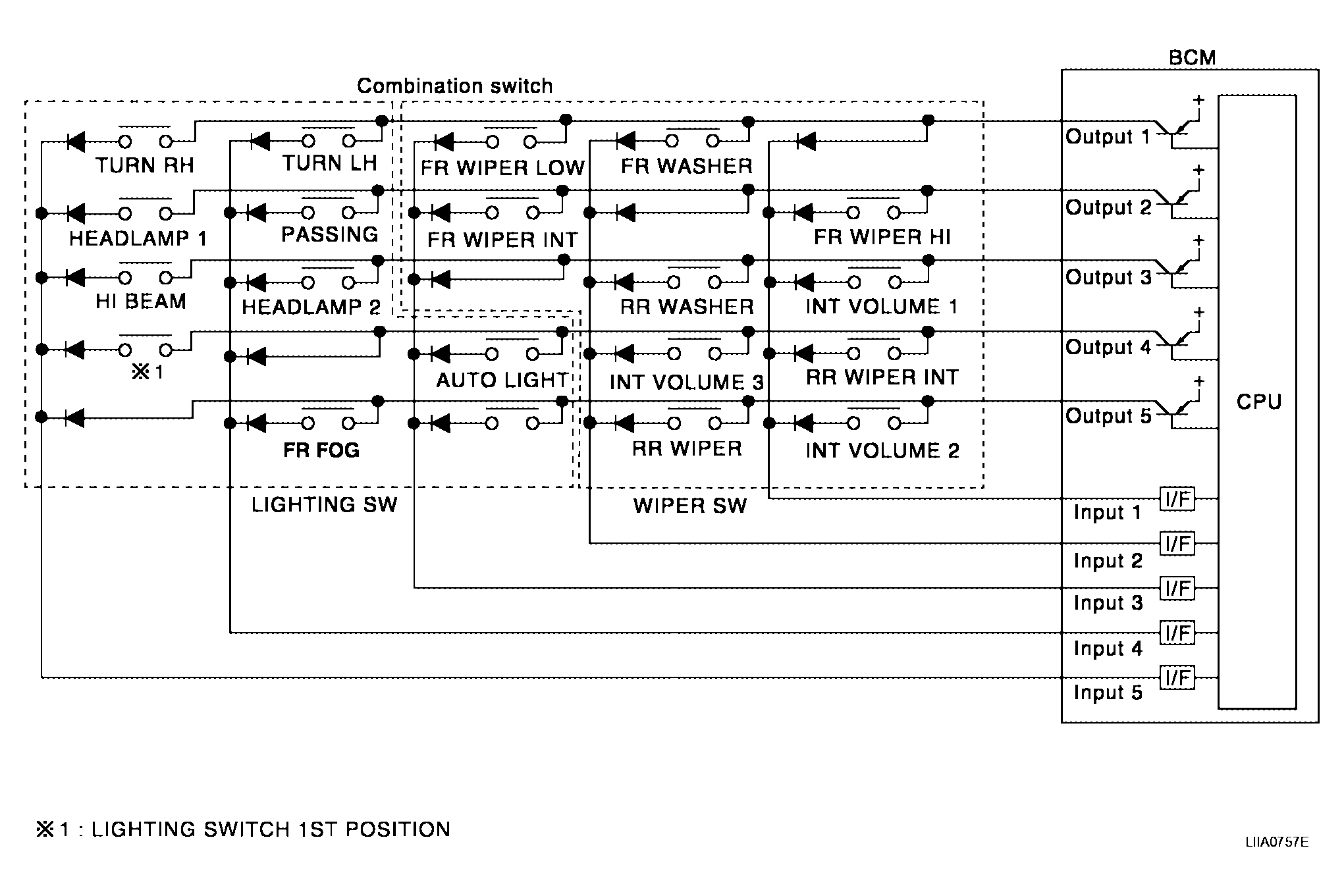
  1. Description
    • BCM reads combination switch (light, wiper) status, and controls various electrical components according to the results.
    • BCM reads information of a maximum of 20 switches by combining five output terminals (OUTPUT 1-5) and five input terminals (INPUT 1-5).
  2. Operation description
    • BCM activates transistors of output terminals (OUTPUT 1-5) periodically and allows current to flow in turn.
    • If any (1 or more) of the switches are turned ON, circuit of output terminals (OUTPUT 1-5) and input terminals (INPUT 1-5) becomes active.
    • At this time, transistors of output terminals (OUTPUT 1-5) are activated to allow current to flow. When voltage of input terminals (INPUT 1-5) corresponding to that switch changes, interface in BCM detects voltage change and BCM determines that switch is ON.
      Fig 1: Combination Switch - Wiring Diagram
      G04177203Courtesy of NISSAN MOTOR CO., U.S.A.
  3. BCM - Operation table of combination switch
    • BCM reads operation status of combination switch by the combination shown in the following table.
    Fig 2: Combination Switch 1st Position Table
    G04177204Courtesy of NISSAN MOTOR CO., U.S.A.
    NOTE: Headlamp has a dual system switch.
  4. Example operation: (When lighting switch 1st position turned ON)
    • When lighting switch 1st position is turned ON, contact in combination switch turns ON. At this time if OUTPUT 4 transistor is activated, BCM detects that voltage changes in INPUT 5.
    • When OUTPUT 4 transistor is ON, BCM detects that voltage changes in INPUT 5, and judges lighting switch 1st position is ON. Then BCM sends tail lamp ON signal to IPDM E/R using CAN communication.
    • When OUTPUT 4 transistor is activated again, BCM detects that voltage changes in INPUT 5 and recognizes that lighting switch 1st position is continuously ON.
    Fig 3: Combination Switch - Wiring Diagram
    G04177205Courtesy of NISSAN MOTOR CO., U.S.A.
    NOTE: Each OUTPUT terminal transistor is activated at 10ms intervals. Therefore, after a switch is turned ON, electrical loads are activated with a time delay. But this time delay is so short that it cannot be noticed.
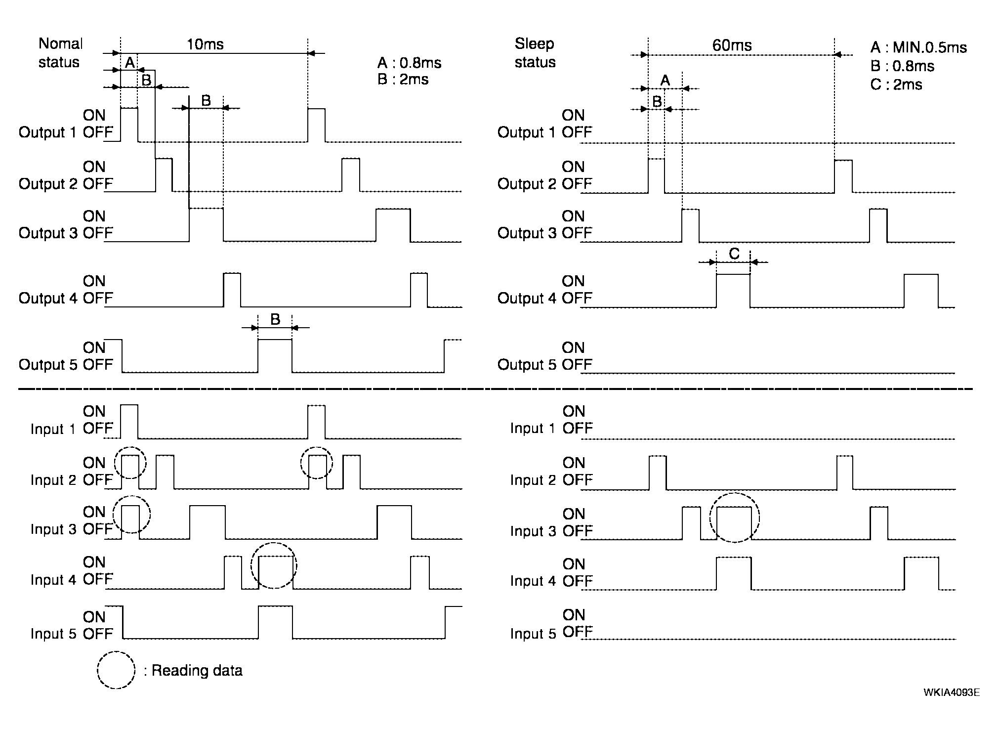
  5. Operation mode
    • Combination switch reading function has operation modes as follows:

    Normal status

    • When BCM is not in sleep status, OUTPUT terminals (1-5) each turn ON-OFF every 10 ms.

    Sleep status

    • When BCM is in sleep mode, transistors of OUTPUT 1 and 5 stop the output, and BCM enters low-current- consumption mode. OUTPUTS (2, 3, and 4) turn ON-OFF at 60ms intervals, and receives lighting switch input only.
      Fig 4: Combination Switch Operation Modes Blinking Pattern
      G04177206Courtesy of NISSAN MOTOR CO., U.S.A.