LEMON Manuals: Even more car manuals for everyone: 1960-2025
Home >> Lexus >> 2007 >> LS 460L >> Repair and Diagnosis >> External Pages >> Different car >> Section 613 (Heater & Air Conditioning Control System) >> With Monochrome Display >> Function Diagnosis >> Automatic Air Conditioner System >> System Diagram >> Control System
April 5, 2026: LEMON Manuals is launched! Read the announcement.

Control System

WARNING: This page is about a different car, the 2009 Nissan Maxima. However, it is still accessible from the selected car via links, so may be relevant.

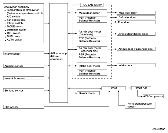
The control system consists of input sensors, switches, the A/C auto amp. (microcomputer) and outputs. The relationship of these components is as shown in the figure below:

Fig 1: Automatic Air Conditioner System - System Diagram
G05876057Courtesy of NISSAN MOTOR CO., U.S.A.