LEMON Manuals: Even more car manuals for everyone: 1960-2025
Home >> Lexus >> 2007 >> LS 460L >> Repair and Diagnosis >> External Pages >> Different car >> Section 64 (Transfer Case) >> Transfer Assembly >> Disassembly And Assembly >> Assembly
April 5, 2026: LEMON Manuals is launched! Read the announcement.

Disassembly And Assembly: Assembly

WARNING: This page is about a different car, the 2004 Nissan Titan. However, it is still accessible from the selected car via links, so may be relevant.
  1. Install breather tube, with plastic hammer.
    CAUTION: Pay attention to the direction of breather tube.
    Fig 1: Installing Breather Tube
    G00728911Courtesy of NISSAN MOTOR CO., U.S.A.
  2. Install baffle plate to front case, and tighten bolt to the specified torque. Refer to COMPONENTS .
    CAUTION: When installing baffle plate, tighten bolt pressing it to the direction shown in the figure.
    Fig 2: Installing Baffle Plate
    G00728912Courtesy of NISSAN MOTOR CO., U.S.A.
  3. Install the input bearing to front case, using a drift.
    1. Tool number : ST30720000 (J25405) 
    Fig 3: Installing Input Bearing
    G00728913Courtesy of NISSAN MOTOR CO., U.S.A.
  4. Install snap ring to front case.
    CAUTION: Do not reuse snap ring.
    Fig 4: Installing Snap Ring
    G00728914Courtesy of NISSAN MOTOR CO., U.S.A.
  5. Install internal gear with groove facing up into front case.
    Fig 5: Installing Internal Gear
    G00728915Courtesy of NISSAN MOTOR CO., U.S.A.
  6. Install snap ring to front case.
    CAUTION: Do not reuse snap ring.
    Fig 6: Installing Snap Ring
    G00728916Courtesy of NISSAN MOTOR CO., U.S.A.
  7. Install the sun gear assembly to front case with a press, using drift.
    1. Tool number : KV38100200 (-) 
    Fig 7: Installing Sun Gear Assembly
    G00728917Courtesy of NISSAN MOTOR CO., U.S.A.
  8. Install snap ring to sun gear.
    CAUTION: Do not reuse snap ring.

    Be careful not to damage the sun gear.

    Fig 8: Installing Snap Ring
    G00728918Courtesy of NISSAN MOTOR CO., U.S.A.
  9. Set L-H sleeve together with L-H shift fork assembly onto planetary carrier assembly.
    Fig 9: Installing L-H Sleeve & Shift Fork Assembly
    G00728919Courtesy of NISSAN MOTOR CO., U.S.A.
  10. Install control shift rod assembly to front case.
    CAUTION: Set pin of L-H shift fork assembly into the groove of dram cam.
  11. Turn control shift rod assembly to the fully.
    Fig 10: Installing Control Shift Rod Assembly
    G00728920Courtesy of NISSAN MOTOR CO., U.S.A.
  12. Install L-H shift rod assembly through L-H shift fork assembly opening to front case.
    CAUTION: Set pin of L-H shift rod assembly into the groove of dram cam.
  13. Install mainshaft to sun gear assembly.
  14. Apply ATF to spacer and periphery of needle bearing, install to mainshaft.
    Fig 11: Setting Pin Of L-H Shift Rod Assembly Into The Groove Of Dram Cam
    G00728921Courtesy of NISSAN MOTOR CO., U.S.A.
  15. Set front drive shaft and sprocket to drive chain.
    CAUTION: Identification mark of drive chain should be in the side of rear bearing of front drive shaft.
    Fig 12: Identifying Mark On Drive Chain
    G00728922Courtesy of NISSAN MOTOR CO., U.S.A.
  16. Install drive chain together with front drive shaft and sprocket to front case.
    Fig 13: Installing Drive Chain Together With Front Drive Shaft And Sprocket
    G00728923Courtesy of NISSAN MOTOR CO., U.S.A.
  17. Install 2-4 sleeve and 2-4 shift fork assembly to mainshaft.
    CAUTION: Be careful with orientation of 2-4 sleeve.
    Fig 14: Installing 2-4 Sleeve And 2-4 Shift Fork Assembly
    G00728924Courtesy of NISSAN MOTOR CO., U.S.A.
  18. Install snap ring to L-H shift rod assembly.
    CAUTION: Do not reuse snap ring.
  19. Install clutch gear to mainshaft.
    Fig 15: Installing Snap Ring
    G00728925Courtesy of NISSAN MOTOR CO., U.S.A.
  20. Install snap ring to mainshaft.
    CAUTION: Do not reuse snap ring.
  21. Install oil pump assembly to mainshaft.
    Fig 16: Installing Snap Ring
    G00728926Courtesy of NISSAN MOTOR CO., U.S.A.
  22. Install snap ring to mainshaft.
    CAUTION: Do not reuse snap ring.
    Fig 17: Installing Snap Ring
    G00728927Courtesy of NISSAN MOTOR CO., U.S.A.
  23. Install retainer to mainshaft.
    CAUTION: Set the projection of oil pump assembly to identification hole, and then align locating hole of retainer to L-H shift rod assembly.
    Fig 18: Installing Retainer
    G00728928Courtesy of NISSAN MOTOR CO., U.S.A.
  24. Install the mainshaft rear bearing to mainshaft, using drift.

    Tool number : KV32102700 (-) 

    CAUTION: Do not put on it too hard in order to avoid snap ring's becoming dislodged from mainshaft.
    Fig 19: Installing Mainshaft Rear Bearing
    G00728929Courtesy of NISSAN MOTOR CO., U.S.A.
  25. Install snap ring to mainshaft.
    CAUTION: Do not reuse snap ring.
  26. Install spacer to control shift rod.
    Fig 20: Installing Snap Ring
    G00728930Courtesy of NISSAN MOTOR CO., U.S.A.
  27. Apply liquid gasket to mating surface of front case.
    CAUTION: Remove old sealant adhering to mounting surfaces. Also remove any moisture, oil, or foreign material adhering to application and mounting surfaces.
  28. Install rear case to front case.
    Fig 21: Applying Liquid Gasket To Mating Surface
    G00728931Courtesy of NISSAN MOTOR CO., U.S.A.
  29. Tighten bolts to specified torque. Refer to COMPONENTS .
    Fig 22: Tightening Bolts
    G00728932Courtesy of NISSAN MOTOR CO., U.S.A.
  30. Set gaskets to retainer fixing bolts and tighten it to the specified torque. Refer to COMPONENTS .
    CAUTION:
    • Do not reuse gasket.
    • Tighten them to the specified torque again.
    Fig 23: Installing Retainer Fixing Bolts
    G00728933Courtesy of NISSAN MOTOR CO., U.S.A.
  31. Install input oil seal to front case, using drift.
    1. Dimension A : 4.0 - 4.6 mm (0.157 - 0.181 in) 
    2. Tool number A: ST30720000 (J25405) 
    3. B: KV40104830 (-) 
    CAUTION:
    • Do not reuse oil seal.
    • Apply petroleum jelly to oil seal.
    Fig 24: Installing NEW Input Oil Seal
    G00728934Courtesy of NISSAN MOTOR CO., U.S.A.
  32. Install rear oil seal until it is flush with end face of rear case, using drift.
    1. Tool number : KV38100500 (-) 
    CAUTION:
    • Do not reuse oil seal.
    • Apply petroleum jelly to oil seal.
    Fig 25: Installing NEW Rear Oil Seal
    G00728935Courtesy of NISSAN MOTOR CO., U.S.A.
  33. Install dust cover to rear case, using drift.
    1. Tool number : KV40105310 (-) 
    CAUTION:
    • Do not reuse dust cover.
    • Apply petroleum jelly to dust cover.
      Fig 26: Installing NEW Dust Cover
      G00728936Courtesy of NISSAN MOTOR CO., U.S.A.
    • Be sure to align identification mark at top of transfer as shown. 
    • Fig 27: Aligning Identification Mark
      G00728937Courtesy of NISSAN MOTOR CO., U.S.A.
  34. Apply sealant to threads of wait detection switch (gray). Then install it to rear case and tighten to the specified torque. Refer to COMPONENTS .
    CAUTION: Remove old sealant and oil adhering to threads.
    Fig 28: Installing Wait Detection Switch
    G00728938Courtesy of NISSAN MOTOR CO., U.S.A.
  35. Apply sealant to threads of 4LO switch (green) and ATP switch (black). Then install them to front case and tighten to the specified torque. Refer to COMPONENTS .
    CAUTION: Remove old sealant and oil adhering to threads.
    Fig 29: Installing Switches
    G00728939Courtesy of NISSAN MOTOR CO., U.S.A.
  36. Install front oil seal until it is flush with end face of front case, using drift.
    1. Tool number : KV38100500 (-) 
    CAUTION:
    • Do not reuse oil seal.
    • Apply petroleum jelly to oil seal.
    Fig 30: Installing NEW Front Oil Seal
    G00728940Courtesy of NISSAN MOTOR CO., U.S.A.
  37. Install companion flange while align the matchmark of front drive shaft with the mark of companion flange.
    Fig 31: Installing Companion Flange
    G00728941Courtesy of NISSAN MOTOR CO., U.S.A.
  38. Tighten self-lock nut to the specified torque, with flange wrench. Refer to COMPONENTS .
    CAUTION: Do not reuse self-lock nut.
  39. Install O-ring to transfer control device.
    CAUTION:
    • Do not reuse O-ring.
    • Apply petroleum jelly.
    Fig 32: Installing Self-Lock Nut
    G00728942Courtesy of NISSAN MOTOR CO., U.S.A.
  40. Install transfer control device to rear case.
    1. Turn control shift rod fully counterclockwise using flat-bladed screwdriver, and then put mark on control shift rod.
      Fig 33: Installing Transfer Control Device
      G00728943Courtesy of NISSAN MOTOR CO., U.S.A.
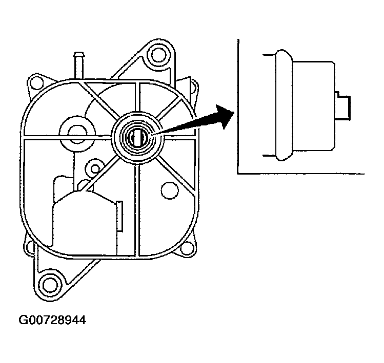
    2. Align transfer control device shaft cutout with mark on control shift rod, and install.
      NOTE: Turn transfer control device when transfer control device connection does not match.
      Fig 34: Aligning Transfer Control Device
      G00728944Courtesy of NISSAN MOTOR CO., U.S.A.
    3. Tighten bolts to the specified torque. Refer to COMPONENTS .
    Fig 35: Tightening Bolts
    G00728945Courtesy of NISSAN MOTOR CO., U.S.A.
  41. Set gasket to drain plug and filler plug. Install them to rear case and tighten to the specified torque. Refer to COMPONENTS .
CAUTION: Do not reuse gasket.