LEMON Manuals: Even more car manuals for everyone: 1960-2025
Home >> Lexus >> 2007 >> LS 460L >> Repair and Diagnosis >> External Pages >> Different car >> Section 64 (Transfer Case) >> Transfer Control Device >> Removal And Installation >> Installation
April 5, 2026: LEMON Manuals is launched! Read the announcement.

Removal And Installation: Installation

WARNING: This page is about a different car, the 2004 Nissan Titan. However, it is still accessible from the selected car via links, so may be relevant.
  1. Install O-ring to transfer control device.
    CAUTION:
    • Do not reuse O-ring.
    • Apply petroleum jelly.
    Fig 1: Installing NEW O-Ring
    G00728874Courtesy of NISSAN MOTOR CO., U.S.A.
  2. Install transfer control device.
    1. Turn control shift rod fully counterclockwise using flat-bladed screwdriver, and then put mark on control shift rod.
      Fig 2: Turn Control Shift Rod And Mark
      G00728875Courtesy of NISSAN MOTOR CO., U.S.A.
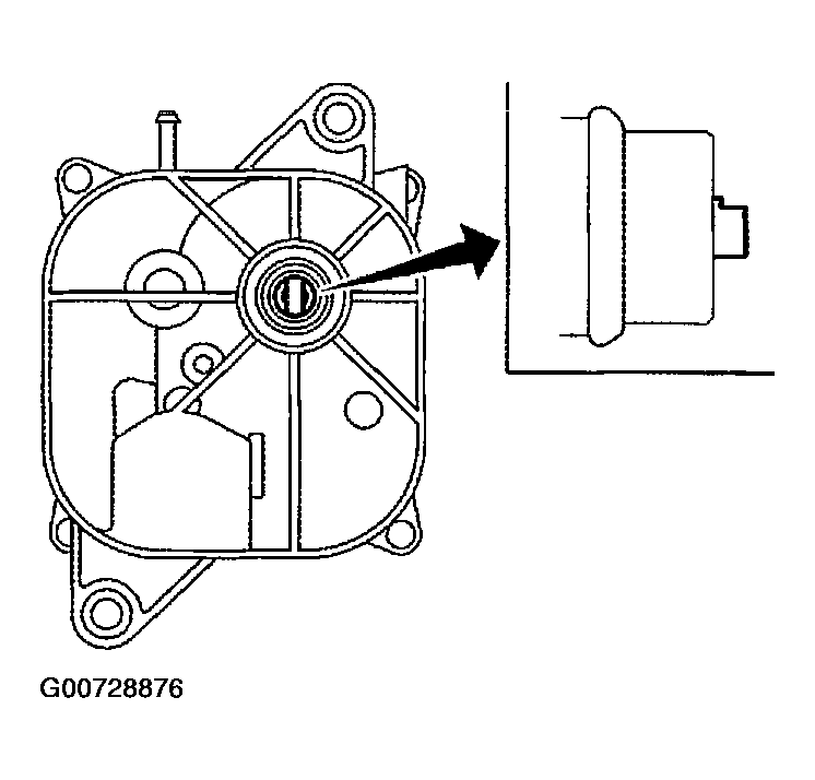
    2. Align transfer control device shaft cutout with mark on control shift rod, and install.
      NOTE: Turn transfer control device when transfer control device connection does not match.
      Fig 3: Aligning Transfer Control Device Shaft Cutout
      G00728876Courtesy of NISSAN MOTOR CO., U.S.A.
    3. Tighten bolts to the specified torque. Refer to COMPONENTS .
  3. Install breather hose to transfer control device.
  4. Connect transfer control device harness connector.
  5. After the installation, check 4WD shift indicator pattern. If NG, adjust position between transfer assembly and transfer control unit. Refer to PRECAUTIONS FOR TRANSFER ASSEMBLY AND TRANSFER CONTROL UNIT REPLACEMENT .
Fig 4: Locating Transfer Control Device
G00728877Courtesy of NISSAN MOTOR CO., U.S.A.