LEMON Manuals: Even more car manuals for everyone: 1960-2025
Home >> Lexus >> 2007 >> LS 460L >> Repair and Diagnosis >> External Pages >> Different car >> Section 747 (Engine Control System - Introduction) >> Precautions >> Precaution
April 5, 2026: LEMON Manuals is launched! Read the announcement.

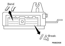
Section 747 (Engine Control System - Introduction): Precautions: Precaution

WARNING: This page is about a different car, the 2008 Nissan Maxima. However, it is still accessible from the selected car via links, so may be relevant.