LEMON Manuals: Even more car manuals for everyone: 1960-2025
Home >> Lexus >> 2007 >> LS 460L >> Repair and Diagnosis >> External Pages >> Different car >> Section 764 (Engine Control System - Component Testing) >> Fuel Pump >> Diagnostic Procedure
April 5, 2026: LEMON Manuals is launched! Read the announcement.

Diagnostic Procedure

WARNING: This page is about a different car, the 2007 Nissan Quest. However, it is still accessible from the selected car via links, so may be relevant.
  1. CHECK OVERALL FUNCTION
    1. Turn ignition switch ON.
    2. Pinch fuel feed hose with two fingers.

      Fuel pressure pulsation should be felt on the fuel feed hose for 1 second after ignition switch is turned ON. 

    OK or NG 

    OK: INSPECTION END 

    NG: GO TO 2.

    Fig 1: Identifying Fuel Feed Hose And Throttle Plate
    G04905858Courtesy of NISSAN NORTH AMERICA, INC.
  2. CHECK FUEL PUMP POWER SUPPLY CIRCUIT-I 
    1. Turn ignition switch OFF.
    2. Disconnect ECM harness connector.
    3. Turn ignition switch ON.
    4. Check voltage between ECM terminal 113 and ground with CONSULT-II or tester.

      Voltage: Battery voltage 

    OK or NG 

    OK: GO TO  4.

    NG: GO TO 3.

    Fig 2: Checking Voltage Between ECM Terminal 113 And Ground
    G04900786Courtesy of NISSAN NORTH AMERICA, INC.
  3. CHECK FUEL PUMP POWER SUPPLY CIRCUIT-I 
    1. Turn ignition switch OFF.
    2. Disconnect IPDM E/R harness connector E124.
    3. Check harness continuity between IPDM E/R terminal 40 and ECM terminal 113. Refer to WIRING DIAGRAM .

      Continuity should exist. 

    4. Also check harness for short to ground and short to power.

    OK or NG 

    OK: GO TO  13.

    NG: Repair open circuit or short to power or short to ground in harness or connectors.

  4. CHECK CONDENSER-2 POWER SUPPLY CIRCUIT-I 
    1. Turn ignition switch OFF.
    2. Reconnect all harness connectors disconnected.
    3. Disconnect condenser-2 harness connector.
    4. Turn ignition switch ON.
    5. Check voltage between condenser-2 terminal 1 and ground with CONSULT-II or tester.

      Voltage: Battery voltage should exist for 1 second after ignition switch is turned ON. 

    OK or NG 

    OK: GO TO  8.

    NG: GO TO 5.

    Fig 3: Checking Voltage Between Condenser-2 Terminal 1 And Ground
    G04875485Courtesy of NISSAN NORTH AMERICA, INC.
  5. CHECK 15A FUSE 
    1. Turn ignition switch OFF.
    2. Disconnect 15A fuse.
    3. Check 15A fuse.

    OK or NG 

    OK: GO TO 6.

    NG: Replace fuse.

  6. CHECK CONDENSER-2 POWER SUPPLY CIRCUIT-II 
    1. Disconnect IPDM E/R harness connector E124.
    2. Check harness continuity between IPDM E/R terminal 39 and condenser-2 terminal 1. Refer to WIRING DIAGRAM .

      Continuity should exist. 

    3. Also check harness for short to ground and short to power.

    OK or NG 

    OK: GO TO  13.

    NG: GO TO 7.

  7. DETECT MALFUNCTIONING PART 

    Check the following.

    • Harness connectors B107, E139
    • Harness for open or short between IPDM E/R and condenser-2

    : Repair harness or connectors.

  8. CHECK CONDENSER-2 GROUND CIRCUIT FOR OPEN AND SHORT 
    1. Check harness continuity between condenser-2 terminal 2 and ground. Refer to WIRING DIAGRAM .

      Continuity should exist. 

    2. Also check harness for short to power.

    OK or NG 

    OK: GO TO 9.

    NG: Repair open circuit or short to power in harness or connectors.

  9. CHECK CONDENSER-2 

    Refer to "COMPONENT INSPECTION ".

    OK or NG 

    OK: GO TO 10.

    NG: Replace condenser-2.

  10. CHECK FUEL PUMP POWER SUPPLY AND GROUND CIRCUIT FOR OPEN AND SHORT 
    1. Turn ignition switch OFF.
    2. Disconnect "fuel level sensor unit and fuel pump" harness connector.
    3. Disconnect harness connectors E139, B107
    4. Check harness continuity between "fuel level sensor unit and fuel pump" terminal 1 and harness connector B107 terminal 1"fuel level sensor unit and fuel pump" terminal 3 and ground.

      Refer to WIRING DIAGRAM .

      Continuity should exist. 

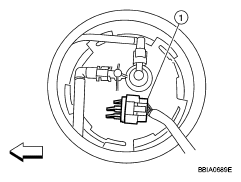
      Fig 4: Identifying Fuel Level Sensor Connector
      G04905433Courtesy of NISSAN NORTH AMERICA, INC.
    5. Also check harness for short to ground and short to power.

    OK or NG 

    OK: GO TO  12.

    NG: GO TO 11.

  11. DETECT MALFUNCTIONING PART 

    Check the following.

    • Harness connector B107
    • Harness connectors B148, E251
    • Harness for open or short between harness connector B107 and "fuel level sensor unit and fuel pump"
    • Harness for open or short between "fuel level sensor unit and fuel pump" and ground

    : Repair harness or connectors.

  12. CHECK FUEL PUMP 

    Refer to "COMPONENT INSPECTION ".

    OK or NG 

    OK: GO TO 13.

    NG: Replace "fuel level sensor unit and fuel pump".

  13. CHECK INTERMITTENT INCIDENT 

    Refer to "TROUBLE DIAGNOSIS FOR INTERMITTENT INCIDENT ".

    OK or NG 

    OK: Replace IPDM E/R. Refer to "IPDM E/R (INTELLIGENT POWER DISTRIBUTION MODULE ENGINE ROOM) ".

    NG: Repair or replace harness or connectors.