LEMON Manuals: Even more car manuals for everyone: 1960-2025
Home >> Lexus >> 2007 >> LS 460L >> Repair and Diagnosis >> Transmission >> Automatic Trans >> Automatic Transaxle >> Valve Body Assembly >> Inspection
April 5, 2026: LEMON Manuals is launched! Read the announcement.

Valve Body Assembly: Inspection

  1. INSPECT SHIFT SOLENOID VALVE SL1 
    Fig 1: Checking Shift Solenoid Valve SL1
    G04948492Courtesy of © TOYOTA, LICENSE AGREEMENT TMS1002
    1. Measure the resistance of the shift solenoid valve.

      Standard resistance 

      TESTER CONNECTION SPECIFIED CONDITION CHART

      Tester Connection Condition Specified Condition
      Terminal 1 of the shift solenoid valve SL1 -Terminal 2 20°C (68°F) 5.0 to 5.6 Ω

      If the resistance is not within the specified range, replace the shift solenoid valve SL1.

    2. Connect the battery's positive (+) lead with a 21 W bulb to terminal 2 and the negative (-) lead to terminal 1 of the solenoid valve connector. Then check that the valve moves and makes an operating noise.

      OK: Valve moves and makes operating noise. 

  2. INSPECT SHIFT SOLENOID VALVE SL2 
    Fig 2: Checking Shift Solenoid Valve SL2
    G04948493Courtesy of © TOYOTA, LICENSE AGREEMENT TMS1002
    1. Measure the resistance of the shift solenoid valve.

      Standard resistance 

      TESTER CONNECTION SPECIFIED CONDITION CHART

      Tester Connection Condition Specified Condition
      Terminal 1 of the shift solenoid valve SL2 -Terminal 2 20°C (68°F) 5.0 to 5.6 Ω

      If the resistance is not within the specified range, replace the shift solenoid valve SL2.

    2. Connect the battery's positive (+) lead with a 21 W bulb to terminal 2 and the negative (-) lead to terminal 1 of the solenoid valve connector. Then check that the valve moves and makes an operating noise.

      OK: Valve moves and makes operating noise. 

  3. INSPECT SHIFT SOLENOID VALVE SL3 
    Fig 3: Checking Shift Solenoid Valve SL3
    G04948494Courtesy of © TOYOTA, LICENSE AGREEMENT TMS1002
    1. Measure the resistance of the shift solenoid valve.

      Standard resistance 

      TESTER CONNECTION SPECIFIED CONDITION CHART

      Tester Connection Condition Specified Condition
      Terminal 1 of the shift solenoid valve SL3 -Terminal 2 20°C (68°F) 5.0 to 5.6 Ω

      If the resistance is not within the specified range, replace the shift solenoid valve SL3.

    2. Connect the battery's positive (+) lead with a 21 W bulb to terminal 2 and the negative (-) lead to terminal 1 of the solenoid valve connector. Then check that the valve moves and makes an operating noise.

      OK: Valve moves and makes operating noise. 

  4. INSPECT SHIFT SOLENOID VALVE SL4 
    Fig 4: Checking Shift Solenoid Valve SL4
    G04948495Courtesy of © TOYOTA, LICENSE AGREEMENT TMS1002
    1. Measure the resistance of the shift solenoid valve.

      Standard resistance 

      TESTER CONNECTION SPECIFIED CONDITION CHART

      Tester Connection Condition Specified Condition
      Terminal 1 of the shift solenoid valve SL4 - Terminal 2 20°C (68°F) 5.0 to 5.6 Ω

      If the resistance is not within the specified range, replace the shift solenoid valve SL4.

    2. Connect the battery's positive (+) lead with a 21 W bulb to terminal 2 and the negative (-) lead to terminal 1 of the solenoid valve connector. Then check that the valve moves and makes an operating noise.

      OK: Valve moves and makes operating noise. 

  5. INSPECT SHIFT SOLENOID VALVE SL5 
    Fig 5: Checking Shift Solenoid Valve SL5
    G04948496Courtesy of © TOYOTA, LICENSE AGREEMENT TMS1002
    1. Measure the resistance of the shift solenoid valve.

      Standard resistance 

      TESTER CONNECTION SPECIFIED CONDITION CHART

      Tester Connection Condition Specified Condition
      Terminal 1 of the shift solenoid valve SL5 -Terminal 2 20°C (68°F) 5.0 to 5.6 Ω

      If the resistance is not within the specified range, replace the shift solenoid valve SL5.

    2. Connect the battery's positive (+) lead with a 21 W bulb to terminal 2 and the negative (-) lead to terminal 1 of the solenoid valve connector. Then check that the valve moves and makes an operating noise.

      OK: Valve moves and makes operating noise. 

  6. INSPECT SHIFT SOLENOID VALVE SL 
    Fig 6: Checking Shift Solenoid Valve SL
    G04948497Courtesy of © TOYOTA, LICENSE AGREEMENT TMS1002
    1. Measure the resistance of the shift solenoid valve.

      Standard resistance 

      TESTER CONNECTION SPECIFIED CONDITION CHART

      Tester Connection Condition Specified Condition
      Shift solenoid valve SL connector - Shift solenoid valve SL body 20°C(68°F) 11 to 15 Ω

      If the resistance is not within the specified range, replace the shift solenoid valve SL.

    2. Connect the battery's positive (+) lead to the terminal of the solenoid valve connector, and the negative (-) lead to the solenoid body. Then check that the valve moves and makes an operating noise.

      OK: Valve moves and makes operating noise. 

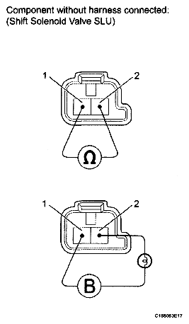
  7. INSPECT SHIFT SOLENOID VALVE SLU 
    Fig 7: Checking Shift Solenoid Valve SLU
    G04948498Courtesy of © TOYOTA, LICENSE AGREEMENT TMS1002
    1. Measure the resistance of the shift solenoid valve.

      Standard resistance 

      TESTER CONNECTION SPECIFIED CONDITION CHART

      Tester Connection Condition Specified Condition
      Terminal 1 of the shift solenoid valve SLU - Terminal 2 20°C (68°F) 5.0 to 5.6 Ω

      If the resistance is not within the specified range, replace the shift solenoid valve SLU.

    2. Connect the battery's positive (+) lead with a 21 W bulb to terminal 2 and the negative (-) lead to terminal 1 of the solenoid valve connector. Then check that the valve moves and makes an operating noise.

      OK: Valve moves and makes operating noise. 

  8. INSPECT SHIFT SOLENOID VALVE SLT 
    Fig 8: Checking Shift Solenoid Valve SLT
    G04948499Courtesy of © TOYOTA, LICENSE AGREEMENT TMS1002
    1. Measure the resistance of the shift solenoid valve.

      Standard resistance 

      TESTER CONNECTION SPECIFIED CONDITION CHART

      Tester Connection Condition Specified Condition
      Terminal 1 of the shift solenoid valve SLT - Terminal 2 20°C (68°F) 5.0 to 5.6 Ω

      If the resistance is not within the specified range, replace the shift solenoid valve SLT.

    2. Connect the battery's positive (+) lead with a 21 W bulb to terminal 2 and the negative (-) lead to terminal 1 of the solenoid valve connector. Then check that the valve moves and makes an operating noise.

      OK: Valve moves and makes operating noise. 

  9. INSPECT SHIFT SOLENOID VALVE SR 
    Fig 9: Checking Shift Solenoid Valve SR
    G04948500Courtesy of © TOYOTA, LICENSE AGREEMENT TMS1002
    1. Measure the resistance of the shift solenoid valve.

      Standard resistance 

      TESTER CONNECTION SPECIFIED CONDITION CHART

      Tester Connection Condition Specified Condition
      Shift solenoid valve SR connector - Shift solenoid valve SR body 20°C (68°F) 11 to 15Ω

      If the resistance is not within the specified range, replace the shift solenoid valve SR.

    2. Connect the battery's positive (+) lead to the terminal of the solenoid valve connector, and the negative (-) lead to the solenoid body. Then check that the valve moves and makes an operating noise.

      OK: Valve moves and makes operating noise.