LEMON Manuals: Even more car manuals for everyone: 1960-2025
Home >> Lexus >> 2007 >> LX 470 V8-4.7L (2UZ-FE) >> Repair and Diagnosis >> Powertrain Management >> Computers and Control Systems >> Information Bus >> Testing and Inspection >> Component Tests and General Diagnostics >> Gateway ECU Communication Stop Mode
April 5, 2026: LEMON Manuals is launched! Read the announcement.

Gateway ECU Communication Stop Mode

Gateway ECU Communication Stop Mode




DESCRIPTION

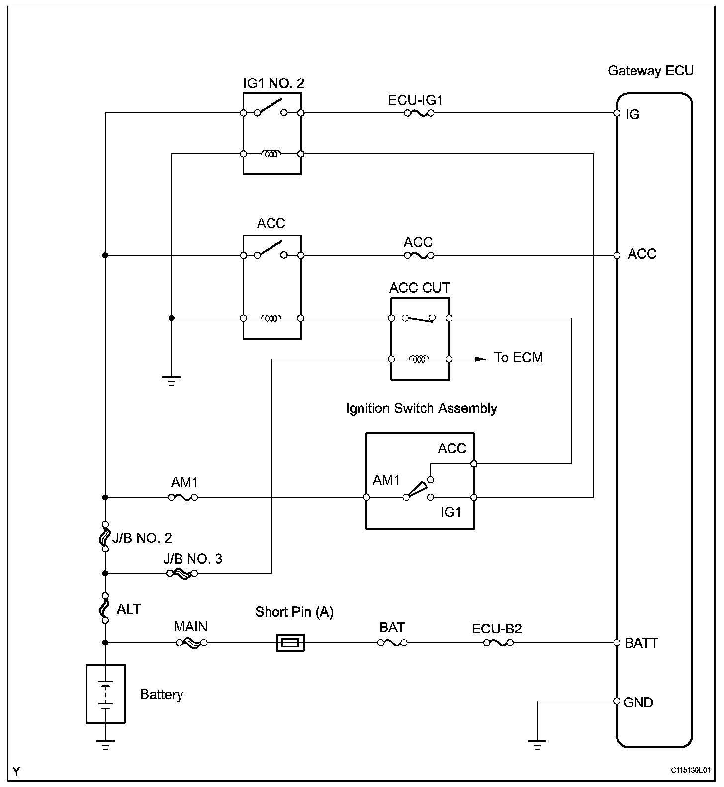
Wiring Diagram:






Step 1:




INSPECTION PROCEDURE