LEMON Manuals: Even more car manuals for everyone: 1960-2025
Home >> Lexus >> 2007 >> LX 470 >> Repair and Diagnosis >> Accessories & Equipment >> Entertainment Systems >> Audio / Visual >> Audio And Visual System >> DTC Check / Clear
April 5, 2026: LEMON Manuals is launched! Read the announcement.

DTC Check / Clear

  1. CHECK DIAGNOSTIC CODE (MAIN AVC-LAN) 
    Fig 1: Checking Diagnostic Code (Main AVC-LAN)
    G04065296Courtesy of © TOYOTA, LICENSE AGREEMENT TMS1002
    1. Starting diagnostic mode
      1. Turn off the audio system and turn the ignition switch to ACC. While pressing the preset switches "1" and "6" at the same time, press the "DISC" switch 3 times.

      HINT:

      • When the system enters the diagnostic mode, a "beep" sound is emitted 3 times and all the elements turn on during the switch check mode.
      • It takes about 40 seconds to complete the check.
      • All elements on the LCD will illuminate.
      • When pressing a switch, confirm that a "beep" sound is emitted.
    2. Service check screen
      1. Press the "SEEK TRACK UP" switch to enter the "Service Check Screen".
      2. In the service check mode, the system check and diagnostic memory check are performed, and the physical address (component code) check results are displayed in the numerical order.
      TERMS MEANING

      Terms Meaning
      Physical address (component code) Three-digit code (in hexadecimal) given to each component of AVC-LAN. Individual symbol is provided corresponding to each function.
      Logical address Two-digit code (in hexadecimal) given to each function and component unit in each component of AVC-LAN.

      Code No. (physical address) List 

      CODE NO. (PHYSICAL ADDRESS) LIST

      Code No. (physical address) Equipment Name
      190 Radio receiver assembly (audio head unit)
      440 Stereo component amplifier
      1FA Stereo component controller assembly (RSA Panel)
    3. Finishing diagnostic mode
      1. Press the "DISC" switch for 2 seconds or more, or turn the ignition switch OFF.
    4. Service check mode result display (for checking the current and the past system conditions)
      1. Press the "SEEK TRACK" switch to see the check result of each component.
        Fig 2: Identifying Service Check Mode Result Display
        G04065297Courtesy of © TOYOTA, LICENSE AGREEMENT TMS1002
      2. Check result display
        CHECK RESULT DISPLAY

        Display Original Language Meaning Action to be taken
        good Good (normal) No DTC are detected in both "System Check Mode" and "Diagnostic Memory Mode". -
        nCon No connection System recognized component when it was registered, but component gives no response to "Diagnostic Mode ON Request". Check power source circuit and communication circuit of component indicated by component code (physical address).
        ECHn Exchange One or more DTCs for "Exchange" are detected in either "System Check Mode" or "Diagnostic Memory Mode". Go to detailed information mode to check trouble area on DTC list.
        CHEC Check When no DTCs are detected for "Exchange", one or more DTCs for "Check" are detected in either "System Check Mode" or "Diagnostic Memory Mode". Go to detailed information mode to check trouble area on DTC list.
        OLd Old version Old DTC application is identified and DTC is detected in either "System Check Mode" or "Diagnostic Memory Mode". -
        nrES No response Device gives no response to "System Check Result Request" or "Diagnostic Memory Request". Check power source circuit and communication circuit of component indicated by component code (physical address).
      3. To perform the service check again, press the preset switch "1".
    5. Detailed information mode (when displaying the DTC for a trouble component)
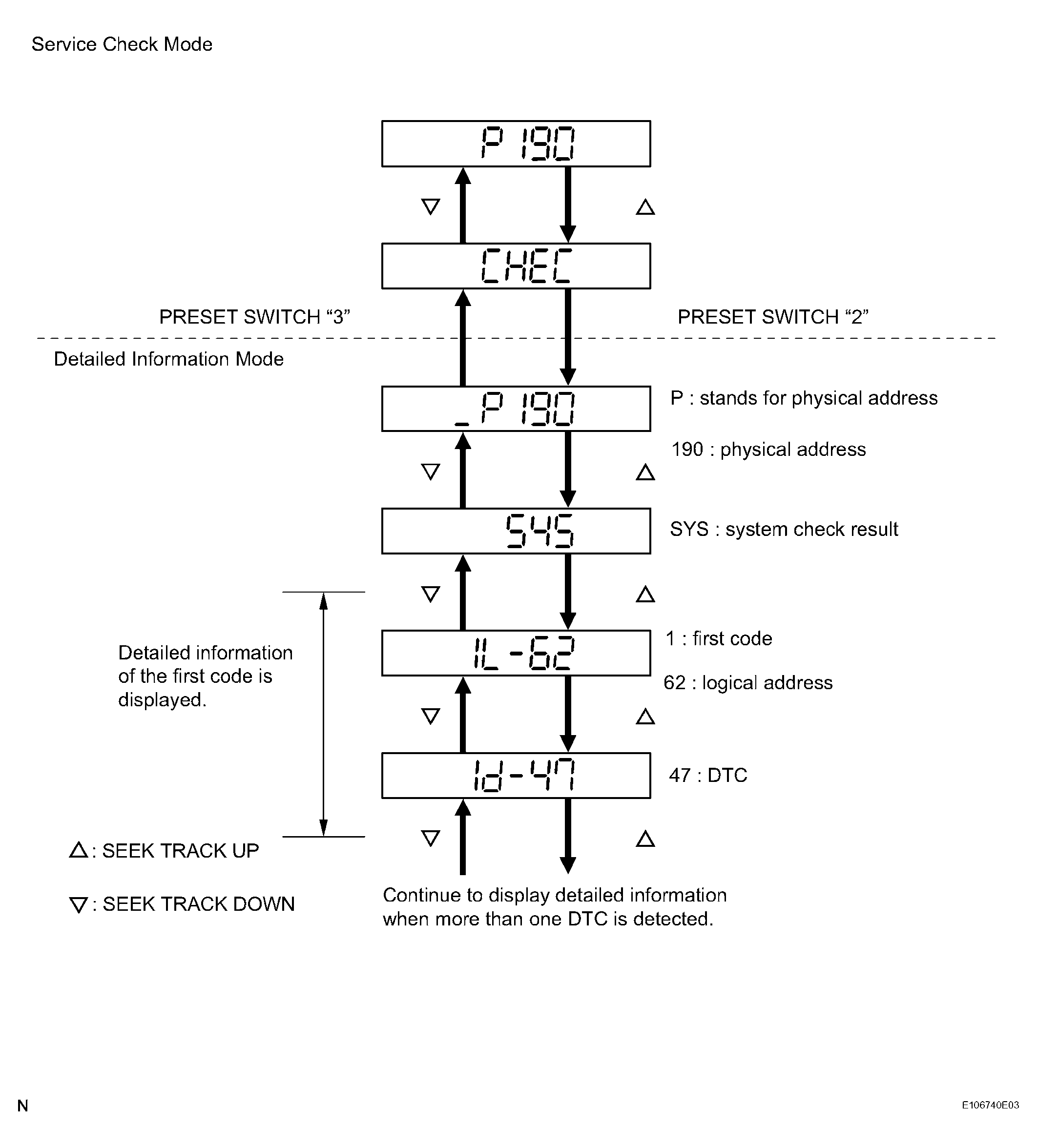
      1. With "CHEC" or "ECHn" being displayed, press the preset switch "2" to go to the detailed information mode.
      2. Press the "SEEK TRACK" switch to display the "System Check Result (SYS)" and "Diagnostic Memory Response (CODE)".
        Fig 3: Identifying System Check Result (SYS)" And "Diagnostic Memory Response (Code)" Display (1 Of 2)
        G04065298Courtesy of © TOYOTA, LICENSE AGREEMENT TMS1002
        Fig 4: Identifying System Check Result (SYS)" And "Diagnostic Memory Response (Code)" Display (2 Of 2)
        G04065299Courtesy of © TOYOTA, LICENSE AGREEMENT TMS1002
      3. Displayed items in detailed information mode
        DISPLAYED ITEMS IN DETAILED INFORMATION MODE

        Division Code for DTC Display Meaning Order of detailed information displayed when "SEEK TRACK UP" switch is pressed (order is reversed when 'SEEK TRACK DOWN' switch is pressed)
        SYS System check result is displayed
        1. Logical address
        2. DTC
        CODE Diagnostic memory check result is displayed.
        • Logical address
        • DTC
        • Sub-code
        • Connection confirmation number
        • Number of times of occurrence
      4. Check the trouble area on the DTC list.
      5. To return to the service check mode, press the preset switch "3".
  2. CLEAR DTC (MAIN AVC-LAN) 
    1. Clearing an individual DTC from memory (when clearing memory of DTCs detected in the past individually)
      1. Press the preset switch "5" for 2 seconds or more while "ECHn" is displayed in the service check mode or during the detailed information mode.

      HINT:

      • A "beep" sound is emitted once when the DTC memory is completely cleared.
      • When the DTC memory is cleared, only the component code (physical address) is displayed for the target component.
      • To check DTCs, press the preset switch "1" and perform the service check again.
    2. Clearing the entire DTC memory (when clearing memory of all DTCs detected in the past)
      1. Start the diagnostic mode after repairing the trouble area.
      2. Press the preset switch "5" for 2 seconds or more ("CLR" is displayed at this time).

        HINT:

        • A "beep" sound is emitted once when the DTC memory is completely cleared.
        • When the DTC memory for all components is cleared, only the component codes (physical addresses) are displayed.
      3. Press the preset switch "1" to perform the service check again, and check that no DTCs are displayed for all of the component codes (physical address).
    3. Finishing diagnostic mode
      1. Press the "DISC" switch for 2 seconds or more, or turn the ignition switch OFF.
  3. CHECK DIAGNOSTIC CODE (SUB AVC-LAN) 
    1. Starting diagnostic mode
      1. If the Main AVC-LAN starts running diagnostic mode, the sub AVC-LAN automatically starts running diagnostic mode. Perform the diagnostic mode operation on the stereo component controller assembly panel.
      Fig 5: Checking Diagnostic Code (Sub AVC-LAN)
      G04065300Courtesy of © TOYOTA, LICENSE AGREEMENT TMS1002
    2. Service check screen
      1. Press the "TUNE UP" switch to enter the "Service Check Screen".
      2. In the service check mode, the system check and diagnostic memory check are performed, and the physical address (component code) check results are displayed in the numerical order.
      TERMS MEANING

      Terms Meaning
      Physical address (component code) Three-digit code (in hexadecimal) given to each component of AVC-LAN. Individual symbol is provided corresponding to each function.
      Logical address Two-digit code (in hexadecimal) given to each function and component unit in each component of AVC-LAN.

      Code No. (physical address) list 

      CODE NO. (PHYSICAL ADDRESS) LIST

      Code No. (physical address) Equipment Name
      1A0 Disc player changer (DVD Auto Player)
    3. Finishing diagnostic mode
      1. The finishing diagnostic mode is the same as Main AVC-LAN.
    4. Service check mode result display (for checking the current and the past system conditions)
      1. Press the "TUNE TRACK" switch to see the check result of each component.
        Fig 6: Identifying Service Check Mode Result Display
        G04065301Courtesy of © TOYOTA, LICENSE AGREEMENT TMS1002
      2. Check result display
        CHECK RESULT DISPLAY

        Display Original Language Meaning Action to be taken
        good Good (normal) No DTC are detected in both "System Check Mode" and "Diagnostic Memory Mode". -
        nCon No connection System recognized component when it was registered, but component gives no response to "Diagnostic Mode ON Request". Check power source circuit and communication circuit of component indicated by component code (physical address).
        ECHn Exchange One or more DTCs for "Exchange" are detected in either "System Check Mode" or "diagnostic Memory Mode". Go to detailed information mode to check trouble area on DTC list.
        CHEC Check When no DTCs are detected for "Exchange", one or more DTCs for "Check" are detected in either "System Check Mode" or "Diagnostic Memory Mode". Go to detailed information mode to check trouble area on DTC list.
        OLd Old version Old DTC application is identified and DTC is detected in either "System Check Mode" or "Diagnostic Memory Mode". -
        nrES No response Device gives no response to "System Check Result Request" or "Diagnostic Memory Request". Check power source circuit and communication circuit of component indicated by component code (physical address).
      3. To perform the service check again, press the preset switch "1".
    5. Detailed information mode (when displaying the DTC for a trouble component)
      1. With "CHEC" or "ECHn" being displayed, press the preset switch "2" to go to the detailed information mode.
      2. Press the "TUNE TRACK" switch to display the "System Check Result (SYS)" and "Diagnostic Memory Response (CODE)".
        Fig 7: Identifying System Check Result (SYS) Display (1 Of 2)
        G04065302Courtesy of © TOYOTA, LICENSE AGREEMENT TMS1002
        Fig 8: Identifying System Check Result (SYS) Display (2 Of 2)
        G04065303Courtesy of © TOYOTA, LICENSE AGREEMENT TMS1002
      3. Displayed items in detailed information mode
    DIVISION CODE FOR DTC DISPLAY

    Division Code for DTC Display Meaning Order of detailed information displayed when "SEEK TRACK UP" switch is pressed (order is reversed when 'SEEK TRACK DOWN' switch is pressed)
    SYS System check result is displayed.
    1. Logical address
    2. DTC
    CODE Diagnostic memory check result is displayed.
    • Logical address
    • DTC
    • Sub-code
    • Connection confirmation number
    • Number of times of occurrence
  4. CLEAR DTC 
    1. Clearing DTC memory
      1. Clearing an individual DTC from memory is the same as Main AVC-LAN.
    2. Finishing diagnostic mode
      1. Finishing diagnostic mode is the same as Main AVC-LAN.