LEMON Manuals: Even more car manuals for everyone: 1960-2025
Home >> Lexus >> 2007 >> LX 470 >> Repair and Diagnosis >> Brakes >> Traction Control >> Brake Control >> Vehicle Stability Control System >> ABS Warning Light Circuit >> Inspection Procedure
April 5, 2026: LEMON Manuals is launched! Read the announcement.

Inspection Procedure

HINT:

  1. PERFORM ACTIVE TEST BY INTELLIGENT TESTER (ABS WARNING LIGHT)*1 
    1. Select the ACTIVE TEST, generate a control command, and then check that the ABS warning light operates.

      Skid control ECU 

      DATA LIST

      Item Vehicle Condition / Test Details Diagnostic Note
      ABS WARN LIGHT Turn ABS warning light ON / OFF Observe combination meter

      OK: ABS warning light turns on or off. 

    OK: REPLACE SKID CONTROL ECU ASSEMBLY 

    NG: Go to Next step 

  2. CHECK ABS WARNING LIGHT*2 
    1. Disconnect the A40 ECU connector.
    2. Turn the ignition switch ON.
    3. Using a service wire, connect terminal WA to GND3 or GND4 of the A40 ECU connector. Check the ABS warning light.

      OK: ABS warning light turns off. 

    4. Turn the ignition switch OFF.
    5. Remove the service wire.
    6. Turn the ignition switch ON. Check the ABS warning light.

      OK: ABS warning light illuminates. 

    OK: REPLACE SKID CONTROL ECU ASSEMBLY 

    NG: Go to Next step 

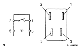
  3. INSPECT RELAY (Marking: IG1 NO. 2) 
    1. Remove the IG1 NO. 2 relay from the cowl side junction block LH.
    2. Measure the resistance of the relay.

      Standard resistance 

      TESTER CONNECTION SPECIFIED CONDITION

      Tester Connection Specified Condition
      1 - 2 10 kΩ or higher
      1 - 2 Below 1 Ω (when battery voltage is applied to terminals 3 and 4)

    NG: REPLACE RELAY 

    Fig 1: Identifying IG1 NO. 2 Relay Connector Terminals
    G05197666Courtesy of © TOYOTA, LICENSE AGREEMENT TMS1002

    OK: CHECK COMBINATION METER (COMBINATION METER CIRCUIT) 

  4. INSPECT SKID CONTROL ECU CONNECTOR*3 
    1. Check that each ECU connector is properly installed.

      OK: Each ECU connector is properly installed. 

    NG: CONNECT CONNECTOR TO ECU CORRECTLY 

    OK: Go to Next step 

  5. PERFORM ACTIVE TEST BY INTELLIGENT TESTER (ABS WARNING LIGHT) 
    1. Select the ACTIVE TEST, generate a control command, and then check that the ABS warning light operates.

      Skid control ECU 

      DATA LIST

      Item Vehicle Condition / Test Details Diagnostic Note
      ABS WARN LIGHT Turn ABS warning light ON / OFF Observe combination meter

      OK: ABS warning light turns on or off. 

    OK: REPLACE SKID CONTROL ECU ASSEMBLY 

    NG: Go to Next step 

  6. CHECK FOR DTC*4 
    1. Turn the ignition switch ON.
    2. Check that the ABS warning light illuminates.
    3. Check if the same DTCs are recorded.

      Result: 

      RESULT

      Result Proceed to
      DTC is not output A
      DTC is output B

    B: REPAIR CIRCUIT INDICATED BY OUTPUT DTC 

    A: Go to Next step 

  7. CHECK WIRE HARNESS (SKID CONTROL ECU ASSEMBLY - COMBINATION METER) 

    NG: REPAIR OR REPLACE HARNESS AND CONNECTOR 

    OK: REPLACE SKID CONTROL ECU ASSEMBLY