LEMON Manuals: Even more car manuals for everyone: 1960-2025
Home >> Lexus >> 2007 >> LX 470 >> Repair and Diagnosis >> Engine Performance >> Engine Control System (2UZ-FE) >> EFI Relay >> On-Vehicle Inspection
April 5, 2026: LEMON Manuals is launched! Read the announcement.

On-Vehicle Inspection

  1. REMOVE EFI RELAY (Marking: EFI) 
    1. Remove the engine room relay block cover.
    2. Remove the relay from the engine room relay block.
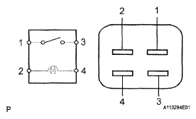
  2. CHECK EFI RELAY 
    1. Measure the resistance of the relay.

      Standard resistance 

      RESISTANCE SPECIFICATION

      Tester Connection Specified Condition
      1 - 3 10 kΩ or higher
      1 - 3 Below 1 Ω (when battery voltage is applied to terminals 2 and 4)

      If the result is not as specified, replace the relay.

  3. INSTALL EFI RELAY 
    Fig 1: EFI Relay Circuit Diagram
    G05196944Courtesy of © TOYOTA, LICENSE AGREEMENT TMS1002