LEMON Manuals: Even more car manuals for everyone: 1960-2025
Home >> Lexus >> 2007 >> LX 470 >> Repair and Diagnosis >> Transmission >> Automatic Trans >> Automatic Transaxle >> Valve Body >> Reassembly
April 5, 2026: LEMON Manuals is launched! Read the announcement.

Valve Body: Reassembly

  1. INSTALL SHIFT SOLENOID VALVE S2 
    1. Install the O-ring to the shift solenoid valve S2.
    2. Install the shift solenoid valve S2 with the bolt.

      Torque: 10 N*m (102 kgf*cm, 7 ft.*lbf) 

      Fig 1: Identifying Bolt And Shift Solenoid Valve S2
      G04963782Courtesy of © TOYOTA, LICENSE AGREEMENT TMS1002
  2. INSTALL SHIFT SOLENOID VALVE S1 
    1. Install the O-ring to the shift solenoid valve S1.
    2. Install the shift solenoid valve S1 with the bolt.

      Torque: 6.4 N*m (65 kgf*cm, 57 in.*lbf) 

      Fig 2: Identifying Bolt And Shift Solenoid Valve S1
      G04963781Courtesy of © TOYOTA, LICENSE AGREEMENT TMS1002
  3. INSTALL SHIFT SOLENOID VALVE SL1 
    Fig 3: Identifying Shift Solenoid Valve SL1
    G04963780Courtesy of © TOYOTA, LICENSE AGREEMENT TMS1002
  4. INSTALL SHIFT SOLENOID VALVE SLT 
    1. Install the shift solenoid valve SLT.
    2. Install the, 2 straight pins and solenoid lock plate with the bolt.

      Torque: 6.4 N*m (65 kgf*cm, 57 in.*lbf) 

      Fig 4: Identifying Shift Solenoid Valve SLT
      G04963779Courtesy of © TOYOTA, LICENSE AGREEMENT TMS1002
  5. INSTALL SHIFT SOLENOID VALVE SL2 
    1. Install the shift solenoid valve SL2.
      Fig 5: Identifying Shift Solenoid Valve SL2
      G04963778Courtesy of © TOYOTA, LICENSE AGREEMENT TMS1002
  6. INSTALL SHIFT SOLENOID VALVE SLU 
    1. Install the shift solenoid valve SLU.
    2. Install the bolt, 2 straight pins and solenoid lock plate.

      Torque: 6.4 N*m (65 kgf*cm, 57 in.*lbf) 

      Fig 6: Identifying Shift Solenoid Valve SLU
      G04963777Courtesy of © TOYOTA, LICENSE AGREEMENT TMS1002
  7. INSTALL SHIFT SOLENOID VALVE SR 
    1. Install the and shift solenoid valve SR with the 2 bolts.

      Torque: 6.4 N*m (65 kgf*cm, 57 in.*lbf) 

      Fig 7: Identifying Bolts And Shift Solenoid Valve SR
      G04963776Courtesy of © TOYOTA, LICENSE AGREEMENT TMS1002
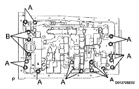
  8. INSTALL TRANSMISSION VALVE BODY ASSEMBLY 
    1. Align the groove of the manual valve with the pin of the lever.
      Fig 8: Aligning Groove Of Manual Valve With Pin Of Lever
      G04963648Courtesy of © TOYOTA, LICENSE AGREEMENT TMS1002
    2. Install the 19 bolts.

      Torque: 11 N*m (110 kgf*cm, 8 ft.*lbf) 

      HINT:

      Each bolt length is indicated below.

      Standard bolt length: 

      25 mm (0.98 in.) for bolt A 

      36 mm (1.42 in.) for bolt B 

      Fig 9: Identifying Transmission Bolts
      G04963649Courtesy of © TOYOTA, LICENSE AGREEMENT TMS1002