LEMON Manuals: Even more car manuals for everyone: 1960-2025
Home >> Lexus >> 2007 >> RX 350 FWD >> Repair and Diagnosis >> Engine Performance >> Fuel Delivery >> Fuel >> Fuel Pump >> Disassembly
April 5, 2026: LEMON Manuals is launched! Read the announcement.

Fuel Pump: Disassembly

  1. REMOVE FUEL SENDER GAUGE ASSEMBLY 
    1. Disconnect the connector and remove the fuel sender gauge from the fuel suction tube.
      Fig 1: Identifying Fuel Sender Gauge & Fuel Suction Tube
      G05271552Courtesy of © TOYOTA, LICENSE AGREEMENT TMS1002
  2. REMOVE FUEL SUCTION PLATE SUB-ASSEMBLY 
    1. Using needle nozzle pliers, remove the E-ring.
      Fig 2: Identifying E-Ring
      G05271553Courtesy of © TOYOTA, LICENSE AGREEMENT TMS1002
    2. Disengage the 2 claws of the fuel No. 1 suction support and remove the fuel suction plate with the fuel filter from the fuel No. 1 sub-tank.
      Fig 3: Identifying Fuel Suction Plate With Fuel Filter & Fuel No. 1 Sub-Tank
      G05271554Courtesy of © TOYOTA, LICENSE AGREEMENT TMS1002
    3. Remove the spring from the fuel suction plate.
    4. Disengage the claw of the jet pump nozzle.
      Fig 4: Identifying Jet Pump Nozzle
      G05271555Courtesy of © TOYOTA, LICENSE AGREEMENT TMS1002
    5. Separate the fuel pump filter hose.
  3. DISCONNECT FUEL PUMP HARNESS 
    1. Disconnect the fuel pump harness connector.
      Fig 5: Identifying Fuel Pump Harness Connector
      G05271556Courtesy of © TOYOTA, LICENSE AGREEMENT TMS1002
  4. REMOVE FUEL PUMP 
    1. Using a screwdriver with its tip wrapped in protective tape, disengage the 5 claws on the filter and remove the fuel pump from the fuel filter.
      NOTE:
      • Do not damage the fuel filter.
      • Do not remove the suction filter.
      • Do not use either the fuel pump or the suction filter if the suction filter is removed from the fuel pump.
      Fig 6: Identifying Claws Of Fuel Pump
      G04829085Courtesy of © TOYOTA, LICENSE AGREEMENT TMS1002
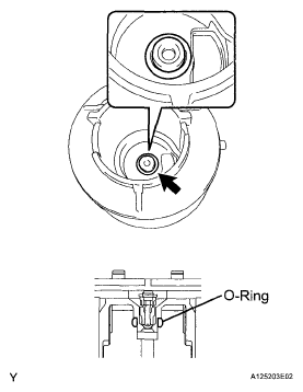
    2. Remove the O-ring from the fuel filter.
      Fig 7: Identifying O-Ring & Fuel Filter
      G05271558Courtesy of © TOYOTA, LICENSE AGREEMENT TMS1002
  5. REMOVE FUEL PRESSURE REGULATOR ASSEMBLY 
    1. Remove the fuel pressure regulator from the fuel filter.
      Fig 8: Identifying Fuel Pressure Regulator & Fuel Filter
      G05271559Courtesy of © TOYOTA, LICENSE AGREEMENT TMS1002
    2. Remove the 2 O-rings from the fuel pressure regulator.
      Fig 9: Identifying O-Rings & Fuel Pressure Regulator
      G04974932Courtesy of © TOYOTA, LICENSE AGREEMENT TMS1002
  6. REMOVE FUEL NO. 1 SUCTION SUPPORT 
    Fig 10: Identifying Fuel No. 1 Suction Support
    G05271561Courtesy of © TOYOTA, LICENSE AGREEMENT TMS1002
    1. Using a screwdriver with the tip taped, disengage the claw and remove the fuel No. 1 suction support.