LEMON Manuals: Even more car manuals for everyone: 1960-2025
Home >> Lexus >> 2007 >> RX 350 FWD >> Repair and Diagnosis >> External Pages >> Different variant/trim >> Section 2 (Transfer Case) >> Transfer Unit >> Inspection
April 5, 2026: LEMON Manuals is launched! Read the announcement.

Transfer Unit: Inspection

WARNING: This page is about a different variant/trim than selected.
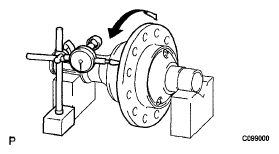
  1. INSPECT PRELOAD 
    1. Using SST(s) and a torque wrench, check the initial torque within the backlash range.

      SST 09326-20011 

      Torque: 0.9 to 1.4 N*m (9 to 14 kgf*cm, 8.0 to 12.4 in.*lbf) 

      Fig 1: Checking Initial Torque Within Backlash Range Using SST(s) & Torque Wrench
      G05241055Courtesy of © TOYOTA, LICENSE AGREEMENT TMS1002

      HINT:

      Use a torque wrench with a fulcrum length of 160 mm (6.30 in.).

    2. Using SST(s) and a torque wrench, check the initial torque while the driven pinion is in contact with the ring gear face.

      SST 09326-20011 

      Torque: Preload + 0.15 to 0.30 N*m (+1.6 to 3.1 kgf*cm, +1.3 to 2.7 in.*lbf) 

      HINT:

      Use a torque wrench with a fulcrum length of 160 mm (6.30 in.).

  2. INSPECT DIFFERENTIAL RING GEAR BACKLASH 
    1. Set the dial gauge perpendicular to the tooth face of the ring gear, fix the driven pinion and inspect the backlash while moving the gear.

      Backlash: 0.10 to 0.15 mm (0.0039 to 0.0059 in.) 

      Fig 2: Identifying Location Of Dial Gauge
      G05241056Courtesy of © TOYOTA, LICENSE AGREEMENT TMS1002
      NOTE: Inspect it at 3 points or more on the gear's periphery.
  3. INSPECT TOOTH CONTACT BETWEEN RING GEAR AND DRIVE PINION 
    1. Apply red lead primer thinly and uniformly to both faces of the ring gear and rotate several times.
      NOTE: Inspect the tooth contact on the ring gear at 4 places or more.
      Fig 3: Applying Red Lead Primer On Ring Gear
      G05241057Courtesy of © TOYOTA, LICENSE AGREEMENT TMS1002
  4. INSPECT RUNOUT OF TRANSFER RING GEAR MOUNTING CASE 
    1. Using a dial gauge check the transfer ring gear mounting case runout.

      Maximum runout: 0.03 mm (0.0012 in.) 

      Fig 4: Checking Transfer Ring Gear Mounting Case Runout Using Dial Gauge
      G05241058Courtesy of © TOYOTA, LICENSE AGREEMENT TMS1002