LEMON Manuals: Even more car manuals for everyone: 1960-2025
Home >> Lexus >> 2007 >> RX 350 FWD >> Repair and Diagnosis >> External Pages >> Different variant/trim >> Section 2 (Transfer Case) >> Transfer Unit >> Reassembly
April 5, 2026: LEMON Manuals is launched! Read the announcement.

Transfer Unit: Reassembly

WARNING: This page is about a different variant/trim than selected.
  1. INSTALL TRANSFER DRIVEN PINION REAR BEARING 
    1. Using SST(s) and a press, install the transfer driven pinion rear bearing outer race to the transfer case.

      SST 09950-60010 (09951-00620), 09950-70010 (09951-07150) 

      Fig 1: Using SST(s) & Press To Install Transfer Driven Pinion Rear Bearing Outer Race
      G05269360Courtesy of © TOYOTA, LICENSE AGREEMENT TMS1002
      NOTE: Place something like wood blocks under the case to keep its level.
  2. INSTALL TRANSFER OUTPUT WASHER 
    1. Install the transfer output washer to the transfer case.

      HINT:

      Reuse the washer.

  3. INSTALL TRANSFER DRIVEN PINION FRONT BEARING 
    1. Install the transfer driven pinion front bearing outer race to the transfer case with SST(s), bolt and nut.

      SST 09950-60020 (09951-00750, 09951-00770, 09951-00810), 09316-60011 (09316-00061) 

      Fig 2: Identifying Transfer Driven Pinion Front Bearing Outer Race & Transfer Case With SST(s)
      G05241060Courtesy of © TOYOTA, LICENSE AGREEMENT TMS1002
  4. INSTALL RING GEAR MOUNTING CASE PLATE WASHER 
    1. Install the ring gear mounting case plate washer to the transfer case.

      HINT:

      Reuse the washer.

  5. INSTALL CENTER DIFFERENTIAL CASE TAPERED ROLLER BEARING 
    1. Using SST(s) and a press, install the center differential case tapered roller bearing LH outer race to the transfer case.

      SST 09950-70010 (09951-07200), 09316-60011 (09316-00021) 

      Fig 3: Using SST(s) & Press To Install Center Differential Case Tapered Roller Bearing LH Outer Race
      G05241061Courtesy of © TOYOTA, LICENSE AGREEMENT TMS1002
  6. INSTALL TRANSFER DRIVEN PINION FRONT BEARING 
    1. Using SST(s) and a press, install the transfer driven pinion front bearing inner race to the driven pinion.
      Fig 4: Using SST(s) & Press To Install Transfer Driven Pinion Front Bearing Inner Race
      G05241062Courtesy of © TOYOTA, LICENSE AGREEMENT TMS1002
  7. INSTALL DRIVEN PINION 
    1. Install the driven pinion to the transfer case.
      Fig 5: Identifying Driven Pinion & Transfer Case
      G05241063Courtesy of © TOYOTA, LICENSE AGREEMENT TMS1002
    2. Install a new transfer pinion bearing spacer and a new transfer driven pinion rear bearing inner race to the driven pinion.
      Fig 6: Identifying Transfer Pinion Bearing Spacer & Transfer Driven Pinion Rear Bearing Inner Race
      G05241064Courtesy of © TOYOTA, LICENSE AGREEMENT TMS1002
    3. Using SST(s), tighten a new transfer gear nut (at a standard torque.)

      SST 09326-20011,09556-16030 

      Torque: 277 to 378 N*m (2,820 to 3,855 kgf*cm, 204 to 279 ft.*lbf) 

      Fig 7: Tightening Transfer Gear Nut Using SST(s)
      G05241065Courtesy of © TOYOTA, LICENSE AGREEMENT TMS1002
      NOTE: Do not stake the transfer gear nut.

      HINT:

      Use a torque wrench with a fulcrum length of 750 mm (29.53 in.)

  8. INSPECT AND ADJUST DRIVEN PINION PRELOAD 
    1. Using SST(s) and a torque wrench, measure the initial torque of the driven pinion.

      SST 09326-20011, 09556-16030 

      Torque: New bearing 1.1 to 1.6 N*m (10 to 16 kgf*cm, 9.7 to 14.2 in.*lbf) 

      Used bearing 0.9 to 1.4 N*m (9 to 14 kgf*cm, 8.0 to 12.4 in.*lbf) 

      Fig 8: Measuring Initial Torque Of Drive Pinion Using SST(s) & Torque Wrench
      G05241066Courtesy of © TOYOTA, LICENSE AGREEMENT TMS1002

      HINT:

      Use a torque wrench with a fulcrum length of 160 mm (6.30 in.)

      NOTE: Measure preload after rotating the bearing both clockwise and counterclockwise to make it fit.
    2. If the preload is too large, replace the transfer pinion bearing spacer with a new one.
    3. If the preload is too small, repeatedly adjust the preload by tightening the transfer gear nut 5 to 10 degrees at a time until the standard value is obtained.
    4. If the preload is insufficient, even though the tightening torque of the transfer gear nut exceeds the maximum of the standard value, loosen the transfer gear nut and apply gear oil SAE 90 (GL-5) to the transfer gear nut and the screw thread and the base of driven pinion and then repeat the preceding operation. If the tightening torque is bearing spacer with anew one and adjust it.

      Torque: 378 N*m (3.855 kgf*cm, 279 ft.*lbf) 

  9. INSTALL RING GEAR 
    1. Heat the ring gear in boiling water from 90 to 100° (194 to 212°F).
      Fig 9: Heating Ring Gear In Boiling Water
      G05241067Courtesy of © TOYOTA, LICENSE AGREEMENT TMS1002
    2. Completely remove grease and moisture on the contact surfaces of the ring gear and the transfer ring gear mounting case.
    3. Align the matchmarks on the ring gear and transfer ring gear mounting case and quickly assemble them.
      Fig 10: Identifying Matchmarks On Ring Gear & Transfer Ring Gear Mounting Case
      G05269369Courtesy of © TOYOTA, LICENSE AGREEMENT TMS1002
    4. Tighten the 12 bolts.

      Torque: 78 N*m (790 kgf*cm, 57 ft.*lbf) 

      NOTE:
      • Tighten the bolts in diagonal order in splitting several times.
      • After the ring gear has well cooled down, fully tighten the bolts.
      • Make the bolt heads in order to check if they are retightened or not.
  10. INSTALL CENTER DIFFERENTIAL CASE TAPERED ROLLER BEARING 
    1. Using SST(s) and a press, install the inner race of the center differential case tapered roller bearing to the transfer ring gear mounting case.

      SST 09506-35010, 09950-60010 (09951-00430), 09223-00010 

      Fig 11: Using SST(s) & Press To Install Inner Race Of Center Differential Case Tapered Roller Bearing
      G05241069Courtesy of © TOYOTA, LICENSE AGREEMENT TMS1002
      NOTE: When replacing the inner race, replace it together with the outer race.
  11. INSTALL TRANSFER RING GEAR MOUNTING CASE 
    1. Install the transfer ring gear mounting case to the transfer case.
      NOTE: Damage to the spline, the bearing's rotating surface and gear face may cause a decrease in their strength. Care should be taken when installing them.
  12. INSTALL NO. 2 TRANSFER RING GEAR MOUNTING CASE WASHER 
    1. Install the No. 2 transfer ring gear mounting case washer to the transfer RH bearing retainer sub-assembly.
      Fig 12: Identifying No. 2 Transfer Ring Gear Mounting Case Washer
      G04831503Courtesy of © TOYOTA, LICENSE AGREEMENT TMS1002

      HINT:

      Reuse the washer.

  13. INSTALL CENTER DIFFERENTIAL CASE TAPERED ROLLER BEARING 
    1. Using SST(s) and a press, install the center differential case tapered roller bearing RH outer race to the transfer RH bearing retainer sub-assembly.

      SST 09950-60010 (09951-00620), 09950-70010 (09951-07150) 

      Fig 13: Using SST(s) & Press To Install Center Differential Case Tapered Roller Bearing RH Outer Race
      G05241071Courtesy of © TOYOTA, LICENSE AGREEMENT TMS1002
  14. INSTALL TRANSFER RH BEARING RETAINER SUB-ASSEMBLY 
    1. Place the transfer the face where the transfer RH bearing retainer sub-assembly is to be installed facing up.
    2. Center-align the transfer ring gear mounting case and the transfer case.
      Fig 14: Aligning Centers Of Transfer Ring Gear Mounting Case & Transfer Case
      G05269373Courtesy of © TOYOTA, LICENSE AGREEMENT TMS1002
    3. Install the SST(s) into the transfer RH bearing retainer sub-assembly.
      Fig 15: Inserting SST Into Transfer RH Bearing Retainer Sub-Assembly
      G05269374Courtesy of © TOYOTA, LICENSE AGREEMENT TMS1002
      NOTE: Insert SST(s) straight in order not to damage the oil seal lip.
    4. Insert the transfer RH bearing retainer sub-assembly together with the SST(s) into the transfer case.
      Fig 16: Inserting Transfer RH Bearing Retainer Sub-Assembly With SST Into Transfer Case
      G05269375Courtesy of © TOYOTA, LICENSE AGREEMENT TMS1002
      NOTE: Interference between the case and retainer, and between the transfer ring gear mounting case and SST(s) should be carefully avoided.

      HINT:

      If the retainer cannot be inserted, tap it in with a plastic hammer.

    5. After inserting the transfer RH bearing retainer sub-assembly into the transfer case, remove the SST(s).
    6. Tighten the 7 bolts.

      Torque: 28 N*m (286 kgf*cm, 21 ft.*lbf) 

      Fig 17: Identifying Transfer RH Bearing Retainer Sub-Assembly Bolts
      G05241035Courtesy of © TOYOTA, LICENSE AGREEMENT TMS1002
  15. INSPECT DIFFERENTIAL RING GEAR BACKLASH 
    1. Set the dial gauge perpendicular to the ring gear face, fix the driven pinion, and check backlash by moving the ring gear.

      Backlash: 0.10 to 0.15 mm (0.0039 to 0.0059 in.) 

      Fig 18: Identifying Location Of Dial Gauge
      G05241056Courtesy of © TOYOTA, LICENSE AGREEMENT TMS1002
      NOTE: Measure it at 3 points or more on the ring gear periphery.
    2. If the measured value is out of standard, select a proper washer for the center differential case tapered roller bearing on the LH side from the table below and install it to obtain the standard value.
      THICKNESS SPECIFICATION TABLE

      Mark Washer Thickness mm (in.) Mark Washer Thickness mm (in.) Mark Washer Thickness mm (in.)
      AA 2.07 (0.0814) AB 2.10(0.0826) AC 2.13(0.0838)
      BA 2.16 (0.0850) BB 2.19 (0.0862) BC 2.22 (0.0874)
      CA 2.25 (0.0885) CB 2.28 (0.0897) CC 2.31 (0.0909)
      DA 2.34 (0.0921) DB 2.37 (0.0933) DC 2.40 (0.0944)
      EA 2.43 (0.0956) EB 2.46 (0.0968) EC 2.49 (0.0980)
      FA 2.52 (0.0992) FB 2.55 (0.1003) FC 2.58 (0.1015)
      GA 2.61 (0.1027) GB 2.64 (0.1039) GC 2.67 (0.1051)
      HA 2.70 (0.1062) HB 2.73 (0.1074) HC 2.76 (0.1086)
      JA 2.79 (0.1098) JB 2.82 (0.1110) JC 2.85 (0.1122)
      KA 2.88 (0.1133) KB 2.91 (0.1145) KC 2.94 (0.1157)
      LA 2.97 (0.1169) LB 3.00 (0.1181) - -

      HINT:

      When the backlash is larger or smaller than the standard, select a thinner or thicker washer respectively.

    3. Ring gear mounting case plate washer location shown below.
      Fig 19: Identifying Ring Gear Mounting Case Plate Washer Location
      G05241078Courtesy of © TOYOTA, LICENSE AGREEMENT TMS1002
  16. INSPECT TOOTH CONTACT BETWEEN RING GEAR AND DRIVE PINION 
    1. Apply red lead primer thinly and uniformly to both faces of the ring gear and rotate it several times.
      Fig 20: Applying Red Lead Primer On Ring Gear
      G05241057Courtesy of © TOYOTA, LICENSE AGREEMENT TMS1002
      NOTE: Check the tooth contact on the ring gear at 4 places or more.
    2. Observe the pattern shown by red lead primer.
      Fig 21: Identifying Ring Gear & Drive Pinion Tooth Contact Pattern
      G05241080Courtesy of © TOYOTA, LICENSE AGREEMENT TMS1002
    3. In case of poor tooth contact, select a washer for the driven pinion bearing front side from the following table and replace it.
      NOTE: If the washer thickness is changed, the backlash will be also changed.
      THICKNESS SPECIFICATION TABLE

      Mark Washer Thickness mm (in.) Mark Washer Thickness mm (in.) Mark Washer Thickness mm (in.)
      AA 1.20 (0.0472) AC 1.22 (0.0480) BB 1.24 (0.0488)
      CA 1.26 (0.0496) CC 1.28 (0.0503) DB 1.30 (0.0511)
      EA 1.32 (0.0519) EC 1.34 (0.0527) FB 1.36 (0.0535)
      GA 1.38 (0.0543) GC 1.40 (0.0551) HB 1.42 (0.0559)
      JA 1.44 (0.0566) JC 1.46 (0.0574) KB 1.48 (0.0582)
      LA 1.50 (0.0590) LC 1.52 (0.0598) MB 1.54 (0.0606)
      NA 1.56 (0.0614) NC 1.58 (0.0622) PB 1.60 (0.0629)
      QA 1.62 (0.0637) QC 1.64 (0.0645) - -
    4. The location of the transfer output washer for tooth contact adjustment.
      Fig 22: Identifying Transfer Output Washer
      G05269381Courtesy of © TOYOTA, LICENSE AGREEMENT TMS1002
  17. ADJUST TOTAL PRELOAD 
    1. Using SST(s) and a torque wrench, measure the initial torque with the driven pinion bearing contact with the ring gear face.

      SST 09326-20011 

      Torque: New bearing +0.2 to 0.4 N*m (+2.3 to 3.9 kgf*cm, 1.8 to 3.5 in.*lbf) 

      Used bearing +0.15 to 0.30 N*m (+1.6 to 3.1 kgf*cm, 1.3 to 2.7 in.*lbf) 

      Fig 23: Checking Total Preload Of Drive Pinion Using SST(s) & Torque Wrench
      G05241082Courtesy of © TOYOTA, LICENSE AGREEMENT TMS1002
      NOTE: Before measurement, rotate the bearing in both directions several times to make it fit.

      HINT:

      Use a torque wrench with a fulcrum length of 160 mm (6.30 in.)

    2. If the value is out of standard range, select the washer for the center differential case tapered roller bearing RH side from the following table and replace it.
      THICKNESS SPECIFICATION TABLE

      Mark Washer Thickness mm (in.) Mark Washer Thickness mm (in.) Mark Washer Thickness mm (in.)
      AA 1.47 (0.0578) AB 1.50 (0.0590) AC 1.53 (0.0602)
      BA 1.56 (0.0614) BB 1.59 (0.0625) BC 1.62 (0.0637)
      CA 1.65 (0.0649) CB 1.68 (0.0661) CC 1.71 (0.0673)
      DA 1.74 (0.0685) DB 1.77 (0.0696) DC 1.80 (0.0708)
      EA 1.83 (0.0720) EB 1.86 (0.0732) EC 1.89 (0.0744)
      FA 1.92 (0.0755) FB 1.95 (0.0767) FC 1.98 (0.0779)
      GA 2.01 (0.0790) GB 2.04 (0.0803) GC 2.07 (0.0814)
      HA 2.10 (0.0826) HB 2.13 (0.0838) HC 2.16 (0.0850)
      JA 2.19 (0.0862) JB 2.22 (0.0874) JC 2.25 (0.0885)
      KA 2.28 (0.0897) KB 2.31 (0.0909) KC 2.34 (0.0921)
      LA 2.37 (0.0933) LB 2.40 (0.0944) LC 2.43 (0.0956)
      MA 2.46 (0.0968) MB 2.49 (0.0980) MC 2.52 (0.0992)
      NA 2.55 (0.1003) NB 2.58 (0.1015)    
    3. The location of the transfer ring gear mounting case washer No. 2 for preload adjustment.
      Fig 24: Identifying Transfer Ring Gear Mounting Case Washer No. 2
      G05269383Courtesy of © TOYOTA, LICENSE AGREEMENT TMS1002
    4. Using a chisel, stake the transfer gear nut.
      Fig 25: Staking Transfer Gear Nut Using Chisel
      G05241084Courtesy of © TOYOTA, LICENSE AGREEMENT TMS1002
  18. REMOVE TRANSFER RH BEARING RETAINER SUB-ASSEMBLY 
    1. Remove the 7 bolts from the transfer RH bearing retainer sub-assembly.
      Fig 26: Identifying Transfer RH Bearing Retainer Sub-Assembly Bolts
      G05241035Courtesy of © TOYOTA, LICENSE AGREEMENT TMS1002
    2. Using a screwdriver and a hammer, make a opening between the transfer RH bearing retainer sub-assembly
      Fig 27: Creating Clearance Between Transfer RH Bearing Retainer Sub-Assembly & Transfer Case
      G05269337Courtesy of © TOYOTA, LICENSE AGREEMENT TMS1002
      NOTE: Be careful not to damage the transfer RH bearing retainer sub-assembly and the transfer case.
    3. Using SST(s), remove the transfer RH bearing retainer sub-assembly from the transfer case.

      SST 09520-10021 

      Fig 28: Using SST(s) To Remove Transfer RH Bearing Retainer Sub-Assembly From Transfer Case
      G05269387Courtesy of © TOYOTA, LICENSE AGREEMENT TMS1002
  19. REMOVE CENTER DIFFERENTIAL CASE TAPERED ROLLER BEARING 
    1. Fix the transfer RH bearing retainer sub-assembly in a vise.
    2. Using SST(s), remove the center differential case tapered roller bearing RH outer race and transfer ring gear mounting case washer No. 2 from the transfer RH bearing retainer sub-assembly.

      SST 09308-00010 

      Fig 29: Using SST(s) To Remove Center Differential Case Tapered Roller Bearing RH Outer Race
      G05241088Courtesy of © TOYOTA, LICENSE AGREEMENT TMS1002
  20. INSTALL SIDE GEAR SHAFT HOLDER BEARING 
    1. Install the side gear shaft holder bearing to the transfer RH bearing retainer sub-assembly.
    2. Using snap ring pliers, install the side gear shaft holder hole snap ring.
      Fig 30: Using Snap Ring Pliers To Install Side Gear Shaft Holder Hole Snap Ring
      G05241089Courtesy of © TOYOTA, LICENSE AGREEMENT TMS1002

      HINT:

      Check that the side gear shaft holder hole snap ring fits in the groove of the transfer RH bearing retainer sub-assembly.

  21. INSTALL TRANSFER RH BEARING RETAINER OIL SEAL 
    1. Using SST(s) and a press, install the transfer RH bearing retainer oil seal No. 2 to the transfer RH bearing retainer sub-assembly.

      SST 09950-60010 (09951-00350, 09951-00560, 09952-06010), 09950-70010 (09951-07150) 

      Fig 31: Using SST(s) & Press To Install Transfer RH Bearing Retainer Oil Seal No. 2
      G05269390Courtesy of © TOYOTA, LICENSE AGREEMENT TMS1002
      NOTE: Carefully press-fit so that the oil seal will not be tilted.
    2. Apply small amount of MP grease No. 2 to the oil seal lip.
  22. INSTALL NO. 2 TRANSFER RING GEAR MOUNTING CASE WASHER 
    1. Install the No. 2 selected transfer ring gear mounting washer to the transfer RH bearing retainer sub-assembly.
  23. INSTALL CENTER DIFFERENTIAL CASE TAPERED ROLLER BEARING 
    1. Using SST(s) and a press, install the center differential case tapered roller bearing RH outer race to the transfer RH bearing retainer sub-assembly.

      SST 09950-60010 (09951-00620), 09950-70010 (09951-07150) 

      Fig 32: Using SST(s) & Press To Install Center Differential Case Tapered Roller Bearing RH Outer Race
      G05241091Courtesy of © TOYOTA, LICENSE AGREEMENT TMS1002
  24. INSTALL O-RING 
    1. Coat the 2 O-rings with hypoid gear oil.
    2. Install the 2 O-rings to the transfer RH bearing retainer sub-assembly.
      Fig 33: Identifying Transfer RH Bearing Retainer Sub-Assembly O-Rings
      G05241092Courtesy of © TOYOTA, LICENSE AGREEMENT TMS1002
      NOTE: Be careful not to twist the O-ring and fit it properly in the retainer's groove.
  25. INSTALL TRANSFER RH BEARING RETAINER SUB-ASSEMBLY 
    1. Place the transfer with the surface where the transfer RH bearing retainer sub-assembly is facing up.
    2. Align the centers of the transfer ring gear mounting case and the transfer case.
      Fig 34: Aligning Centers Of Transfer Ring Gear Mounting Case & Transfer Case
      G05269373Courtesy of © TOYOTA, LICENSE AGREEMENT TMS1002
    3. Insert SST(s) into the transfer RH bearing retainer sub-assembly.

      SST 09387-00090 

      Fig 35: Inserting SST Into Transfer RH Bearing Retainer Sub-Assembly
      G05269374Courtesy of © TOYOTA, LICENSE AGREEMENT TMS1002
      NOTE: Insert SST(s) straight in order not to damage the oil seal.
    4. Insert transfer RH bearing retainer sub-assembly together with SST(s) into the transfer case.
      Fig 36: Inserting Transfer RH Bearing Retainer Sub-Assembly With SST(s) Into Transfer Case
      G05269375Courtesy of © TOYOTA, LICENSE AGREEMENT TMS1002
      NOTE:
      • Avoid interference between the case and the retainer, and between the SST(s) and the transfer ring gear mounting case.
      • Carefully check the retainer's O-ring for damage and incorrect fitting.

      HINT:

      If the retainer be inserted into the case, tap it in with a plastic hammer.

    5. After inserting transfer RH bearing retainer sub-assembly into the transfer case, remove the SST(s).
      Fig 37: Removing SST(s)
      G05269396Courtesy of © TOYOTA, LICENSE AGREEMENT TMS1002
    6. Tighten the 7 bolts.

      Torque: 28 N*m (286 kgf*cm, 21 ft.*lbf) 

      Fig 38: Identifying Transfer RH Bearing Retainer Sub-Assembly Bolts
      G05241035Courtesy of © TOYOTA, LICENSE AGREEMENT TMS1002
  26. INSPECT TOTAL PRELOAD 
    1. Using SST(s) and a torque wrench, measure the initial torque with the driven pinion being in contact with the ring gear face.

      SST 09326-20011 

      Torque: New bearing +0.2 to 0.4 N*m (+2.3 to 3.9 kgf*cm, 1.8 to 3.5 in.*lbf) 

      Used bearing +0.15 to 0.30 N*m (+1.6 to 3.1 kgf*cm, 1.3 to 2.7 in.*lbf) 

      Fig 39: Using SST(s) & Torque Wrench To Measure Initial Torque
      G05241098Courtesy of © TOYOTA, LICENSE AGREEMENT TMS1002

      HINT:

      Use a torque wrench with a fulcrum length of 160 mm (6.30 in.)

  27. INSTALL TRANSFER RH BEARING RETAINER OIL SEAL 
    1. Using SST(s), install the transfer RH bearing retainer oil seal to the transfer RH bearing retainer sub-assembly to the position.

      SST 09223-46011 

      Fig 40: Using SST(s) To Install Transfer RH Bearing Retainer Oil Seal
      G05241099Courtesy of © TOYOTA, LICENSE AGREEMENT TMS1002
      NOTE: Install the oil seal carefully so that it will not be tilted.
    2. Apply MP grease to the oil seal lip.
  28. INSTALL TRANSFER CASE OIL SEAL 
    1. Using SST(s), install the transfer case oil seal to the transfer case at the position.

      SST 09387-00010, 09950-70010 (09951-07150) 

      Fig 41: Using SST(s) To Install Transfer Case Oil Seal
      G05139183Courtesy of © TOYOTA, LICENSE AGREEMENT TMS1002
      NOTE: Install the oil seal carefully so that it will not be tilted.
    2. Apply small amount of MP grease to the oil seal lip.
  29. INSTALL CTR DIFFERENTIAL LOCK SLEEVE 
    1. Coat a new O-ring with hypoid gear oil.
    2. Install the O-ring to the CTR differential lock sleeve.
      Fig 42: Identifying CTR Differential Lock Sleeve O-Ring
      G05241101Courtesy of © TOYOTA, LICENSE AGREEMENT TMS1002
      NOTE: Be careful not to twist the O-ring and fit it properly in the retainer's groove.
    3. Using SST(s), install the CTR differential lock sleeve to the transfer case.

      SST 09950-60010 (09951-00610), 09950-70010 (09951-07150) 

      Fig 43: Using SST(s) To Install CTR Differential Lock Sleeve To Transfer Case
      G05241102Courtesy of © TOYOTA, LICENSE AGREEMENT TMS1002
    4. Using snap ring pliers, install the shaft snap ring.
      Fig 44: Using Snap Ring Pliers To Install Shaft Snap Ring
      G05241103Courtesy of © TOYOTA, LICENSE AGREEMENT TMS1002
      NOTE: Check that the snap ring is fitted in the groove of the ring gear mounting case.
  30. INSTALL TRANSFER EXTENSION HOUSING TYPE T OIL SEAL 
    1. Using SST(s), install the transfer extension housing type T oil seal to the transfer extension housing at the position.

      SST 09950-60010 (09951-00380, 09951-00580, 09951-07150, 09952-06010), 09950-70010 

      Fig 45: Using SST(s) To Install Transfer Extension Housing Type T Oil Seal
      G05241104Courtesy of © TOYOTA, LICENSE AGREEMENT TMS1002
      NOTE: Install the oil seal carefully so that it will not be tilted.
    2. Apply small amount of MP grease No. 2 to the oil seal lip.
  31. INSTALL TRANSFER EXTENSION HOUSING DUST DEFLECTOR 
    1. Using SST(s) and press, install a new transfer extension housing dust deflector to the transfer extension housing sub-assembly.

      SST 09950-60020 (09951-00710), 09950-70010 (09951-07150) 

      Fig 46: Using SST(s) & Press To Install New Transfer Extension Housing Dust Deflector
      G05241105Courtesy of © TOYOTA, LICENSE AGREEMENT TMS1002
  32. INSTALL TRANSFER EXTENSION HOUSING SUB-ASSEMBLY 
    1. Apply sealant 1281 to the transfer extension housing sub-assembly in continuous beaded from of 1.2 mm diameter.
      Fig 47: Applying Sealant 1281 To Transfer Extension Housing Sub-Assembly
      G05241106Courtesy of © TOYOTA, LICENSE AGREEMENT TMS1002
      NOTE:
      • Wipe any grease off from the attaching surfaces.
      • Install the transfer extension housing sub-assembly within 10 minutes after applying the sealant.
    2. Install the transfer extension housing sub-assembly to the transfer case with the 4 bolts.

      Torque: 26 N*m (260 kgf*cm, 19 ft.*lbf) 

      Fig 48: Identifying Transfer Extension Housing Sub-Assembly Bolts
      G05269407Courtesy of © TOYOTA, LICENSE AGREEMENT TMS1002
    3. Remove the transfer assembly from the overhaul attachment.
  33. INSTALL TRANSFER AND TRANSAXLE SETTING STUD BOLT 
    1. Install the transfer and transaxle setting stud bolts to the parts of the transfer case.

      Torque: 39 N*m (400 kgf*cm, 30 ft.*lbf) 

      Fig 49: Identifying Sealant-Coated Part Of Transfer & Transaxle Setting Stud Bolts
      G05241108Courtesy of © TOYOTA, LICENSE AGREEMENT TMS1002
      NOTE: Install the sealant-coated side of the transfer and transaxle stud bolt to the transfer case.
  34. INSTALL TRANSFER CASE STRAIGHT PIN 
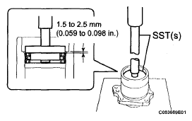
    1. Using a plastic hammer, install the transfer case straight pins to the transfer case.
      Fig 50: Identifying Transfer Case Straight Pin Dimension
      G05139192Courtesy of © TOYOTA, LICENSE AGREEMENT TMS1002
  35. INSTALL TRANSFER DYNAMIC DAMPER 
    1. Install the transfer dynamic damper to the transfer extension housing sub-assembly with the 3 bolts.

      Torque: 26 N*m (260 kgf*cm, 19 ft.*lbf) 

      Fig 51: Identifying Transfer Dynamic Damper Bolts
      G05241110Courtesy of © TOYOTA, LICENSE AGREEMENT TMS1002
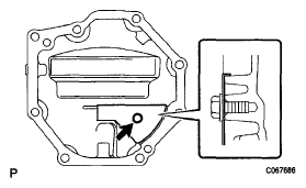
  36. INSTALL BREATHER OIL DEFLECTOR 
    1. Install the breather oil deflector to the transfer case cover No. 1 with the bolt.

      Torque: 6.5 N*m (66 kgf*cm, 57 in.*lbf) 

      Fig 52: Identifying Breather Oil Deflector With Bolt
      G05241111Courtesy of © TOYOTA, LICENSE AGREEMENT TMS1002
      NOTE: Be careful about the direction of the deflector's fold.
  37. INSTALL NO. 1 TRANSFER CASE COVER 
    1. Apply sealant 1281 to the transfer case cover No. 1 in a continuous bead of 1.2 mm diameter.
      Fig 53: Applying Sealant 1281 To Transfer Case Cover No. 1
      G05241112Courtesy of © TOYOTA, LICENSE AGREEMENT TMS1002
      NOTE:
      • Wipe any grease off from the attaching surfaces.
      • Install the transfer case cover No. 1 within 10 minutes after application of the sealant.
    2. Install the transfer case cover No. 1 to the transfer case with 8 bolts.

      Torque: 20 N*m (200 kgf*cm, 14 ft/lbf) 

      Fig 54: Identifying Transfer Case Cover No. 1 Bolts
      G05241021Courtesy of © TOYOTA, LICENSE AGREEMENT TMS1002
  38. INSTALL TRANSFER CASE BREATHER PLUG 
    1. Using SST(s) and a hammer, install the transfer case breather plug to the transfer case cover No. 1.

      SST 09612-10093 (09612-10061) 

      Fig 55: Using SST(s) & Hammer To Install Transfer Case Breather Plug To Transfer Case Cover No. 1
      G05241114Courtesy of © TOYOTA, LICENSE AGREEMENT TMS1002
  39. INSTALL TRANSFER COVER GASKET 
    1. Install a new transfer cover gasket to the transfer case.
      Fig 56: Identifying New Transfer Cover Gasket
      G05241019Courtesy of © TOYOTA, LICENSE AGREEMENT TMS1002