LEMON Manuals: Even more car manuals for everyone: 1960-2025
Home >> Lexus >> 2007 >> RX 400h AWD >> Repair and Diagnosis >> Engine Performance >> Fuel Delivery >> Fuel >> Fuel Pump >> Installation
April 5, 2026: LEMON Manuals is launched! Read the announcement.

Fuel Pump: Installation

  1. INSTALL FUEL PRESSURE WITH JET PUMP REGULATOR ASSEMBLY 
    1. Apply a light coat of spindle oil or gasoline to a new O-ring, and install it.
      Fig 1: Identifying O-Ring
      G05200874Courtesy of © TOYOTA, LICENSE AGREEMENT TMS1002
    2. Install the fuel pressure with jet pump regulator assembly to the fuel tank fuel filter.
    Fig 2: Identifying Fuel Pressure With Jet Pump Regulator Assembly
    G05200873Courtesy of © TOYOTA, LICENSE AGREEMENT TMS1002
  2. INSTALL FUEL PUMP AND FUEL FILTER ASSEMBLY 
    1. Apply a light coat of spindle oil or gasoline to the O-ring of the fuel pump.
      Fig 3: Identifying Fuel Pump O-Ring
      G05200878Courtesy of © TOYOTA, LICENSE AGREEMENT TMS1002
    2. Push in the fuel pump to the fuel tank fuel filter.
    Fig 4: Pulling Out Fuel Pump From Fuel Tank Fuel Filter
    G05200872Courtesy of © TOYOTA, LICENSE AGREEMENT TMS1002
  3. INSTALL FUEL PUMP CUSHION RUBBER 
    1. Install the fuel pump cushion rubber to the fuel pump.
    Fig 5: Identifying Fuel Pump Cushion Rubber
    G05200871Courtesy of © TOYOTA, LICENSE AGREEMENT TMS1002
  4. INSTALL FUEL SUCTION SUPPORT NO.2 
    1. Install the fuel suction support No.2
    Fig 6: Locating Fuel Suction Support No.2
    G05200881Courtesy of © TOYOTA, LICENSE AGREEMENT TMS1002
  5. INSTALL FUEL PUMP HARNESS 
    1. Install the fuel pump harness.
    2. Connect the connector.
    Fig 7: Locating Fuel Pump Harness With Connector
    G05200882Courtesy of © TOYOTA, LICENSE AGREEMENT TMS1002
  6. INSTALL FUEL SUCTION PLATE SUB-ASSEMBLY 
    1. Connect the fuel pump connector.
    2. Install the fuel suction plate.
    Fig 8: Locating Fuel Suction Plate
    G05200883Courtesy of © TOYOTA, LICENSE AGREEMENT TMS1002
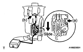
  7. INSTALL FUEL SENDER GAUGE ASSEMBLY 
    1. Slide the fuel sender gauge to engage the claw.
    2. Connect the fuel sender gauge connector.
    Fig 9: Installing Fuel Sender Gauge Assembly
    G05276433Courtesy of © TOYOTA, LICENSE AGREEMENT TMS1002
  8. INSTALL VAPOR PRESSURE SENSOR ASSEMBLY 
    1. Install the vapor pressure sensor assembly with the tube joint clip.
    2. Install the cover.
    Fig 10: Identifying Tube Joint Clip And Cover
    G05200866Courtesy of © TOYOTA, LICENSE AGREEMENT TMS1002
  9. INSTALL FUEL PUMP AND GAUGE WITH SUCTION TUBE 
    1. Install a new gasket to the fuel pump assembly.
    2. Install the fuel pump assembly.
      Fig 11: Identifying Out Fuel Pump Assembly
      G05200865Courtesy of © TOYOTA, LICENSE AGREEMENT TMS1002
    3. Install the fuel tank vent tube set plate by aligning it with the cutout on the fuel pump assembly.
    4. Install the fuel tank vent tube set plate and fuel pump connector plate with the 8 bolts.

      Torque: 6.0 N*m (61 kgf*cm, 53 in.*lbf) 

      Fig 12: Locating Fuel Tank Vent Tube Set Plate And Fuel Pump Connector Plate
      G05200887Courtesy of © TOYOTA, LICENSE AGREEMENT TMS1002
    5. Connect the fuel tank main tube with the tube joint clip and clamp.
      NOTE:
      • Check that there are no scratches or foreign objects on the connecting part.
      • Check that the fuel tube joint is inserted securely.
      • Check that the tube joint clip is on the collar of the fuel tube joint.
      • After installing the tube joint clip, check that the fuel tube joint is not pulled off.
      Fig 13: Locating Tube Joint Clip And Clamp
      G05200888Courtesy of © TOYOTA, LICENSE AGREEMENT TMS1002
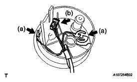
    6. Connect the fuel tank wire connector.
    7. Fig 14: Locating Fuel Tank Wire Connector
      G05200889Courtesy of © TOYOTA, LICENSE AGREEMENT TMS1002
    8. Connect the vapor pressure sensor connector and clamp.
  10. INSTALL FUEL TANK ASSEMBLY (See  INSTALLATION  ) 
  11. CONNECT BREATHER LOWER TUBE (See  INSTALLATION  ) 
  12. CONNECT FUEL TANK MAIN TUBE SUB-ASSEMBLY (See  INSTALLATION  ) 
  13. CONNECT CHARCOAL CANISTER FUEL HOSE (See  INSTALLATION  ) 
  14. INSTALL CHARCOAL CANISTER PROTECTOR (See  INSTALLATION  ) 
  15. CONNECT FUEL TANK WIRE (See  INSTALLATION  ) 
  16. INSTALL PARKING BRAKE CABLE ASSEMBLY NO.3 (See  INSTALLATION  ) 
  17. INSTALL FUEL TANK PROTECTOR SUB-ASSEMBLY NO.1 (See  INSTALLATION  ) 
  18. INSTALL FRONT FLOOR HEAT INSULATOR NO.3 (See  INSTALLATION  ) 
  19. INSTALL EXHAUST PIPE ASSEMBLY CENTER  (See INSTALLATION )
  20. CONNECT CABLE TO NEGATIVE BATTERY TERMINAL 
  21. INSPECT FOR FUEL LEAK (See  ON-VEHICLE INSPECTION  ) 
  22. INSPECT FOR EXHAUST GAS LEAK 
  23. PERFORM INITIALIZATION 

    Some systems need initialization after reconnecting the cable to the negative battery terminal. (See INITIALIZATION )