LEMON Manuals: Even more car manuals for everyone: 1960-2025
Home >> Lexus >> 2007 >> RX 400h AWD >> Repair and Diagnosis >> External Pages >> Different car >> Section 176 (Lighting System) >> Lighting System >> DRL Relay Circuit >> Inspection Procedure
April 5, 2026: LEMON Manuals is launched! Read the announcement.

Inspection Procedure

WARNING: This page is about a different car, the 2007 Toyota RAV4. However, it is still accessible from the selected car via links, so may be relevant.
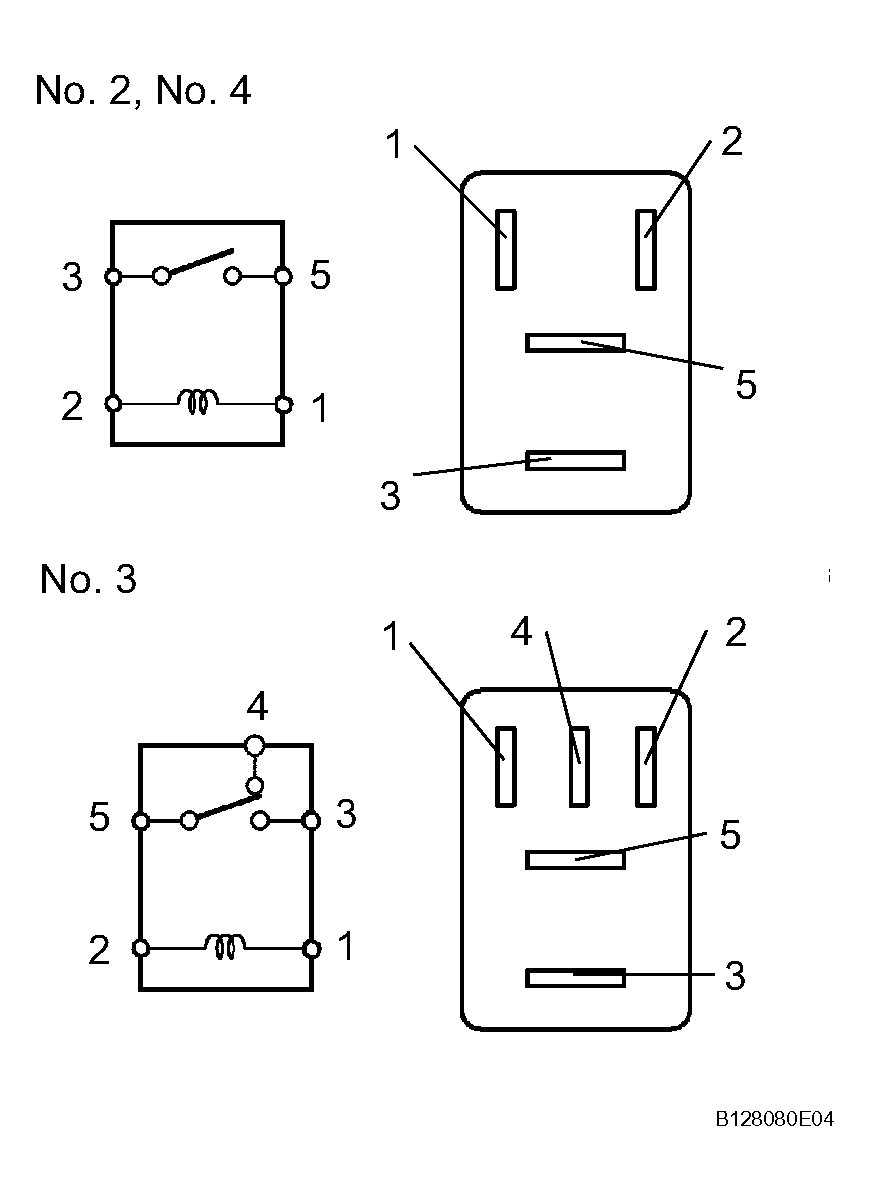
  1. INSPECT DAYTIME RUNNING LIGHT RELAY (Marking: DRL NO. 2, DRL NO. 3, DRL NO. 4) 
    1. Remove the No. 2 relay, No. 3 relay and No. 4 relay from the engine room No. 2 relay block. (See Fig 1).
    2. Measure the resistance of the relays.

      Standard resistance: 

      No. 2, No. 4 

      RESISTANCE SPECIFIED CONDITIONS

      Tester Connection Specified Condition
      3 - 5 10 kΩ or higher
      3 - 5 Below 1 Ω
      (Battery voltage applied to terminals 1 and 2)

      No. 3 

      RESISTANCE SPECIFIED CONDITIONS

      Tester Connection Specified Condition
      4 - 5 Below 1 Ω
      4 - 5 10 kΩ or higher
      (Battery voltage applied to terminals 1 and 2)
      3 - 5 10 kΩ or higher
      3 - 5 Below 1 Ω
      (Battery voltage applied to terminals 1 and 2)
      Fig 1: Identifing Daytime Running Light Relay Terminals (Marking: DRL No. 2, 3 & 4)
      G04490742Courtesy of © TOYOTA, LICENSE AGREEMENT TMS1002

    NG: REPLACE DAYTIME RUNNING LIGHT RELAY 

    OK: Go TO NEXT STEP. 

  2. INSPECT FUSE (HEAD LH) 
    1. Remove the HEAD LH fuse from the engine room No. 2 relay block.
    2. Measure the resistance of the fuse.

      Standard resistance: 

      Below 1 Ω 

    NG: REPLACE FUSE 

    OK: Go TO NEXT STEP. 

  3. INSPECT HEADLIGHT BULB (HIGH) 
    1. Remove the headlight bulb (high).
    2. Connect the positive (+) lead from the battery to terminal 2 and the negative (-) lead to terminal 1, then check that the bulb illuminates.
      Fig 2: Connecting Battery To Headlight High Bulb Terminals
      G04490743Courtesy of © TOYOTA, LICENSE AGREEMENT TMS1002

    NG: REPLACE HEADLIGHT BULB (HIGH) 

    OK: Go TO NEXT STEP. 

  4. CHECK WIRE HARNESS (BATTERY - NO. 2 DAYTIME RUNNING LIGHT RELAY) 
    1. Remove the No. 2 daytime running light relay from the engine room No. 2 relay block.
    2. Measure the voltage of the relay block.

      Standard voltage 

      VOLTAGE SPECIFIED CONDITIONS

      Tester Connection Specified Condition
      Relay block daytime running light No. 2 relay terminal 5 - Body ground 10 to 14 V
      Fig 3: Locating No. 2 Daytime Running Light Relay
      G04490744Courtesy of © TOYOTA, LICENSE AGREEMENT TMS1002

    NG: REPAIR OR REPLACE HARNESS AND CONNECTOR 

    OK: Go TO NEXT STEP. 

  5. CHECK WIRE HARNESS (NO. 2 DAYTIME RUNNING LIGHT RELAY - HEADLIGHT BULB AND BODY GROUND) 
    1. Remove the No. 2 daytime running light relay from the engine room No. 2 relay block.
    2. Disconnect the A14 and A22 headlight (HIGH) connectors.
    3. Measure the resistance of the wire harness side connectors and relay block.

      Standard resistance 

      RESISTANCE SPECIFIED CONDITIONS

      Tester Connection Specified Condition
      Relay block daytime running light No. 2 relay terminal 3 - A14-2 Below 1 Ω
      A14-2 - Body ground 10 kΩ or higher
      A14-1 - A22-1 Below 1 Ω
      A14-1 - Body ground 10 kΩ or higher
      A22-2 - Body ground Below 1 Ω
      Fig 4: Identifying A14 And A22 Headlight (HIGH) Connectors
      G04490745Courtesy of © TOYOTA, LICENSE AGREEMENT TMS1002

    NG: REPAIR OR REPLACE HARNESS AND CONNECTOR 

    OK: Go TO NEXT STEP. 

  6. CHECK WIRE HARNESS (MAIN BODY ECU - BATTERY) 
    1. Disconnect the E16 main body ECU connector.
    2. Measure the voltage of the wire harness side connector.

      Standard voltage 

      VOLTAGE SPECIFIED CONDITIONS

      Tester Connection Specified Condition
      E16-3 (DIM) - Body ground 10 to 14 V
      Fig 5: Identifying E16 Main Body ECU Connector Terminal
      G04490746Courtesy of © TOYOTA, LICENSE AGREEMENT TMS1002

    NG: REPAIR OR REPLACE HARNESS AND CONNECTOR 

    OK: REPLACE INSTRUMENT PANEL JUNCTION BLOCK (MAIN BODY ECU)