LEMON Manuals: Even more car manuals for everyone: 1960-2025
Home >> Lexus >> 2007 >> RX 400h AWD >> Repair and Diagnosis >> External Pages >> Different car >> Section 176 (Lighting System) >> Lighting System >> Headlight Relay Circuit >> Inspection Procedure
April 5, 2026: LEMON Manuals is launched! Read the announcement.

Inspection Procedure

WARNING: This page is about a different car, the 2007 Toyota RAV4. However, it is still accessible from the selected car via links, so may be relevant.
  1. PERFORM ACTIVE TEST BY INTELLIGENT TESTER (HEADLIGHT) 
    1. Connect the intelligent tester (with CAN VIM) to the DLC3.
    2. Turn the ignition switch ON and press the intelligent tester main switch ON.
    3. Select the item below in the ACTIVE TEST and then check the relay operation.

      Main body ECU 

      ACTIVE TEST REFERENCE (MAIN BODY ECU)

      Item Test Details: Display (Range) Diagnostic Note
      HEAD LIGHT Headlight Relay ON/OFF -

      OK: Headlight comes on 

    OK: Go to step   7 

    NG: Go TO NEXT STEP. 

  2. INSPECT FUSE (HEAD LL, HEAD RL) 
    1. Remove the HEAD LL fuse and HEAD RL fuse from the engine room No. 2 relay block.
    2. Measure the resistance of the fuses.

      Standard resistance: 

      Below 1 Ω 

    NG: REPLACE FUSE 

    OK: Go TO NEXT STEP. 

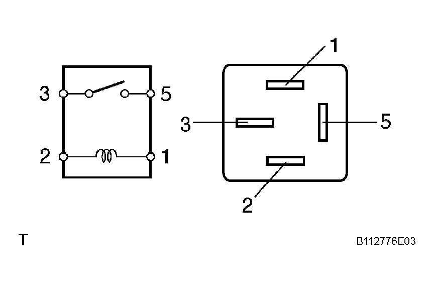
  3. INSPECT HEADLIGHT RELAY (Marking: HEAD) 
    1. Remove the headlight relay from the engine room No. 2 relay block.
    2. Measure the resistance of the relay.

      Standard resistance 

      RESISTANCE SPECIFIED CONDITIONS

      Tester Connection Specified Condition
      3 - 5 10 kΩ or higher
      3 - 5 Below 1 Ω
      (Battery voltage applied to terminals 1 and 2)
      Fig 1: Identifying Headlight Relay (Marking: HEAD) Connector Terminals
      G04490735Courtesy of © TOYOTA, LICENSE AGREEMENT TMS1002

    NG: REPLACE HEADLIGHT RELAY 

    OK: Go TO NEXT STEP. 

  4. INSPECT BULB (HEADLIGHT BULB) 
    1. Remove the headlight bulbs (LOW).
    2. Connect the positive (+) lead from the battery to terminal 2 and the negative (-) lead to terminal 1, then check that the bulb illuminates.
      Fig 2: Battery Connection To Headlight Bulb Terminals
      G04490736Courtesy of © TOYOTA, LICENSE AGREEMENT TMS1002

      OK: Bulb illuminates. 

    NG: REPLACE BULB 

    OK: Go TO NEXT STEP. 

  5. CHECK WIRE HARNESS (MAIN BODY ECU - BATTERY) 
    1. Disconnect the E15 main body ECU connector.
    2. Measure the voltage of the wire harness side connector.

      Standard voltage 

      VOLTAGE SPECIFIED CONDITIONS

      Tester Connection Specified Condition
      E15-20 (HRLY) - Body ground 10 to 14 V
      Fig 3: Identifying E15 Main Body ECU Connector Terminals
      G04490737Courtesy of © TOYOTA, LICENSE AGREEMENT TMS1002

    NG: REPAIR OR REPLACE HARNESS AND CONNECTOR 

    OK: Go TO NEXT STEP. 

  6. CHECK INSTRUMENT PANEL JUNCTION BLOCK (MAIN BODY ECU) 
    1. Measure the voltage of the main body ECU.

      Standard voltage 

      VOLTAGE SPECIFIED CONDITIONS

      Tester Connection Condition Specified Condition
      E15-20 (HRLY) - Body ground Light control switch OFF 10 to 14 V
      E15-20 (HRLY) - Body ground Light control switch HEAD Below 1 V
      Fig 4: Identifying E15 Main Body ECU Connector Terminals
      G04490738Courtesy of © TOYOTA, LICENSE AGREEMENT TMS1002

    NG: REPLACE INSTRUMENT PANEL JUNCTION BLOCK (MAIN BODY ECU) 

    OK: REPAIR OR REPLACE HARNESS AND CONNECTOR (HEAD RELAY - HEADLIGHT BULB AND BODY GROUND) 

  7. CHECK WIRE HARNESS (HEADLIGHT DIMMER SWITCH - MAIN BODY ECU) 
    1. Disconnect the E17 main body ECU connector.
    2. Disconnect the E12 headlight dimmer switch connector.
    3. Measure the resistance of the wire harness side connectors.

      Standard resistance 

      RESISTANCE SPECIFIED CONDITIONS

      Tester Connection Specified Condition
      E17-12 (HEAD) - E12-20 (H) Below 1 Ω
      E17-12 (HEAD) or E12-20 (H) - Body ground 10 kΩ or higher
      Fig 5: Identifying E12 Headlight Dimmer Switch & E12 Main Body ECU Connector Terminals
      G04490739Courtesy of © TOYOTA, LICENSE AGREEMENT TMS1002

    NG: REPAIR OR REPLACE HARNESS AND CONNECTOR 

    OK: Go TO NEXT STEP. 

  8. INSPECT HEADLIGHT DIMMER SWITCH 
    1. Disconnect the E12 headlight dimmer switch.
    2. Measure the resistance of the switch.

      Standard resistance 

      RESISTANCE SPECIFIED CONDITIONS

      Tester Connection Switch Condition Specified Condition
      18 (T) - 12 (EL) TAIL Below 1 Ω
      18 (T) - 12 (EL) OFF 10 kΩ or higher
      20 (H) - 12 (EL) HEAD Below 1 Ω
      20 (H) - 12 (EL) OFF 10 kΩ or higher
      16 (HL) - 12 (EL) LOW Below 1 Ω
      16 (HL) - 12 (EL) HIGH 10 kΩ or higher
      Fig 6: Identifying E12 Headlight Dimmer Switch Connector Terminals
      G04490740Courtesy of © TOYOTA, LICENSE AGREEMENT TMS1002

    NG: REPLACE HEADLIGHT DIMMER SWITCH ASSEMBLY 

    OK: REPAIR OR REPLACE HARNESS AND CONNECTOR (HEADLIGHT DIMMER SWITCH - BODY GROUND)