LEMON Manuals: Even more car manuals for everyone: 1960-2025
Home >> Lexus >> 2007 >> RX 400h AWD >> Repair and Diagnosis >> External Pages >> Different car >> Section 2 (Supplemental Restraint System) >> Occupant Classification System >> DTC B1795 Occupant Classification ECU Malfunction >> Wiring Diagram
April 5, 2026: LEMON Manuals is launched! Read the announcement.

DTC B1795 Occupant Classification ECU Malfunction: Wiring Diagram

WARNING: This page is about a different car, the 2006 Lexus RX 400h. However, it is still accessible from the selected car via links, so may be relevant.
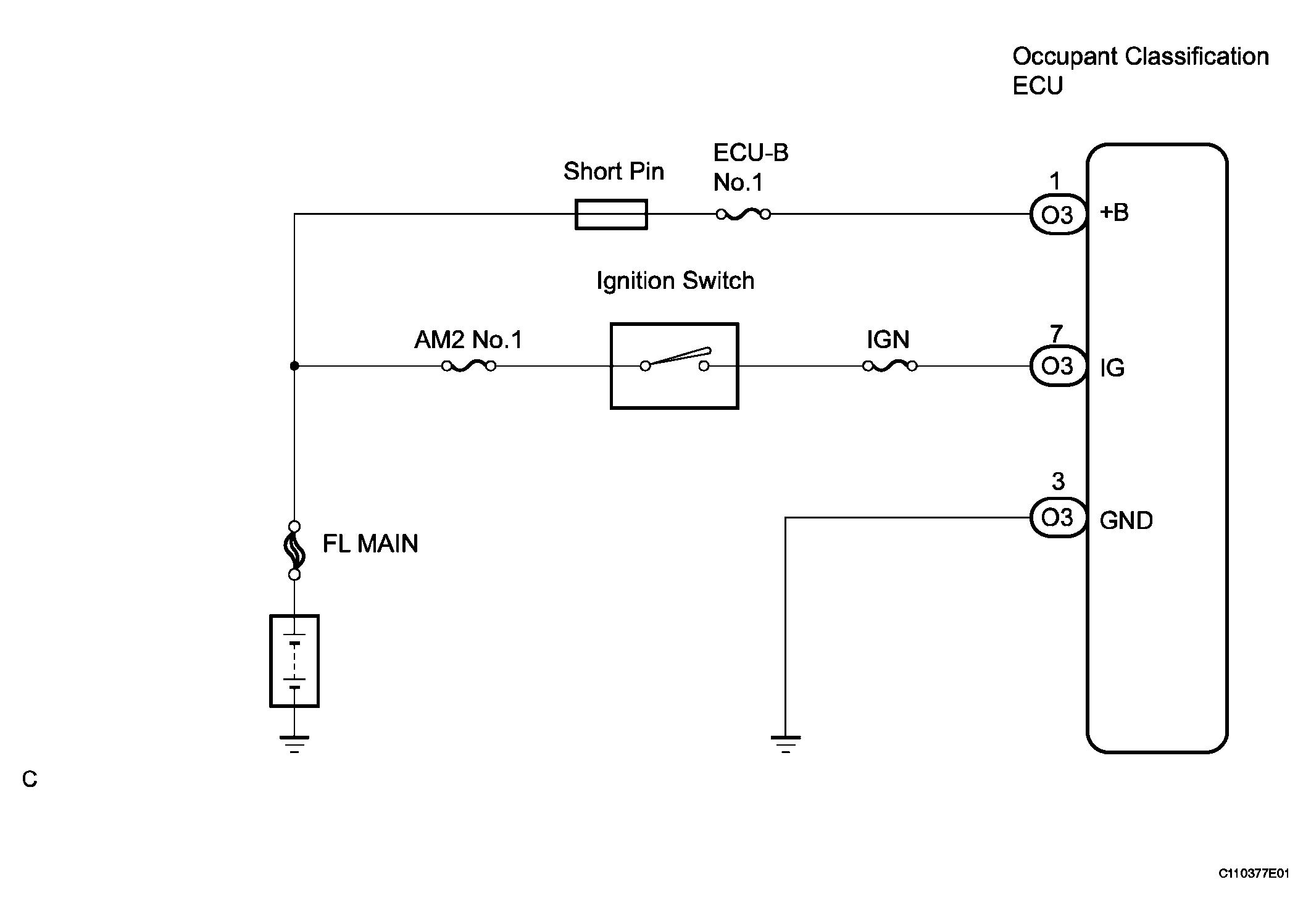
Fig 1: Occupant Classification ECU Wiring Diagram
G04114522Courtesy of © TOYOTA, LICENSE AGREEMENT TMS1002
  1. CHECK DTC 
    1. Turn the ignition switch to the ON position, and wait for at least 10 seconds.
    2. Check the DTCs (See DTC CHECK / CLEAR  ).

      Result: 

      A: DTCs B1771 and B1795 are output. 

      B: DTC B1795 is output. 

      HINT:

      Codes other than DTC B1771 and B1795 may be output at this time, but they are not related to this check.

    A : GO TO  DTC B1771  

    B : GO TO NEXT STEP 

  2. CHECK FUSE 
    1. Measure the resistance of the ECU-B fuse.

      Resistance: Below 1 Ω 

    NG : REPLACE FUSE 

    OK : GO TO NEXT STEP 

  3. CHECK WIRE HARNESS (SOURCE VOLTAGE) 
    1. Turn the ignition switch to the LOCK position.
    2. Disconnect the negative (-) terminal cable from the battery.
    3. Disconnect the connector from the occupant classification ECU.
    4. Connect the negative (-) terminal cable to the battery.
    5. Turn the ignition switch to the ON position.
    6. Measure the voltage according to the value(s) in the table below.

      Voltage 

      VOLTAGE SPECIFIED CONDITIONS

      Tester connection Condition Specified condition
      O3-1 (+B) - Body ground Always 10 to 14 V
      O3-7 (IG) - Body ground Ignition switch ON 10 to 14 V
    7. Turn the ignition switch to the LOCK position.
    8. Measure the resistance according to the value(s) in the table below.

      Resistance 

      RESISTANCE SPECIFIED CONDITIONS

      Tester connection Condition Specified condition
      O3-3 (GND) - Body ground Always Below 1 Ω
      Fig 2: Identifying Connector Terminals
      G04114523Courtesy of © TOYOTA, LICENSE AGREEMENT TMS1002

    NG : REPAIR OR REPLACE WIRE HARNESS 

    OK : GO TO NEXT STEP 

  4. REPLACE OCCUPANT CLASSIFICATION ECU 
    1. Turn the ignition switch to the LOCK position.
    2. Disconnect the negative (-) terminal cable from the battery.
    3. Replace the OCCUPANT CLASSIFICATION ECU  .

      HINT:

      Perform the inspection using parts from a normal vehicle if possible.

  5. PERFORM ZERO POINT CALIBRATION 
    1. Connect the negative (-) terminal cable to the battery.
    2. Connect the intelligent tester to the DLC3.
    3. Turn the ignition switch to the ON position.
    4. Using the intelligent tester, perform "Zero point calibration" (See  1 ).

      OK: The "COMPLETED" is displayed. 

  6. PERFORM SENSITIVITY CHECK 
    1. Using the intelligent tester, perform "Sensitivity check" (See  1 ).

      Standard values: 27 to 33 kg (59.52 to 72.75 lb) 

    END