LEMON Manuals: Even more car manuals for everyone: 1960-2025
Home >> Lexus >> 2007 >> RX 400h AWD >> Repair and Diagnosis >> External Pages >> Different car >> Section 21 (Axle) >> Axle System >> System Diagram
April 5, 2026: LEMON Manuals is launched! Read the announcement.

System Diagram

WARNING: This page is about a different car, the 2006 Lexus RX 400h. However, it is still accessible from the selected car via links, so may be relevant.
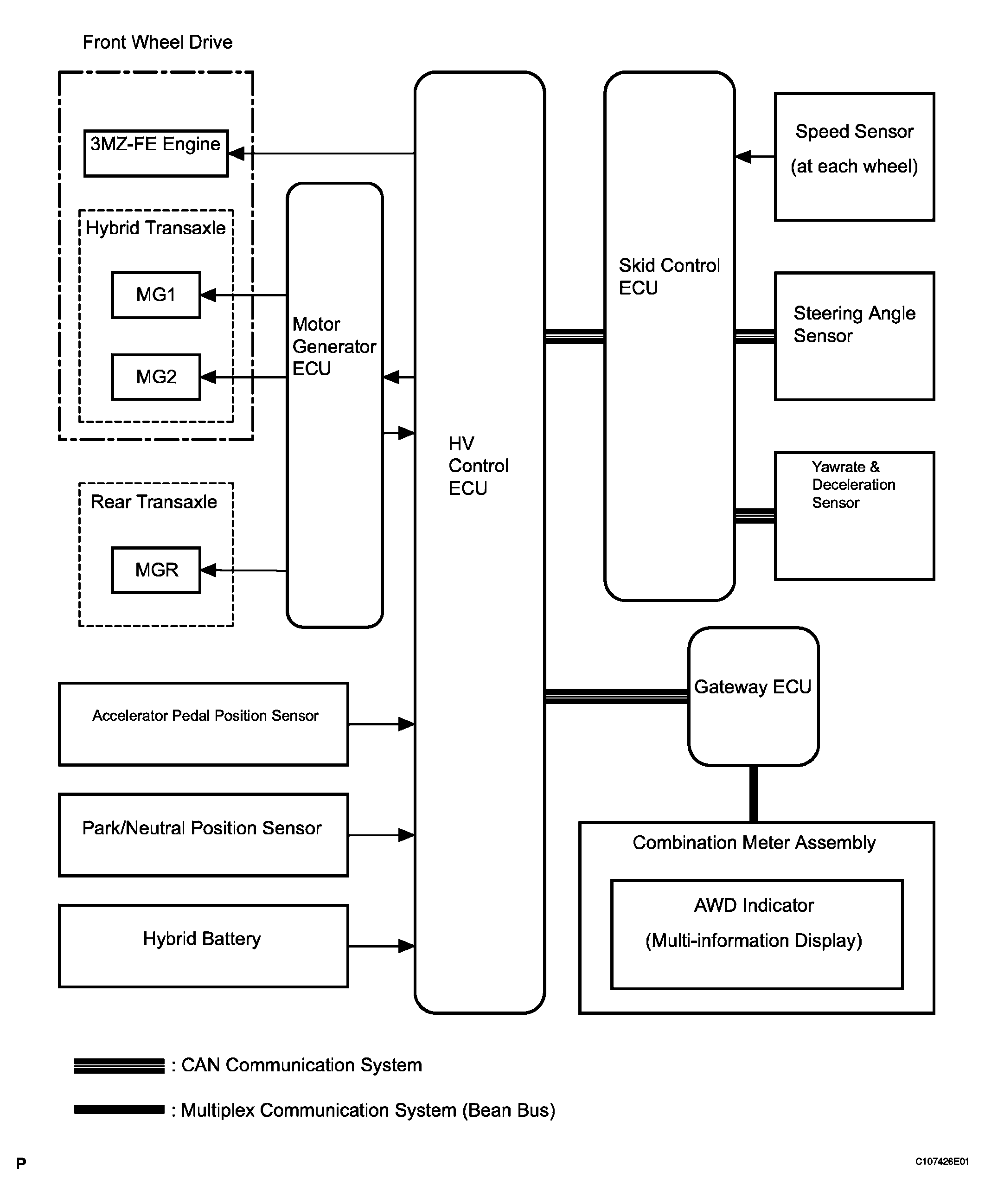
Fig 1: Identifying Axle System Diagram
G04112905Courtesy of © TOYOTA, LICENSE AGREEMENT TMS1002
TRANSMITTING ECU (TRANSMITTER) COMMUNICATION METHOD

Transmitting ECU (Transmitter) Receiving ECU Signals Communication method
HV Control ECU Skid Control ECU
  • Maintenance mode
  • HV system valid flag 2
  • MGR revolution angle sensor signal
  • MGR revolution
  • MG1, MG2 revolutions
  • Maximum controllable torque Fr, Rr
  • Minimum controllable torque Fr, Rr
  • MGR torque control ratio
  • Operating torque Rr
  • Regeneration decline notice Rr
  • Operating torque distinction, Fr, Rr
  • Regeneration permission flag Fr, Rr
  • Operating torque Fr
  • 4WD demand from HV control ECU
  • Shift position signal
  • Skid control ECU --> HV control ECU communication fault
  • Regeneration fault flag
  • Basic drive force
  • Basic drive force Fr
  • Basic drive force Rr
  • HV system valid flag
  • Acceleration output
CAN Communication System
Skid Control ECU HV Control ECU
  • 4WD priority
  • 4WD in operation
  • 4WD Hi range demand
  • Demanded driving torque Rr
  • Regeneration demand Fr, Rr
  • Torque-up demand Fr, Rr
  • Driving force distribution ratio
  • Brake torque (on drive shaft axis)
  • Acceleration signal Fr, Rr
  • Wheel speed signal (4 wheels)
  • HV control ECU --> Skid control ECU communication logic fault
  • AWD warning illumination demand
  • VSC, TRC torque controlled Rr
  • HV control ECU --> Skid control ECU communication line fault
CAN Communication System
HV Control ECU Combination Meter Assembly (Meter CPU)
  • AWD warning illumination demand
  • CAN Communication System
  • Multiplex Communication System (BEAN Bus)