LEMON Manuals: Even more car manuals for everyone: 1960-2025
Home >> Lexus >> 2007 >> RX 400h AWD >> Repair and Diagnosis >> External Pages >> Different car >> Section 234 (Lighting System) >> Lighting System >> Stop Light Switch Circuit >> Inspection Procedure
April 5, 2026: LEMON Manuals is launched! Read the announcement.

Inspection Procedure

WARNING: This page is about a different car, the 2008 Toyota Yaris. However, it is still accessible from the selected car via links, so may be relevant.
  1. INSPECT FUSE (STOP) 
    1. Remove the STOP fuse from the main body ECU.
    2. Measure the resistance.

      Standard resistance: Below 1 Ω 

    3. Reinstall the STOP fuse.

    NG: REPLACE FUSE 

    OK: GO TO NEXT STEP 

  2. INSPECT BULB (REAR STOP LIGHT BULB) 
    1. Hatchback:
      1. Remove the high mounted stop light assembly.
      2. Remove the rear combination light assembly.
      3. Apply battery voltage to the terminals and check that the rear stop light and high mounted stop light illuminates.

        Standard: High Mounted Stop Light 

        HIGH MOUNTED STOP LIGHT REFERENCE CHART

        Measurement Condition Standard
        Positive battery - Terminal 1
        Negative battery - Terminal 2
        High mounted stop light Illuminates

        Rear Stop Light 

        REAR STOP LIGHT REFERENCE CHART

        Measurement Condition Standard
        Positive battery - Terminal 5
        Negative battery - Terminal 6
        Rear stop light Illuminates
      4. Reinstall the high mounted stop light assembly.
      5. Reinstall the rear combination light assembly.
        Fig 1: Identifying Terminals Of Rear Combination Light Assembly Connector (Hatchback)
        G04832660Courtesy of © TOYOTA, LICENSE AGREEMENT TMS1002
    2. Sedan:
      1. Remove the high mounted stop light assembly.
      2. Remove the rear combination light assembly.
      3. Apply battery voltage to the terminals and check that the rear stop light and high mounted stop light illuminates.

        Standard: High Mounted Stop Light (w/ Rear Spoiler) 

        HIGH MOUNTED STOP LIGHT REFERENCE CHART

        Measurement Condition Standard
        Positive battery - Terminal 2
        Negative battery - Terminal 1
        High mounted stop light Illuminates

        High Mounted Stop Light (w/o Rear Spoiler) 

        HIGH MOUNTED STOP LIGHT REFERENCE CHART

        Measurement Condition Standard
        Positive battery - Terminal 1
        Negative battery - Terminal 2
        High mounted stop light illuminates

        Rear Stop Light 

        REAR STOP LIGHT REFERENCE CHART

        Measurement Condition Standard
        Positive battery - Terminal 1
        Negative battery - Terminal 6
        Rear stop light illuminates
      4. Reinstall the high mounted stop light assembly.
      5. Reinstall the rear combination light assembly.
    3. Fig 2: Identifying Terminals Of Rear Combination Light Assembly Connector (Sedan)
      G04832661Courtesy of © TOYOTA, LICENSE AGREEMENT TMS1002

    NG: REPLACE BULB 

    OK: GO TO NEXT STEP 

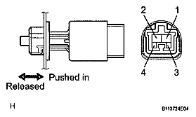
  3. INSPECT STOP LIGHT SWITCH 
    1. Remove the stop light switch.
    2. Measure the resistance.

      Standard resistance 

      TESTER CONNECTION SPECIFIED CONDITION CHART

      Tester Connection Condition Specified Condition
      1-2 Switch pin released Below 1 Ω
      3-4 Switch pin pushed In 10 kΩ or higher
      1-2 Switch pin pushed in 10 kΩ or higher
      3-4 Switch pin released Below 1 Ω
    3. Reinstall the stop light switch.
    4. Fig 3: Identifying Terminals Of Stop Light Switch Connector
      G04832662Courtesy of © TOYOTA, LICENSE AGREEMENT TMS1002

    NG: REPLACE STOP LIGHT SWITCH 

    OK: GO TO NEXT STEP 

  4. CHECK HARNESS AND CONNECTOR (FUSE - STOP LIGHT SWITCH) 
    1. Disconnect the A13 stop light switch connector.
    2. Measure the voltage.

      Standard voltage 

      TESTER CONNECTION SPECIFIED CONDITION CHART

      Tester Connection Condition Specified Condition
      A13-2-Body ground Always 11 to 14 V
    3. Reconnect the stop light switch connector.
    4. Fig 4: Identifying Terminals Of A13 Stop Light Switch Connector
      G04832663Courtesy of © TOYOTA, LICENSE AGREEMENT TMS1002

    NG: REPAIR OR REPLACE HARNESS OR CONNECTOR 

    OK: GO TO NEXT STEP 

  5. CHECK HARNESS AND CONNECTOR (STOP LIGHT SWITCH - REAR STOP LIGHT) 
    1. Hatchback:
      1. Disconnect the A13 stop light switch connector.
      2. Disconnect the J3 and J4 rear combination light assembly connectors.
      3. Disconnect the M1 high mounted stop light assembly connector.
      4. Measure the resistance.

        Standard resistance 

        TESTER CONNECTION SPECIFIED CONDITION CHART

        Tester Connection Specified Condition
        A13-1-J3-5 Below 1 Ω
        A13-1 - J4-5 Below 1 Ω
        A13-1 -M1-1 Below 1 Ω
        A13-1 or J3-5 - Body ground 10 kΩ or higher
        A13-1 or J4-S - Body ground 10 kΩ or higher
        A13-1 or M1-1 -Body ground 10 kΩ or higher
      5. Reconnect the stop light switch connector.
      6. Reconnect the rear combination light assembly connectors.
      7. Reconnect the high mounted stop light assembly connector.
        Fig 5: Identifying Terminals Of A13 Stop Light Switch Connector
        G04832664Courtesy of © TOYOTA, LICENSE AGREEMENT TMS1002
    2. Sedan:
      1. Disconnect the A13 stop light switch connector.
      2. Disconnect the J34 and J35 rear combination light assembly connectors.
      3. Remove the high mounted stop light assembly. (With rear spoiler)
      4. Disconnect the J40 high mounted stop light assembly connector. (Without rear spoiler)
      5. Measure the resistance.

        Standard resistance 

        TESTER CONNECTION SPECIFIED CONDITION CHART

        Tester Connection Specified Condition
        A13-1-J34-1 Below 1 Ω
        A13-1-J35-1 Below 1 Ω
        A13-1 - High mounted stop light connector-2(1) Below 1 Ω
        A13-1-J40-1(2) Below 1 Ω
        A13-1 or J34-1 - Body ground 10 kΩ or higher
        A13-1 or J35-1-Body ground 10 kΩ or higher
        A13-1 or High mounted stop light connector-2(1) - Body ground 10 kΩ or higher
        A13-1 or J40-1(2) - Body ground 10 kΩ or higher
        (1) w/Rear spoiler
        (2) w/o Rear spoiler
      6. Reconnect the stop light switch connector.
      7. Reconnect the rear combination light assembly connectors.
      8. Reinstall the high mounted stop light assembly connector. (With rear spoiler)
      9. Reconnect the high mounted stop light assembly connector. (Without rear spoiler)
      10. Fig 6: Identifying Terminals Of A13 Stop Light Switch Connector
        G04832665Courtesy of © TOYOTA, LICENSE AGREEMENT TMS1002

      NG: REPAIR OR REPLACE HARNESS OR CONNECTOR 

      OK: REPAIR OR REPLACE HARNESS OR CONNECTOR (REAR STOP LIGHT - BODY GROUND)