LEMON Manuals: Even more car manuals for everyone: 1960-2025
Home >> Lexus >> 2007 >> RX 400h AWD >> Repair and Diagnosis >> External Pages >> Different car >> Section 318 (Audio System & Visual System) >> Audio And Visual System >> DTC Check / Clear
April 5, 2026: LEMON Manuals is launched! Read the announcement.

DTC Check / Clear

WARNING: This page is about a different car, the 2008 Toyota RAV4. However, it is still accessible from the selected car via links, so may be relevant.

HINT:

  1. STARTING DIAGNOSTIC MODE 
    Fig 1: Identifying Audio System Switches
    G05586247Courtesy of © TOYOTA, LICENSE AGREEMENT TMS1002
    1. Turn off the audio system and turn the ignition switch to ACC. While pressing the preset switches "1" and "6" at the same time, press the "DISC" switch 3 times.
  2. ALL ELEMENT ILLUMINATE MODE AND SWITCH INSPECTION MODE 

    HINT:

    • When the system enters the diagnostic mode, a "beep" sound is emitted 3 times and all the elements turn on during the switch check mode.
    • It takes about 40 seconds to complete the check.
      Fig 2: Identifying Switch Inspection Mode
      G05586248Courtesy of © TOYOTA, LICENSE AGREEMENT TMS1002
    • All elements on the LCD will illuminate. Check that the element illuminates are not malfunction.
    • When pressing a switch, confirm that a beep sound is emitted. At that time, press the SEEK TRACK UP switch to a mode where the stereo jack adapter connection check can be performed.
  3. AUX ADAPTER 
    1. Press the "SEEK TRACK UP" switch.
    2. Check if the aux adapter has been recognized.

      HINT:

      Even if the vehicle does not have an aux adapter, this recognition function is available.

      NOTE: This recognition function is for checking if the recognition information of the aux adapter. This function is not for checking the connection information of external devices.
      Fig 3: Identifying AUX Adapter
      G05586249Courtesy of © TOYOTA, LICENSE AGREEMENT TMS1002
  4. SERVICE CHECK MODE 
    1. Press the "SEEK TRACK UP" switch.

      HINT:

      For details about the service check mode, refer to the " 6CHECK DTC" and " 7DTC CLEAR/RECHECK procedures.

  5. FINISHING DIAGNOSTIC MODE 
    1. Press the "DISC" switch for 2 seconds or more, or turn the ignition switch off.
  6. CHECK DTC 

    HINT:

    Illuminations may differ from the actual vehicle depending on the device setting and options. Therefore, some detailed areas may not be shown exactly the same as on the actual vehicle.

    1. Reference:

      In the system check mode, the system check and the diagnostic memory check are performed, and the check results are displayed in ascending order of the component codes (physical address).

      MEANING TERMS CHART

      Terms Meaning
      Physical address (component code) Three-digit code (in hexadecimals) given to each component of AVC-LAN. Individual symbol is provided corresponding to each function.
      Logical address Two-digit code (in hexadecimals) given to each function and component unit in each component of AVC-LAN.
    2. Service check result display
      RESULT DISPLAY CHART

      Display Original Language Meaning Action to be Taken
      good Good (normal) No DTCs are detected in both "System Check Mode" and "Diagnostic Memory Mode". -
      nCon No connection System recognized component when it was registered, but component gives no response to "Diagnostic Mode ON Request". Check power source circuit and communication circuit of component indicated by component code (physical address).
      ECHn Exchange One or more DTCs for "Exchange" are detected in either "System Check Mode" or "Diagnostic Memory Mode". Go to detailed information mode to check trouble area on DTC list.
      CHEC Check When no DTCs are detected for "Exchange", one or more DTCs for "Check" are detected in either "System Check Mode" or "Diagnostic Memory Mode". Go to detailed information mode to check trouble area on DTC list.
      OLd Old version Old DTC application is identified and DTC is detected in either "System Check Mode" or "Diagnostic Memory Mode". -
      nrES No response Device gives no response to "System Check Mode ON Request", "System Check Result Request" or "Diagnostic Memory Request". Check power source circuit and communication circuit of component indicated by component code (physical address).
    3. Device name and physical address.
      DEVICE NAME AND PHYSICAL ADDRESS REFERENCE CHART

      Physical address No. Name
      190 Radio receiver
      440 Stereo component amplifier
      1B0 Television display
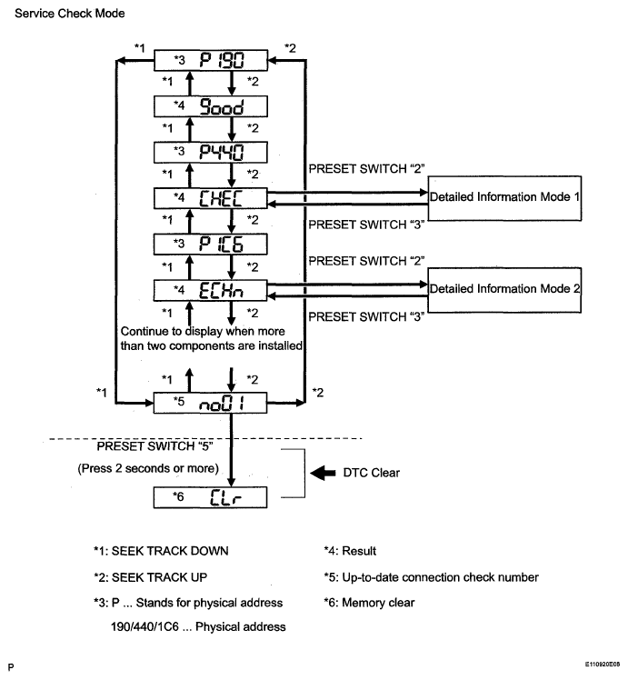
    4. Service check mode.
      1. Press the "SEEK TRACK" switch to see the check result of each component.
      2. The component code (physical address) is displayed first, and then the check result follows.

        HINT:

        • If all check results are "good", the system judges that no DTC exists.
        • If the preset switch "1" is pressed in the service check mode, service check is performed again.
        • This illumination is only an example and may differ in cases such as for each option part and output DTCs.
          Fig 4: Identifying Service Check Mode Diagnosis Procedure
          G05586250Courtesy of © TOYOTA, LICENSE AGREEMENT TMS1002
    5. Detailed information mode 1

      HINT:

      • "Detailed information mode 1" is displayed when there is no response to "System Check Result Request" and DTC is detected only in "Diagnostic Memory Request".
      • The component device code (physical address) is displayed first, and then the check result follows.
      • This illumination is only an example and may differ in cases such as for each option part and output DTCs.
      1. Press the preset switch "2" to go to the  e"Detailed Information Mode 1".
      2. Press the "SEEK TRACK" switch to display the physical address and DTC of the component.
      3. Press the preset switch "3" to go to the  4"Service Check Mode".
      4. Distinguish between the displays of the responses to "System Check Result Request" and "Diagnostic Memory Request". In order to distinguish the information detected in "System Check Mode" and "Diagnostic Memory Mode" in "ECHn", "CHEC", and "old" in "Detailed Information Mode 1", refer to the following:
        • "SyS" is displayed before the detailed codes detected as a result of "System Check Result Request" are displayed.
        • "CodE" is displayed before the detailed codes detected as a result of "Diagnostic Memory Request" are displayed.

        HINT:

        • The response to "System Check Result Request" is the current information given from each ECU as a result of the system check.
        • The response to "Diagnostic Memory Request" contains the information received from each ECU or stored in each ECU in the past.
        • The response to "Diagnostic Memory Request" is that DTCs as a result of the diagnostic memory check are output, or the DTCs received from each ECU.
        • "System Check Result Request (SyS)" is displayed first, and then the logical address and DTC appear in order.
        • "Diagnostic Memory Request (CodE)" is displayed first, and then the logical address, DTC, sub-code, connection check number, and the number of occurrence appear in order.
          Fig 5: Identifying Service Check Mode Diagnosis Procedure - Detailed Information Mode 1
          G05586251Courtesy of © TOYOTA, LICENSE AGREEMENT TMS1002
    6. Detailed information mode 2

      HINT:

      • "Detailed information mode 2" is displayed when DTCs are detected in the responses to both "System Check Result Request" and "Diagnostic Memory Request".
      • The component device code (physical address) is displayed first, and then the check result follows.
      • This illumination is only an example and may differ in cases such as for each option part and output DTCs.
      1. Press the preset switch "2" to go to the  f"Detailed Information Mode 2".
      2. Press the "SEEK TRACK" switch to display the physical address and DTC of the component.
      3. Press the preset switch "3" to go to the  4"Service Check Mode".
      4. Distinguish between the displays of the responses to "System Check Result Request" and "Diagnostic Memory Request". In order to distinguish the information detected in "System Check Mode" and "Diagnostic Memory Mode" in "ECHn", "CHEC", and "old" in "Detailed Information Mode 2", refer to the following:
        • "SyS" is displayed before the detailed codes detected as a result of "System Check Result Request" are displayed.
        • "CodE" is displayed before the detailed codes detected as a result of "Diagnostic Memory Request" are displayed.

        HINT:

        • The response to "System Check Result Request" is the current information given from each ECU as a result of the system check.
        • The response to "Diagnostic Memory Request" contains the information received from each ECU or stored in each ECU in the past.
        • The response to "Diagnostic Memory Request" is that DTCs as a result of the diagnostic memory check are output, or the DTCs received from each ECU.
        • "System Check Result Request (SyS)" is displayed first, and then the logical address and DTC appear in order.
        • "Diagnostic Memory Request (CodE)" is displayed first, and then the logical address, DTC, sub-code, connection check number, and the number of occurrence appear in order.
          Fig 6: Identifying Service Check Mode Diagnosis Procedure - Detailed Information Mode 2
          G05586252Courtesy of © TOYOTA, LICENSE AGREEMENT TMS1002
  7. DTC CLEAR/RECHECK 
    Fig 7: Identifying Audio System Switches
    G05586253Courtesy of © TOYOTA, LICENSE AGREEMENT TMS1002
    1. Clearing all DTC Memory (when clearing all the memory of the DTCs previously detected).
      1. When the preset switch "5" is pressed for 2 seconds or more during "Service Check Mode", the DTCs for all components are cleared. ("CIr" is displayed at this time.)

        HINT:

        • A beep sound is emitted once when the DTC memory is completely cleared.
        • When the DTC memory for all the components is cleared, only the component codes (physical address) are displayed.
        • After the DTC memory is cleared, the "Service Check Mode" is restored.
    2. Clearing Individual DTC Memory (when clearing the memory of the DTC previously detected individually).
      1. When the preset switch "5" is pressed for 2 seconds or more during "Detailed Information Mode 1" or "Detailed Information Mode 2", the DTCs for the target component are cleared.

        HINT:

        • A beep sound is emitted once when the DTC memory is completely cleared.
        • When the DTC memory is cleared, only the component code (physical address) is displayed for target component.
        • After the DTC memory is cleared, the "Service Check Mode" is restored.
        • To check DTCs, press the preset switch "1" and perform the system check again.
    3. Press the preset switch "1" to perform the service check again, and check that no DTCs are displayed for all the component codes (physical address).