LEMON Manuals: Even more car manuals for everyone: 1960-2025
Home >> Lexus >> 2007 >> RX 400h AWD >> Repair and Diagnosis >> External Pages >> Different car >> Section 32 (Lighting) >> Lighting System >> Height Control Sensor Circuit >> Wiring Diagram
April 5, 2026: LEMON Manuals is launched! Read the announcement.

Height Control Sensor Circuit: Wiring Diagram

WARNING: This page is about a different car, the 2006 Lexus RX 400h. However, it is still accessible from the selected car via links, so may be relevant.
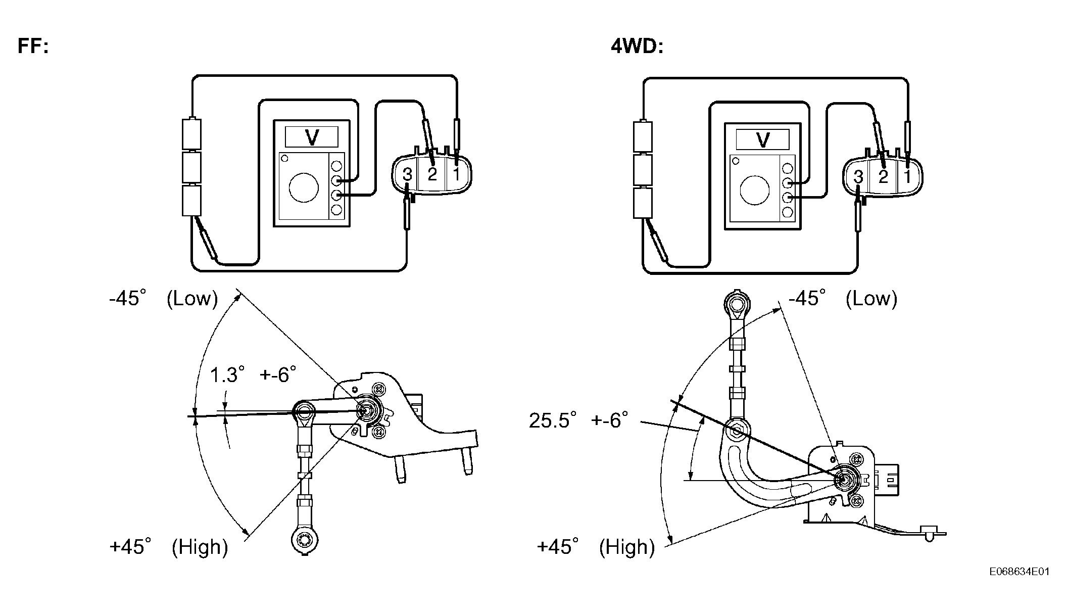
Fig 1: Wiring Diagram - Height Control Sensor Circuit
G04115046Courtesy of © TOYOTA, LICENSE AGREEMENT TMS1002
  1. INSPECT HEIGHT CONTROL SENSOR SUB-ASSEMBLY REAR RH 
    1. Connect 3 dry cell batteries (1.5 V) in a series.
    2. Connect the positive (+) lead from the battery to terminal 1 and negative (-) lead from the battery to terminal 3.
    3. Measure voltage between terminal 2 and terminal 3 when slowly move the link up and down.
      Fig 2: Inspecting Height Control Sensor Sub-Assembly Rear RH
      G04115047Courtesy of © TOYOTA, LICENSE AGREEMENT TMS1002

      Voltage 

      LINK ANGLE - STANDARD VOLTAGE

      Link Angle Standard voltage
      +45° (High) 4.5 V
      0° (Normal) 2.5 V
      -45° (Low) 0.5 V

    NG : REPLACE HEIGHT CONTROL SENSOR SUBASSEMBLY REAR RH 

    OK : GO TO NEXT STEP 

  2. CHECK HARNESS AND CONNECTOR (HEIGHT CONTROL SENSOR REAR RH - LEVEL CONTROL ECU) 
    1. Disconnect the H26 connector of height control sensor sub-assembly and the H17 connector of headlight leveling ECU assembly.
    2. Measure the resistance according to the value(s) in the table below.
      Fig 3: Identifying H26 Connector And H17 Connector Of Headlight Leveling ECU Assembly
      G04115048Courtesy of © TOYOTA, LICENSE AGREEMENT TMS1002

      Resistance 

      TESTER CONNECTION - SPECIFIED CONDITION (RESISTANCE)

      Tester connection Condition Specified condition
      H17-16 (SGR) - H26-1 (SHG) Always Below 1 Ω
      H17-18 (SHR) - H26-2 (SHRR) Always Below 1 Ω
      H17-20 (SBR) - H26-3 (SHB) Always Below 1 Ω
      H26-1 (SHG) - Body ground Always 10 kΩ or higher
      H26-2 (SHRR) - Body ground Always 10 kΩ or higher
      H26-3 (SHB) - Body ground Always 10 kΩ or higher

    NG : REPAIR OR REPLACE HARNESS OR CONNECTOR 

    OK : PROCEED TO NEXT CIRCUIT INSPECTION SHOWN IN  PROBLEM SYMPTOMS TABLE