LEMON Manuals: Even more car manuals for everyone: 1960-2025
Home >> Lexus >> 2007 >> RX 400h AWD >> Repair and Diagnosis >> External Pages >> Different car >> Section 32 (Lighting) >> Lighting System >> Light Control Switch Circuit >> Wiring Diagram
April 5, 2026: LEMON Manuals is launched! Read the announcement.

Light Control Switch Circuit: Wiring Diagram

WARNING: This page is about a different car, the 2006 Lexus RX 400h. However, it is still accessible from the selected car via links, so may be relevant.
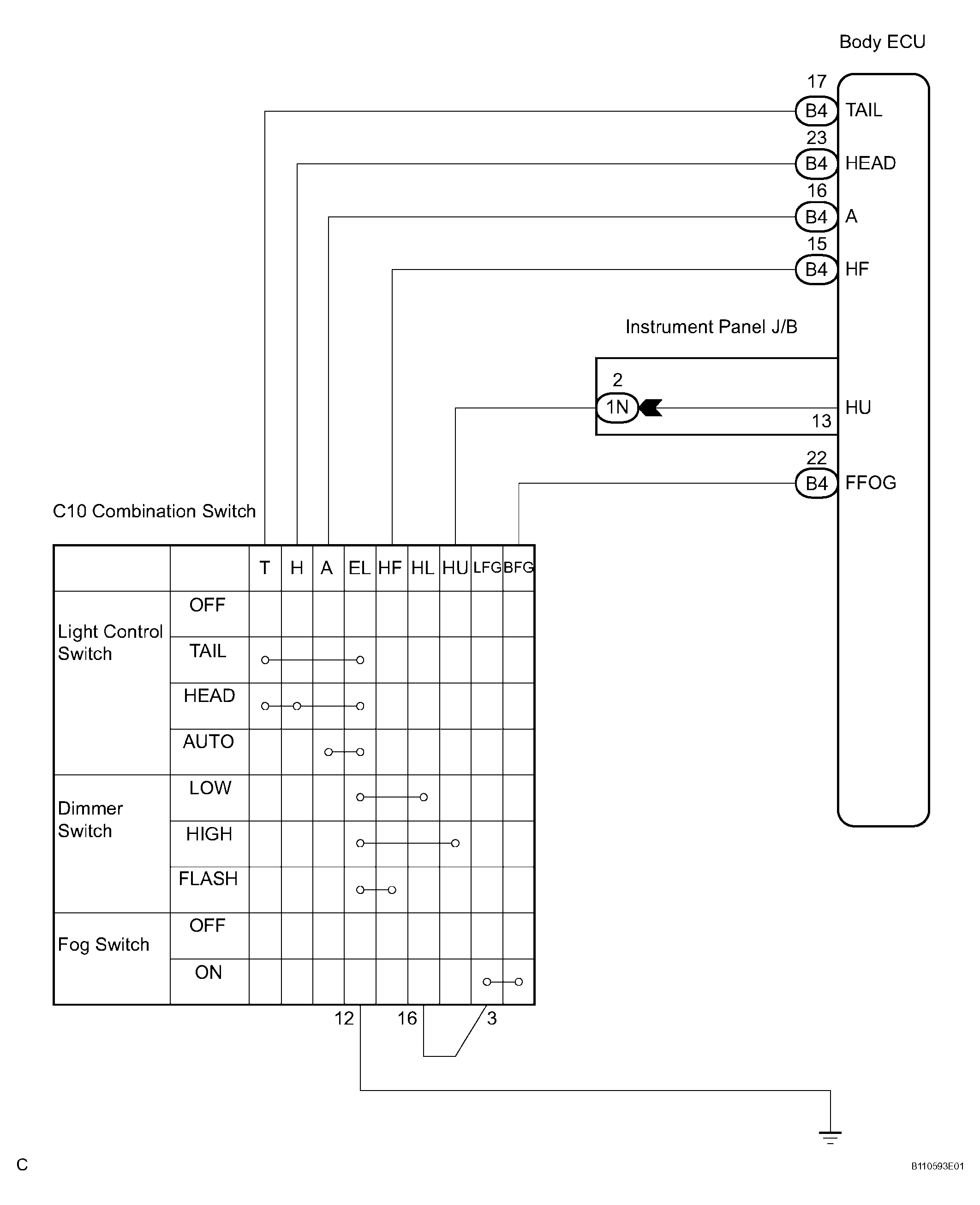
Fig 1: Wiring Diagram - Light Control Switch Circuit
G04115003Courtesy of © TOYOTA, LICENSE AGREEMENT TMS1002
  1. READ VALUE OF INTELLIGENT TESTER 
    1. Connect the intelligent tester to the DLC3.
    2. Turn the ignition switch to the ON position and press the intelligent tester main switch ON.
    3. Select the items below in the DATA LIST, and read the displays on the intelligent tester.

      BODY 

      BODY DATA LIST

      Item Measurement/Display (Range) Normal Condition Diagnostic Note
      DIMMER SW Headlight dimmer SW signal/ON or OFF ON: Headlight dimmer switch is in HI or FLASH position
      OFF: Headlight dimmer switch is in LO position
      -
      HIGH FLASHER SW Headlight dimmer SW signal/ON or OFF ON: Headlight dimmer switch is in FLASH position
      OFF: Headlight dimmer switch is in except FLASH position
      -
      F FOG LIGHT SW Front fog light SW signal/ON or OFF ON: Front fog light switch is in ON position
      OFF: Front fog light switch is OFF position
      -
      AUTO LIGHT SW Auto light SW signal/ON or OFF ON: Headlight dimmer switch is in AUTO position
      OFF: Headlight dimmer switch is in except AUTO position
      -
      HEAD LIGHT SW Head light control SW signal/ON or OFF ON: Light control switch is in HEAD position
      OFF: Light control switch is in except HEAD position
      -
      TAIL LIGHT SW Taillight SW signal/ON or OFF ON: Light control switch is in TAIL or HEAD position
      OFF: Light control switch is in OFF position
      -

    NG : Go to step 2 

    OK : PROCEED TO NEXT CIRCUIT INSPECTION SHOWN IN  PROBLEM SYMPTOMS TABLE  

  2. INSPECT HEADLIGHT DIMMER SWITCH ASSEMBLY 
    1. Inspect the headlight dimmer switch assembly (See INSPECTION  ).

    NG : REPLACE HEADLIGHT DIMMER SWITCH ASSEMBLY 

    OK : GO TO NEXT STEP 

  3. INSPECT INSTRUMENT PANEL JUNCTION BLOCK ASSEMBLY 
    1. Measure the voltage according to the value(s) in the table below.
      Fig 2: Identifying Instrument Panel Junction Block Assembly Connector Terminals
      G04115004Courtesy of © TOYOTA, LICENSE AGREEMENT TMS1002

      Voltage 

      TESTER CONNECTION - SPECIFIED CONDITION (VOLTAGE)

      Tester connection Condition Specified condition
      1N-2 - Body ground Headlight dimmer switch LOW --> HIGH 10 to 14 V --> Below 1 V
      B4-15 - Body ground Headlight dimmer switch LOW --> FLASH 10 to 14 V --> Below 1 V
      B4-16 - Body ground Light control switch OFF --> AUTO 10 to 14 V --> Below 1 V
      B4-17 - Body ground Light control switch OFF --> TAIL 10 to 14 V --> Below 1 V
      B4-22 - Body ground Front fog light switch OFF --> ON 10 to 14 V --> Below 1 V
      B4-23 - Body ground Light control switch OFF --> HEAD 10 to 14 V --> Below 1 V

    NG : REPAIR OR REPLACE HARNESS OR CONNECTOR 

    OK : PROCEED TO NEXT CIRCUIT INSPECTION SHOWN IN  PROBLEM SYMPTOMS TABLE