LEMON Manuals: Even more car manuals for everyone: 1960-2025
Home >> Lexus >> 2007 >> RX 400h AWD >> Repair and Diagnosis >> External Pages >> Different car >> Section 321 (Lighting) >> Lighting System >> Light Control Switch Circuit >> Wiring Diagram
April 5, 2026: LEMON Manuals is launched! Read the announcement.

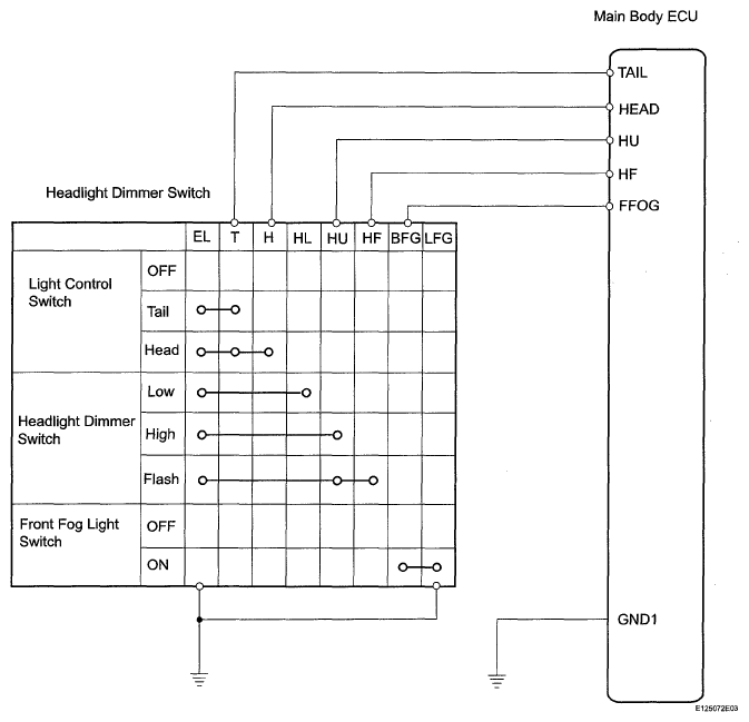
Light Control Switch Circuit: Wiring Diagram

WARNING: This page is about a different car, the 2008 Toyota RAV4. However, it is still accessible from the selected car via links, so may be relevant.
Fig 1: Light Control Switch - Wiring Diagram
G05585941Courtesy of © TOYOTA, LICENSE AGREEMENT TMS1002