LEMON Manuals: Even more car manuals for everyone: 1960-2025
Home >> Lexus >> 2007 >> RX 400h AWD >> Repair and Diagnosis >> External Pages >> Different car >> Section 38 (Audio / Visual) >> Multi-Display Controller >> Removal
April 5, 2026: LEMON Manuals is launched! Read the announcement.

Multi-Display Controller: Removal

WARNING: This page is about a different car, the 2006 Lexus RX 400h. However, it is still accessible from the selected car via links, so may be relevant.
  1. DISCONNECT CABLE FROM NEGATIVE BATTERY TERMINAL 
  2. REMOVE REAR DOOR SCUFF PLATE RH (See  REMOVAL  ) 
  3. REMOVE DECK BOARD SUB-ASSEMBLY (See  REMOVAL  ) 
  4. REMOVE TONNEAU COVER ASSEMBLY 
  5. REMOVE JACK CARRIER SUPPORT 
  6. REMOVE JACK ASSEMBLY 
  7. REMOVE JACK CARRIER ASSEMBLY 
  8. REMOVE DECK FLOOR BOX FRONT (See  REMOVAL  ) 
  9. REMOVE DECK FLOOR BOX REAR (See  REMOVAL  ) 
  10. REMOVE DECK NO.2 BOARD SUB-ASSEMBLY (See  REMOVAL  ) 
  11. REMOVE DECK NO.3 BOARD SUB-ASSEMBLY (See  REMOVAL  ) 
  12. REMOVE BACK DOOR WEATHERSTRIP 
  13. REMOVE DECK SIDE TRIM BOX LH (See  REMOVAL  ) 
  14. REMOVE DECK SIDE TRIM BOX RH 
  15. REMOVE REAR FLOOR FINISH PLATE (See  REMOVAL  ) 
  16. REMOVE REAR FLOOR FINISH SIDE PLATE RH (See  REMOVAL  ) 
  17. REMOVE DECK SIDE TRIM COVER RH (See  REMOVAL  ) 
  18. SEPARATE REAR NO.1 SEAT BELT ASSEMBLY OUTER RH (See  REMOVAL  ) 
  19. REMOVE REAR SEAT SIDE COVER RH (See  REMOVAL  ) 
  20. REMOVE ROPE HOOK (See  REMOVAL  ) 
  21. REMOVE DECK TRIM SIDE PANEL ASSEMBLY RH (See  REMOVAL  ) 
  22. REMOVE NO.2 ROOM LIGHT ASSEMBLY (See  REMOVAL  ) 
  23. REMOVE NO.1 TONNEAU COVER HOLDER CAP 
  24. REMOVE ROOF SIDE GARNISH ASSEMBLY INNER RH (See  REMOVAL  ) 
  25. REMOVE TELEVISION CAMERA ECU (w/ Rear View Monitor) 
  26. REMOVE MULTI-DISPLAY CONTROLLER 
    1. Disconnect the 6 connectors.
    2. Remove the 3 nuts and the multi-display controller.
      Fig 1: Locating Nuts On Multi-Display Controller
      G04115640Courtesy of © TOYOTA, LICENSE AGREEMENT TMS1002
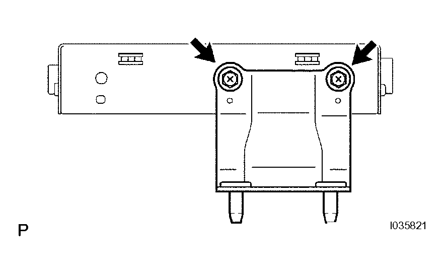
    3. Remove the 2 screws and the television display bracket A.
      Fig 2: Locating Screws On Television Display Bracket A
      G04115641Courtesy of © TOYOTA, LICENSE AGREEMENT TMS1002
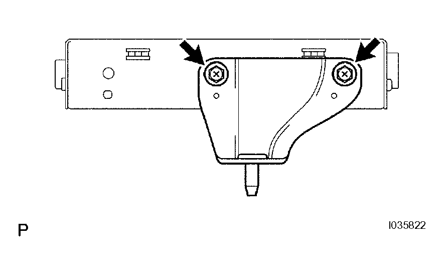
    4. Remove the 2 screws and the television display bracket B.
      Fig 3: Locating Screws And Television Display Bracket B
      G04115642Courtesy of © TOYOTA, LICENSE AGREEMENT TMS1002