LEMON Manuals: Even more car manuals for everyone: 1960-2025
Home >> Lexus >> 2007 >> RX 400h FWD >> Repair and Diagnosis >> External Pages >> Different car >> Section 307 (Brake Control System) >> Vehicle Stability Control System >> System Diagram
April 5, 2026: LEMON Manuals is launched! Read the announcement.

System Diagram

WARNING: This page is about a different car, the 2008 Toyota FJ Cruiser. However, it is still accessible from the selected car via links, so may be relevant.
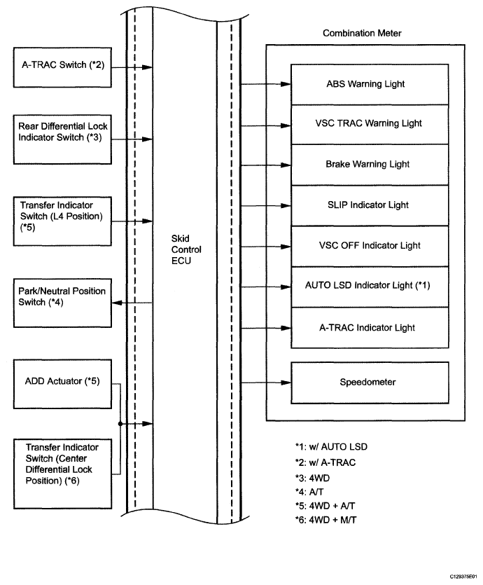
Fig 1: Vehicle Stability Control System Diagram (1 Of 3)
G05112203Courtesy of © TOYOTA, LICENSE AGREEMENT TMS1002
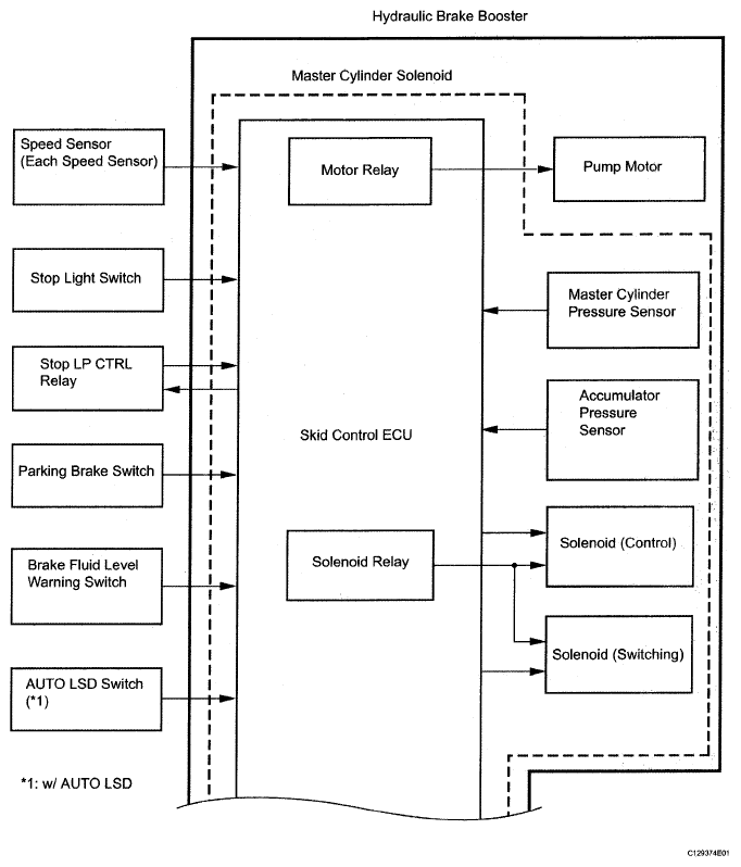
Fig 2: Vehicle Stability Control System Diagram (2 Of 3)
G05112204Courtesy of © TOYOTA, LICENSE AGREEMENT TMS1002
Fig 3: Vehicle Stability Control System Diagram (3 Of 3)
G05579764Courtesy of © TOYOTA, LICENSE AGREEMENT TMS1002
COMMUNICATION METHOD REFERENCE

Transmitting ECU (Transmitter) Receiving ECU Signals Communication Method
ECM Skid control ECU Throttle position signal CAN communication system
ECM Skid control ECU Engine revolution signal CAN communication system
ECM Skid control ECU Accelerator pedal position signal CAN communication system
ECM Skid control ECU Intake temperature signal CAN communication system
Yaw rate and deceleration sensor Skid control ECU Yaw rate and deceleration signal CAN communication system
Steering angle sensor Skid control ECU Steering angle signal CAN communication system
Skid control ECU ECM Throttle opening angle request signal CAN communication system