LEMON Manuals: Even more car manuals for everyone: 1960-2025
Home >> Lexus >> 2007 >> SC 430 >> Repair and Diagnosis (Single Page) >> Engine Performance >> Engine Control System >> SFI System >> Terminals Of ECM
April 5, 2026: LEMON Manuals is launched! Read the announcement.

Terminals Of ECM

Fig 1: Identifying ECM Connector Terminals
G05291265Courtesy of © TOYOTA, LICENSE AGREEMENT TMS1002

HINT:

Each ECM terminal's standard voltage is shown in the table below. In the table, first follow the information under "Condition". Look under "Symbols (Terminal No.)" for the terminals to be inspected. The standard voltage between the terminals is shown under "Specified Condition". Use the illustration above as a reference for the ECM terminals.

ECM TERMINAL REFERENCE CHART

Symbols (Terminal No.) Wiring Color Terminal Description Condition Specified Condition
BATT (E6-4) - E1 (E3-7) B - BR Battery (for measuring battery voltage and for the ECM memory) Always 9 to 14 V
+BM (E2-5) - ME01 (E2-4) Y-B - W-B Power source of throttle motor Always 9 to 14 V
IGSW (E6-17) - E1 (E3-7) G-B - BR Ignition switch Ignition switch ON 9 to 14 V
+B (E6-6) - E1 (E3-7) B - BR Power source of ECM Ignition switch ON 9 to 14 V
+B1 (E6-5) - E1 (E3-7) B-W - BR Power source of ECM Ignition switch ON 9 to 14 V
VC (E2-29) - E2 (E2-28) L-R - BR Power source of sensor (specific voltage) Ignition switch ON 4.5 to 5.5 V
VTA (E2-23) - E2 (E2-28) Y - BR Throttle position sensor (for engine control) Ignition switch ON, accelerator pedal fully released 0.5 to 1.1 V
VTA (E2-23) - E2 (E2-28) Y - BR Throttle position sensor (for engine control) Ignition switch ON, accelerator pedal fully depressed 3.2 to 4.8 V
VTA2 (E2-22) - E2 (E2-28) L-B - BR Throttle position sensor (for sensor malfunction detection) Ignition switch ON, accelerator pedal fully released 2.1 to 3.1 V
VTA2 (E2-22) - E2 (E2-28) L-B - BR Throttle position sensor (for sensor malfunction detection) Ignition switch ON, accelerator pedal fully depressed 4.5 to 5.5 V
VPA (E5-33) - EPA (E5-34) R-Y - BR Accelerator pedal position sensor (for engine control) Ignition switch ON, accelerator pedal fully released 0.5 to 1.1 V
VPA (E5-33) - EPA (E5-34) R-Y - BR Accelerator pedal position sensor (for engine control) Ignition switch ON, accelerator pedal fully depressed 2.6 to 4.5 V
VPA2 (E5-32) - EPA2 (E5-26) B-W - G Accelerator pedal position sensor (for sensor malfunction detection) Ignition switch ON, accelerator pedal fully released 1.2 to 2.0 V
VPA2 (E5-32) - EPA2 (E5-26) B - W-G Accelerator pedal position sensor (for sensor malfunction detection) Ignition switch ON, accelerator pedal fully depressed 3.4 to 5.3 V
VCPA (E5-35) - EPA (E5-34) L-R - BR Power source of accelerator pedal position sensor (for VPA) Ignition switch ON 4.5 to 5.5 V
VCP2 (E5-27) - EPA2 (E5-26) G - W-G Power source of accelerator pedal position sensor (for VPA2) Ignition switch ON 4.5 to 5.5 V
VG (E4-27) - E2G (E4-26) B-R - B-W MAF meter Idling, shift position P or N, A/C switch off 0.5 to 3.0 V
THA (E4-25) - E2 (E2-28) B-L - BR IAT sensor Idling, IAT: 0 to 80°C (32 to 176°F) after warm-up 0.5 to 3.4 V
THW (E4-20) - E2 (E2-28) R-L - BR ECT sensor Idling, ECT: 60 to 100°C (140 to 212°F) after warm-up 0.2 to 1.0 V
STA (E6-12) - E1 (E3-7) W-L - BR Starter signal Cranking (shift position P or N position and ignition switch start) 6 V or more
#1 (E2-15) - E01 (E4-2) L - W-B Injector Idling Pulse generation (see  1 waveform 1)
#2 (E4-17) - E01 (E4-2) W - W-B
#3 (E2-14) - E01 (E4-2) G-Y - W-B
#4 (E4-16) - E01 (E4-2) G - W-B
#5 (E2-13) - E01 (E4-2) G - W-B
#6 (E4-15) - E01 (E4-2) BR - W-B
#7 (E2-12) - E01 (E4-2) BR - W-B
#8 (E4-14) - E01 (E4-2) Y-B - W-B
#1 (E2-15) - E01 (E4-2) L - W-B Injector Ignition switch ON 9 to 14 V
#2 (E4-17) - E01 (E4-2) W - W-B
#3 (E2-14) - E01 (E4-2) G-Y - W-B
#4 (E4-16) - E01 (E4-2) G - W-B
#5 (E2-13) - E01 (E4-2) G - W-B
#6 (E4-15) - E01 (E4-2) BR - W-B
#7 (E2-12) - E01 (E4-2) BR - W-B
#8 (E4-14) - E01 (E4-2) Y-B - W-B
IGT1 (E2-17) - E1 (E3-7) G-W - BR Ignition coil and igniter (ignition signal) Idling Pulse generation (see  2 waveform 2)
IGT2 (E4-13) - E1 (E3-7) L-R - BR
IGT3 (E2-16) - E1 (E3-7) L-Y - BR
IGT4 (E4-12) - E1 (E3-7) LG - BR
IGT5 (E2-27) - E1 (E3-7) R - BR
IGT6 (E4-11) - E1 (E3-7) R-L - BR
IGT7 (E2-26) - E1 (E3-7) P-L - BR
IGT8 (E4-10) - E1 (E3-7) B-W - BR
IGF1 (E4-7) - E1 (E3-7) LG - BR Ignition coil and igniter (ignition confirmation signal) Idling Pulse generation (see  2 waveform 2)
IGF2 (E4-6) - E1 (E3-7) G-B - BR
IGF1 (E4-7) - E1 (E3-7) LG - BR Ignition coil and igniter (ignition confirmation signal) Ignition switch ON 4.5 to 5.5 V
IGF2 (E4-6) - E1 (E3-7) G-B - BR
G2 (E2-21) - G2- (E2-20) L - Y Camshaft position sensor Idling Pulse generation (see  3 waveform 3)
NE+ (E2-32) - NE- (E2-31) B - W Crankshaft position sensor Idling Pulse generation (see  3 waveform 3 and  88)
MREL (E6-13) - E1 (E3-7) G-O - BR EFI relay Ignition switch ON 9 to 14 V
MREL (E6-13) - E1 (E3-7) G-O - BR EFI relay Ignition switch OFF (for 3 seconds or more) Below 1.5 V
FPR (E6-15) - E01 (E4-2) LG - W-B Fuel pump relay Ignition switch ON Below 3 V
FPR (E6-15) - E01 (E4-2) LG - W-B Fuel pump relay Cranking 6 to 14 V
FC (E6-14) - E01 (E4-2) O - W-B Fuel pump control Ignition switch ON 9 to 14 V
FC (E6-14) - E01 (E4-2) O - W-B Fuel pump control Idling after engine warm-up Below 3 V
STP (E5-4) - E1 (E3-7) G-R - BR Stop light switch Brake pedal is depressed 7.5 to 14 V
STP (E5-4) - E1 (E3-7) G-R - BR Stop light switch Brake pedal is released Below 1.5 V
ST1- (E6-8) - E1 (E3-7) Y-G - BR Stop light switch (opposite to STP terminal) Ignition switch ON, brake pedal is released Ignition switch ON Brake pedal is depressed Below 1.5 V
ST1- (E6-8) - E1 (E3-7) Y-G - BR Stop light switch (opposite to STP terminal) Ignition switch ON, brake pedal is released 7.5 to 14 V
PRG (E2-11) - E01 (E4-2) G-B - W-B Purge VSV Ignition switch ON and engine stopped 9 to 14 V
PRG (E2-11) - E01 (E4-2) G-B - W-B Purge VSV Idling after engine warm-up Pulse generation (see  4 waveform 4)
OX1A (E2-30) - O1A- (E2-25) B - BR Heated oxygen sensor (bank 1 sensor 1) Idling 0.1 to 0.9 V Pulse generation (see  5 waveform 5)
OX2A (E4-28) - O2A- (E4-21) W - BR Heated oxygen sensor (bank 2 sensor 1) Idling 0.1 to 0.9 V Pulse generation (see  5 waveform 5)
OX1B (E5-28) - O1B- (E5-29) B - BR-W Heated oxygen sensor (bank 1 sensor 2) Idling 0.1 to 0.9 V Pulse generation (see  6 waveform 6)
OX2B (E5-17) - O2B- (E5-18) W - BR Heated oxygen sensor (bank 2 sensor 2) Idling 0.1 to 0.9 V Pulse generation (see  6 waveform 6)
HT1A (E2-24) - E03 (E2-6) L-Y - W-B Heated oxygen sensor heater Idling Below 3.0 V
HT1B (E5-2) - E03 (E2-6) GR-L - W-B
HT2A (E4-5) - E03 (E2-6) G-Y - W-B
HT2B (E5-1) - E03 (E2-6) GR - W-B
HT1A (E2-24) - E03 (E2-6) L-Y - W-B Heated oxygen sensor heater Ignition switch ON 9 to 14 V
HT1B (E5-2) - E03 (E2-6) GR-L - W-B
HT2A (E4-5) - E03 (E2-6) G-Y - W-B
HT2B (E5-1) - E03 (E2-6) GR - W-B
KNK1 (E3-28) - EKNK (E3-30) W - B Knock sensor (bank 1) Maintain engine RPM at 4,000 rpm after engine warmed-up Pulse generation (see  7 waveform 7)
KNK2 (E3-29) - EKN2 (E3-31) R - G Knock sensor (bank 2) Maintain engine RPM at 4,000 rpm after engine warmed-up Pulse generation (see  7 waveform 7)
TC (E5-3) - E1 (E3-7) P-B - BR Terminal TC of DLC3 Ignition switch ON 9 to 14 V
W (E5-8) - E1 (E3-7) R-B - BR MIL Idling 9 to 14 V
W (E5-8) - E1 (E3-7) R-B - BR MIL Ignition switch ON Below 3.0 V
VV1+ (E2-19) - VV1- (E2-18) R - G Variable Valve Timing (VVT) sensor (bank 1) Idling Pulse generation (see  8 waveform 8)
VV2+ (E4-19) - VV2- (E4-18) Y - L VVT sensor (bank 2) Idling Pulse generation (see  8 waveform 8)
OC1+ (E2-34) - OC1- (E2-33) L-Y - G-W Camshaft timing control valve (OCV) (bank 1) Accelerate slowly after engine warmed-up Pulse generation (see  9 waveform 9)
OC2+ (E4-9) - OC2- (E4-8) L-W - L-B OCV (bank 2) Accelerate slowly after engine warmed-up Pulse generation (see  9 waveform 9)
TACH (E5-16) - E1 (E3-7) B-Y - BR Engine speed Idling Pulse generation (see  10 waveform 10)
ACIS (E4-3) - E01 (E4-2) L-W - W-B Vacuum switching valve (for ACIS) Ignition switch ON 9 to 14 V
ACIS (E4-3) - E01 (E4-2) L-W - W-B Vacuum switching valve (for ACIS) Engine RPM: 2,500 to 4,000 rpm and throttle opening angle: 40% or more Below 3.0 V
M+ (E2-2) - ME01 (E2-4) B - W-B Throttle actuator Idling Pulse generation (see  11 waveform 11)
M- (E2-1) - ME01 (E2-4) W - W-B Throttle actuator Idling Pulse generation (see  12 waveform 12)
SPD (E6-22) - E1 (E3-7) W-R - BR Speed signal from combination meter Ignition switch ON, rotate driving wheel slowly Pulse generation (see  13 waveform 13)
RFC (E6-10) - E1 (E3-7) Y - BR Cooling fan ECU Ignition switch ON 0 to 3 V
E1 (E3-7) - Body ground BR - N/A Ground Always Below 1 Ω
VPMP (E5-12) - E1 (E3-7) O - BR Vent valve (built into pump module) Ignition switch ON 9 to 14 V
MPMP (E5-5) - E1 (E3-7) G-Y - BR Vacuum pump (built into pump module) Vacuum pump off 0 to 3V
MPMP (E5-5) - E1 (E3-7) G-Y - BR Vacuum pump (built into pump module) Vacuum pump on 9 to 14 V
PPMP (E5-25) - E1 (E3-7) BR-W - BR Pressure sensor (built into pump module) Ignition switch ON 3 to 3.6 V
CANH (E6-25) - E1 (E3-7) R - BR CAN communication line Ignition switch ON Pulse generation (see  14 waveform 14)
CANL (E6-24) - E1 (E3-7) W - BR CAN communication line Ignition switch ON Pulse generation (see  15 waveform 15)
  1. WAVEFORM 1 

    Fuel injector

    WAVEFORM REFERENCE CHART

    Item Content
    Symbols (Terminal No.) #1 (E2-15) - E01 (E4-2)
    #2 (E4-17) - E01 (E4-2)
    #3 (E2-14) - E01 (E4-2)
    #4 (E4-16) - E01 (E4-2)
    #5 (E2-13) - E01 (E4-2)
    #6 (E4-15) - E01 (E4-2)
    #7 (E2-12) - E01 (E4-2)
    #8 (E4-14) - E01 (E4-2)
    Tool Setting 20 V/DIV, 20 msec./DIV.
    Condition Idling

    HINT:

    The wavelength becomes shorter as engine rpm increases.

    Fig 2: Identifying Waveform 1 (Fuel Injector)
    G05291266Courtesy of © TOYOTA, LICENSE AGREEMENT TMS1002
  2. WAVEFORM 2 
    1. Igniter IGT signal (from ECM to igniter)
    2. Igniter IGF signal (from igniter to ECM)
      WAVEFORM REFERENCE CHART

      Item Content
      Symbols (Terminal No.) (a) IGT1 (E2-17) - E1 (E3-7)
      (a) IGT2 (E4-13) - E1 (E3-7)
      (a) IGT3 (E2-16) - E1 (E3-7)
      (a) IGT4 (E4-12) - E1 (E3-7)
      (a) IGT5 (E2-27) - E1 (E3-7)
      (a) IGT6 (E4-11) - E1 (E3-7)
      (a) IGT7 (E2-26) - E1 (E3-7)
      (a) IGT8 (E4-10) - E1 (E3-7)
      (b) IGF1 (E4-7) - E1 (E3-7)
      (b) IGF2 (E4-6) - E1 (E3-7)
      Tool Setting 2 V/DIV., 20 msec./DIV.
      Condition Idling
      Fig 3: Identifying Waveform 2 (Igniter IGT Signal)
      G05291267Courtesy of © TOYOTA, LICENSE AGREEMENT TMS1002

      HINT:

      The wavelength becomes shorter as engine rpm increases.

  3. WAVEFORM 3 
    1. Camshaft position sensor
    2. Crankshaft position sensor
      WAVEFORM REFERENCE CHART

      Item Content
      Symbols (Terminal No.) (a) G2 (E2-21) - G2- (E2-20)
      (b) NE+ (E2-32) - NE- (E2-31)
      Tool Setting 5V/DIV., 20msec./DIV.
      Condition Idle after engine warmed-up

      HINT:

      The wavelength becomes shorter as engine rpm increases.

      Fig 4: Identifying Waveform 3 Camshaft Position Sensor
      G05291268Courtesy of © TOYOTA, LICENSE AGREEMENT TMS1002
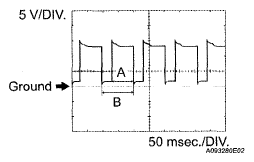
  4. WAVEFORM 4 

    Purge VSV

    WAVEFORM REFERENCE CHART

    Item Content
    Symbols (Terminal No.) PRG (E2-11) - E01 (E4-2)
    Tool Setting 5 V/DIV, 150 msec./DIV.
    Condition Accelerated slowly after engine warmed-up

    HINT:

    In cases where the purge VSV can be used to purge the EVAP, the waveform will not be displayed as shown in the illustration. In the DATA LIST, the item EVAP PURGE VSV shows the duty ratio of voltage flowing to the purge valve.

    Duty ratio for purge VSV (%) = A/B x 100

    Fig 5: Identifying Waveform 4 VSV (For EVAP)
    G05291269Courtesy of © TOYOTA, LICENSE AGREEMENT TMS1002
  5. WAVEFORM 5 

    Heated oxygen sensor (sensor 1)

    WAVEFORM REFERENCE CHART

    Item Content
    Symbols (Terminal No.) OX1A (E2-30) - O1A- (E2-25)
    OX2A (E4-28) - O2A- (E4-21)
    Tool Setting 0.2 V/DIV., 200 msec./DIV.
    Condition Maintain engine speed at 2,500 rpm after engine warmed up

    HINT:

    In the DATA LIST, the items heated oxygen sensor B1 S1 and heated oxygen sensor B2 S1 show the ECM input values of the heated oxygen sensor (sensor 1).

    Fig 6: Identifying Waveform 5 Heated Oxygen Sensor
    G05291270Courtesy of © TOYOTA, LICENSE AGREEMENT TMS1002
  6. WAVEFORM 6 

    Heated oxygen sensor (sensor 2)

    WAVEFORM REFERENCE CHART

    Item Content
    Symbols (Terminal No.) OX1B (E5-28) - O1B- (E5-29)
    OX2B (E5-17) - O2B- (E5-18)
    Tool Setting 0.2 V/DIV., 200 msec./DIV.
    Condition Maintain engine speed at 2,500 rpm after engine warmed up

    HINT:

    In the DATA LIST, the items heated oxygen sensor B1 S2 and heated oxygen sensor B2 S2 show the ECM input values of the heated oxygen sensor (sensor 2).

    Fig 7: Identifying Waveform 6 (Heated Oxygen Sensor)
    G05291271Courtesy of © TOYOTA, LICENSE AGREEMENT TMS1002
  7. WAVEFORM 7 

    Knock sensor

    WAVEFORM REFERENCE CHART

    Item Content
    Symbols (Terminal No.) KNK1 (E3-28) - EKNK (E3-30)
    KNK2 (E3-29) - EKN2 (E3-31)
    Tool Setting 1 V/DIV., 1 msec./DIV.
    Condition Maintain engine speed at 2,000 rpm after engine warmed-up

    HINT:

    • The wavelength becomes shorter as engine rpm increases.
    • The waveforms and amplitude displayed differ slightly depending on the vehicle.
      Fig 8: Identifying Waveform 7 Knock Sensor
      G05291272Courtesy of © TOYOTA, LICENSE AGREEMENT TMS1002
  8. WAVEFORM 8 
    1. VVT sensor bank 1
    2. VVT sensor bank 2
    3. Crankshaft position sensor
      WAVEFORM REFERENCE CHART

      Item Content
      Symbols (Terminal No.)
      1. VV1+ (E2-19) - VV1- (E2-18)
      2. VV2+ (E4-19) - VV2- (E4-18)
      3. NE+ (E2-32) - NE- (E2-31)
      Tool Setting 2 V/DIV., 20 msec./DIV.
      Condition Idle after engine warmed-up
      Fig 9: Identifying Waveform 8 (VVT Sensor Bank)
      G05291273Courtesy of © TOYOTA, LICENSE AGREEMENT TMS1002

      HINT:

      The wavelength becomes shorter as engine rpm increases.

  9. WAVEFORM 9 

    VVT OCV

    WAVEFORM REFERENCE CHART

    Item Content
    Symbols (Terminal No.) OC1+ (E2-34) - OC1- (E2-33)
    OC2+ (E4-9) - OC2- (E4-8)
    Tool Setting 5 V/DIV., 200 msec./DIV.
    Condition Accelerated slowly after engine warmed-up

    HINT:

    In the DATA LIST, the items VVT OCV DUTY B1 and B2 show the duty ratio of voltage flowing to the OCV (see the illustration).

    VVT OCV DUTY B1, B2 = A/B x 100 (%)

    Fig 10: Identifying Waveform 9 VVT OCV
    G05291274Courtesy of © TOYOTA, LICENSE AGREEMENT TMS1002
  10. WAVEFORM 10 

    Engine speed signal

    WAVEFORM REFERENCE CHART

    Item Content
    Symbols (Terminal No.) TACH (E5-16) - E1 (E3-7)
    Tool Setting 5 V/DIV, 10 msec./DIV.
    Condition Idling

    HINT:

    The wavelength becomes shorter as the engine rpm increases.

    Fig 11: Identifying Waveform 10 (Engine Speed Signal)
    G05291275Courtesy of © TOYOTA, LICENSE AGREEMENT TMS1002
  11. WAVEFORM 11 

    Throttle actuator positive terminal

    WAVEFORM REFERENCE CHART

    Item Content
    Symbols (Terminal No.) M+ (E2-2) - ME01 (E2-4)
    Tool Setting 5 V/DIV, 1 msec./DIV.
    Condition Idle after engine warmed-up

    HINT:

    The duty ratio varies depending on the throttle opening operation.

    Fig 12: Identifying Waveform 11 (Throttle Actuator Positive Terminal)
    G05291276Courtesy of © TOYOTA, LICENSE AGREEMENT TMS1002
  12. WAVEFORM 12 

    Throttle actuator negative terminal

    WAVEFORM REFERENCE CHART

    Item Content
    Symbols (Terminal No.) M- (E2-1) - ME01 (E2-4)
    Tool Setting 5 V/DIV, 1 msec./DIV.
    Condition Idle after engine warmed-up

    HINT:

    The duty ratio varies depending on the throttle opening operation.

    Fig 13: Identifying Waveform 12 (Throttle Actuator Negative Terminal)
    G05291277Courtesy of © TOYOTA, LICENSE AGREEMENT TMS1002
  13. WAVEFORM 13 

    Vehicle speed signal

    WAVEFORM REFERENCE CHART

    Item Content
    Symbols (Terminal No.) SPD (E6-22) - E1 (E3-7)
    Tool Setting 2 V/DIV., 20 msec./DIV.
    Condition Driving at 20 km/h (12 mph)

    HINT:

    The wavelength becomes shorter as vehicle speed increases.

    Fig 14: Identifying Waveform 13 (Vehicle Speed Signal)
    G05291278Courtesy of © TOYOTA, LICENSE AGREEMENT TMS1002
  14. WAVEFORM 14 

    CAN communication signal

    WAVEFORM REFERENCE CHART

    Item Content
    Symbols (Terminal No.) CANH (E6-25) - E1 (E3-7)
    Tool Setting 1 V/DIV., 10 μsec/DIV.
    Condition Stop engine and ignition switch ON

    HINT:

    The waveform varies depending on the CAN communication signal.

    Fig 15: Identifying Waveform 14 (CAN Communication Signal)
    G05291279Courtesy of © TOYOTA, LICENSE AGREEMENT TMS1002
  15. WAVEFORM 15 

    CAN communication signal

    WAVEFORM REFERENCE CHART

    Item Content
    Symbols (Terminal No.) CANL (E6-24) - E1 (E3-7)
    Tool Setting 1 V/DIV., 10 μsec./DIV.
    Condition Stop engine and ignition switch ON

    HINT:

    The waveform varies depending on the CAN communication signal.

    Fig 16: Identifying Waveform 15 (CAN Communication Signal)
    G05291280Courtesy of © TOYOTA, LICENSE AGREEMENT TMS1002