LEMON Manuals: Even more car manuals for everyone: 1960-2025
Home >> Lexus >> 2007 >> SC 430 >> Repair and Diagnosis >> Body & Frame >> Windows >> Windshield/WINDOWGLASS >> Power Window Control System >> DTC B1223 Power Window Switch Circuit on Passenger Door >> Inspection Procedure
April 5, 2026: LEMON Manuals is launched! Read the announcement.

Inspection Procedure

  1. INSPECT POWER WINDOW REGULATOR SWITCH ASSEMBLY 
    1. Remove the switch.
    2. Measure the resistance of the switch when the switch is operated.
      Fig 1: Identifying Power Window Regulator Switch Assembly Connector Terminals
      G05293426Courtesy of © TOYOTA, LICENSE AGREEMENT TMS1002

      Standard resistance 

      TESTER CONNECTION SPECIFIED CONDITION

      Tester Connection Switch Condition Specified Condition
      3 (A) - 8 (PCT) AUTO UP Below 1 Ω
      1 (U) - 8 (PCT) Below 1 Ω
      1 (U) - 8 (PCT) UP Below 1 Ω
      - OFF -
      6 (D) - 8 (PCT) DOWN Below 1 Ω
      3 (A) - 8 (PCT) AUTO DOWN Below 1 Ω
      6 (D) - 8 (PCT) Below 1 Ω

    NG: REPLACE POWER WINDOW REGULATOR SWITCH ASSEMBLY 

    OK: Go to Next Step 

  2. CHECK WIRE HARNESS (POWER WINDOW SWITCH - DOOR ECU FRONT RH) 
    1. Disconnect the P13 switch connector.
    2. Disconnect the P9 ECU connector.
      Fig 2: Identifying P13 And P9 Connector Terminals
      G05293427Courtesy of © TOYOTA, LICENSE AGREEMENT TMS1002
    3. Measure the resistance of the wire harness side connectors.

      Standard resistance 

      TESTER CONNECTION SPECIFIED CONDITION

      Tester Connection Specified Condition
      P13-1 (U) - P9-23 (MUP) Below 1 Ω
      P13-3 (A) - P9-2 (AUTO) Below 1 Ω
      P13-4 (E) - P9-29 (PWE) Below 1 Ω
      P13-6 (D) - P9-25 (MDN) Below 1 Ω
      P13-8 (PCT) - P9-20 (WLS1) Below 1 Ω
      P13-1 (U) or P9-23 (MUP) - Body ground 10 kΩ or higher
      P13-3 (A) or P9-2 (AUTO) - Body ground 10 kΩ or higher
      P13-4 (E) or P9-29 (PWE) - Body ground 10 kΩ or higher
      P13-6 (D) or P9-25 (MDN) - Body ground 10 kΩ or higher
      P13-8 (PCT) or P9-20 (WLS1) - Body ground 10 kΩ or higher

    NG: REPAIR OR REPLACE HARNESS AND CONNECTOR 

    OK: Go to Next Step 

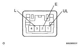
  3. INSPECT DOOR CONTROL SWITCH ASSEMBLY 
    1. Remove the switch.
    2. Measure the resistance of the switch when the switch is operated.
      Fig 3: Identifying Door Control Switch Assembly Connector Terminals
      G05293428Courtesy of © TOYOTA, LICENSE AGREEMENT TMS1002

      Standard resistance 

      TESTER CONNECTION SPECIFIED CONDITION

      Tester Connection Switch Condition Specified Condition
      2 (E) - 3 (L) LOCK Below 1 Ω
      - OFF -
      1 (UL) - 2 (E) UNLOCK Below 1 Ω

    NG: REPLACE DOOR CONTROL SWITCH ASSEMBLY 

    OK: Go to Next Step 

  4. CHECK WIRE HARNESS (DOOR CONTROL SWITCH - DOOR ECU FRONT RH) 
    1. Disconnect the D10 switch connector.
    2. Disconnect the P9 ECU connector.
      Fig 4: Identifying D10 And P9 Connector Terminals
      G05293429Courtesy of © TOYOTA, LICENSE AGREEMENT TMS1002
    3. Measure the resistance of the wire harness side connectors.

      Standard resistance 

      TESTER CONNECTION SPECIFIED CONDITION

      Tester Connection Specified Condition
      D10-1 (UL) - P9-19 (MUL) Below 1 Ω
      D10-2 (E) - P9-28 (DLE) Below 1 Ω
      D10-3 (L) - P9-8 (ML) Below 1 Ω
      D10-4 (ILL+) - P9-21 (PWS) Below 1 Ω
      D10-1 (UL) or P9-19 (MUL) - Body ground 10 kΩ or higher
      D10-2 (E) or P9-28 (DLE) - Body ground 10 kΩ or higher
      D10-3 (L) or P9-8 (ML) - Body ground 10 kΩ or higher
      D10-4 (ILL+) or P9-21 (PWS) - Body ground 10 kΩ or higher

    NG: REPAIR OR REPLACE HARNESS AND CONNECTOR 

    OK: REPLACE MULTIPLEX NETWORK DOOR ECU FRONT RH