LEMON Manuals: Even more car manuals for everyone: 1960-2025
Home >> Lexus >> 2007 >> SC 430 >> Repair and Diagnosis >> Brakes >> Traction Control >> Brake Control >> Vehicle Stability Control System >> DTC C1246/46 Master Cylinder Pressure Sensor Malfunction >> Inspection Procedure
April 5, 2026: LEMON Manuals is launched! Read the announcement.

Inspection Procedure

  1. READ VALUE OF INTELLIGENT TESTER (MASTER CYLINDER PRESSURE SENSOR) 
    1. Check the DATA LIST for proper functioning of the brake actuator (master cylinder pressure sensor).

      Skid control ECU 

      DIAGNOSTIC NOTE CHART

      Item Measurement Item / Range (Display) Normal Condition Diagnostic Note
      MAS CYL PRS 1 Master cylinder pressure sensor 1 reading / Min.: 0 V, Max.: 5 V Brake pedal is released: 0.3 to 0.9 V Reading increases when brake pedal is depressed
      MAS CYL PRS 2 Master cylinder pressure sensor 2 reading / Min.: 0 V, Max.: 5 V Brake pedal is released: 0.3 to 0.9 V Reading increases when brake pedal is depressed

      OK: Brake fluid pressure value must be changing. 

    OK: Go to step  3

    NG: Go to Next Step 

  2. CHECK WIRE HARNESS (SKID CONTROL ECU - BRAKE ACTUATOR) 
    Fig 1: Checking Wire Harness (Skid Control ECU - Brake Actuator)
    G05290654Courtesy of © TOYOTA, LICENSE AGREEMENT TMS1002
    1. Disconnect the S8 ECU connector.
    2. Disconnect the M2 master cylinder connector.
    3. Measure the resistance of the wire harness side connectors.

      Standard resistance 

      TESTER CONNECTION SPECIFIED CONDITION CHART

      Tester Connection Specified Condition
      S8-10 (VCM) - M2-1 (VCM) Below 1 Ω
      S8-22 (PMC) - M2-2 (PMC) Below 1 Ω
      S8-23 (E2) - M2-3 (E2) Below 1 Ω

    NG: REPAIR OR REPLACE HARNESS AND CONNECTOR 

    OK: Go to Next Step 

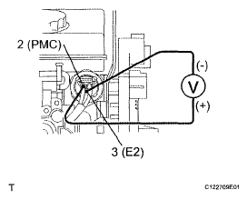
  3. CHECK BRAKE ACTUATOR (MASTER CYLINDER PRESSURE SENSOR) 
    1. Install SST (LSPV gauge) to the front caliper bleeder plug portion, and bleed LSPV gauge.

      SST 09709-29018 

    2. Remove the brake actuator cover.
    3. Start the engine and depress the brake pedal. Then check the voltage of terminals 2 (PMC) and 3 (E2) of the master cylinder pressure sensor when the fluid pressure is in the following conditions with the connector still connected.

      Standard voltage 

      SPECIFIED CONDITION CHART

      Front Brake Caliper Fluid Pressure Specified Condition
      0 kPa (0 kgf/cm2 , 0 psi) 0.37 to 0.63 V
      5,883 kPa (60 kgf/cm2 , 853 psi) 1.57 to 1.83 V
      11,768 kPa (120 kgf/cm2 , 1,706 psi) 2.77 to 3.03 V

      HINT:

      Voltage of between terminals VCM and E2: 4.7 to 5.3 V

      Fig 2: Checking Brake Actuator (Master Cylinder Pressure Sensor)
      G05290655Courtesy of © TOYOTA, LICENSE AGREEMENT TMS1002

    NG: REPLACE MASTER CYLINDER PRESSURE SENSOR 

    OK: REPLACE SKID CONTROL ECU