LEMON Manuals: Even more car manuals for everyone: 1960-2025
Home >> Lexus >> 2007 >> SC 430 >> Repair and Diagnosis >> Electrical >> Body Electrical >> Other System >> Power Outlet Socket >> Installation
April 5, 2026: LEMON Manuals is launched! Read the announcement.

Power Outlet Socket: Installation

  1. INSTALL POWER OUTLET SOCKET ASSEMBLY 
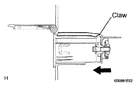
    1. Align the claw of the socket with the cutout of the cover and fully push it in to install.
  2. INSTALL POWER OUTLET SOCKET COVER 
    1. Install the cover to the console box.
      Fig 1: Installing Power Outlet Socket Assembly
      G05293407Courtesy of © TOYOTA, LICENSE AGREEMENT TMS1002
  3. INSTALL UPPER CONSOLE PANEL SUB-ASSEMBLY (See  INSTALLATION  ) 
  4. INSTALL REAR CONSOLE UPPER PANEL GARNISH (See  INSTALLATION  ) 
  5. CONNECT CABLE TO NEGATIVE BATTERY TERMINAL 
  6. PERFORM INITIALIZATION 
    1. Perform initialization (see INITIALIZATION ).
      NOTE: Certain systems need to be initialized after disconnecting and reconnecting the cable from the negative (-) battery terminal.